当前浏览器版本过低,建议升级到Internet Explorer 9及以上版本或者安装Chrome内核浏览器获得最佳浏览体验。查看详情
更换或升级浏览器以获得最佳体验。
当前浏览器版本过低,可能会有安全风险且无法正常显示。建议您升级或使用其他浏览器。
若您当前使用的浏览器为QQ浏览器或者360浏览器仍出现该提示,请切换至极速模式。
重庆市水利局关于印发《重庆市水行政主管部门政务服务事项办事指南(2025版)》的通知
各区县(自治县)、两江新区、西部科学城重庆高新区、万盛经开区水行政主管部门,局机关各处室、直属各单位:
为深入贯彻落实水利部和市委、市政府关于政务服务标准化规范化相关要求,切实提高政务服务质量和效率,我局修订了《重庆市水行政主管部门政务服务事项办事指南(2025版)》(以下简称“2025版办事指南”),现将该指南印发给你们,请认真贯彻落实。
为规范区县(自治县)水行政主管部门政务服务事项办理,2025版办事指南同时适用于市水利局本级和区县(自治县)水行政主管部门,共包含34个依申请类政务服务事项(市级权限7项,区县级权限4项,市、区县两级权限23项),区县(自治县)水行政主管部门不需另外制定办事指南。
《重庆市水利局关于印发〈重庆市水利局政务服务事项办事指南(2023版)〉的通知》(渝水规范〔2023〕5号)同时废止。
重庆市水利局
2025年9月17日
(此件主动公开发布)
(联系人:黄兴媛、张翔宇;联系电话:89070093、88707092)
重庆市水行政主管部门政务服务事项办事指南
(2025版)
2025年9月
一、适用范围
适用于重庆市水行政主管部门审批权限范围内生产建设项目水土保持方案审批的申请和办理。
二、事项审查类型
(一)先审后批(水土保持方案报告书)。
(二)先核后批(水土保持方案报告表),实行告知承诺制。
(三)先核后备(水土保持方案登记表)。
三、审批依据
(一)《中华人民共和国水土保持法》(第七届全国人民代表大会常务委员会第二十次会议通过,中华人民共和国主席令第四十九号公布,第十一届全国人民代表大会常务委员会第十八次会议修订,中华人民共和国主席令第三十九号)第二十五条、第二十六条。
(二)《生产建设项目水土保持方案管理办法》(水利部令第53号)。
(三)《重庆市实施〈中华人民共和国水土保持法〉办法》(重庆市人民代表大会常务委员会公告〔五届〕第13号)第二十一条、第二十二条、第二十三条、第二十四条。
(四)《水利部关于进一步加强深化“放管服”改革全面加强水土保持监管的意见》(水保〔2019〕160号)第二项。
(五)《水利部办公厅关于进一步优化开发区内生产建设项目水土保持管理工作的意见》(办水保〔2020〕235号)。
(六)《重庆市水利局关于精简优化水土保持方案行政审批和公共服务工作的通知》(渝水〔2019〕158号)。
四、受理机构
重庆市水行政主管部门。
五、决定机构
重庆市水行政主管部门。
六、数量限制
无数量限制。
七、申请条件
(一)申请人条件
1.审批对象:生产建设单位。
2.审批方式
(1)水土保持方案报告书:征占地面积在5公顷及以上或者挖填土石方总量在5万立方米及以上的生产建设项目。
(2)水土保持方案报告表:征占地面积在0.5公顷及以上5公顷以下或者挖填土石方总量在1千立方米及以上5万立方米以下的生产建设项目。
(3)水土保持方案登记表:区域水土保持方案审批后,园区内的单个生产建设项目。
3.市级审批范围
(1)水土保持方案报告书
①市级审批(核准、备案)且征占地面积在20公顷及以上的生产建设项目;
②跨区县(自治县)的生产建设项目;
③市水利局审批的生产建设项目水土保持方案变更;
④市级及以上批准设立的开发区、高新区、产业园区等园区区域水土保持方案报告书。
(2)水土保持方案报告表
跨区县(自治县)的生产建设项目。
4.区县(自治县)审批(办理)范围
(1)水土保持方案报告书
①区县(自治县)审批(核准、备案)的生产建设项目;
②市级审批(核准、备案)且征占地面积不足20公顷的生产建设项目;
③区县(自治县)水行政主管部门审批的生产建设项目水土保持方案变更;
④区县级批准设立的开发区、高新区、产业园区等园区区域水土保持方案报告书;
⑤万州区境内市级审批(核准、备案)且征占地面积不足50公顷或挖填土石方总量不足50万立方米的项目由万州区审批;
⑥重庆两江新区在直管区域内、重庆经开区在直接管理范围内、西部科学城重庆高新区在管理范围内具有市级审批权限〔不含跨区县(自治县)的生产建设项目〕。
(2)水土保持方案报告表
区县(自治县)审批(核准、备案)的生产建设项目。
(3)水土保持方案登记表
区域水土保持方案审批后,园区内的单个生产建设项目。
5.豁免水土保持方案审批情形
(1)征占地面积不足0.5公顷且挖填土石方总量不足1千立方米的项目;
(2)社会投资的小型低风险建设项目—新建、改建、扩建的工业项目、仓储项目,且总建筑面积不大于1万平方米。
(二)准予许可条件
1.符合水土保持法律、法规、规章和规范性文件规定。
2.符合水土保持规程、规范和技术标准要求。
3.符合水土保持方案技术评审通过条件。
八、禁止性要求
(一)水土流失防治目标、防治责任范围不合理的。
(二)弃土弃渣未开展综合利用调查或者综合利用方案不可行,取土场、弃渣场位置不明确、选址不合理的。
(三)表土资源保护利用措施不明确,水土保持措施配置不合理、体系不完整、等级标准不明确的。
(四)生产建设项目选址选线涉及水土流失重点预防区、重点治理区,但未按照水土保持标准、规范等要求优化建设方案、提高水土保持措施等级的。
(五)水土保持方案基础资料数据明显不实,内容存在重大缺陷、遗漏的。
(六)存在法律法规和技术标准规定不得通过水土保持方案审批的其他情形的。
九、申请材料目录
(一)水土保持方案报告书
|
序号 |
提交材料名称 |
纸质/电子 |
纸质/电子份数 |
备注 |
|
1 |
生产建设项目水土保持方案 报告书 |
纸质 |
10份 |
1.电子光盘2张; 2.加盖生产建设单位和编制单位公章,编写人员签字。 |
(二)水土保持方案报告表
|
序号 |
提交材料名称 |
纸质/电子 |
纸质/电子份数 |
备注 |
|
1 |
××项目水土保持方案报告表 |
纸质 |
4份 |
1.电子光盘2张; 2.加盖生产建设单位公章。 |
(三)水土保持方案登记表
|
序号 |
提交材料名称 |
纸质/电子 |
纸质/电子份数 |
备注 |
|
1 |
××项目(××地块)水土保持方案登记表 |
电子 |
1份 |
1.加盖生产建设单位公章; 2.可自愿选择提交纸质件。 |
注:涉密项目按国家保密规定执行。
十、申请接收
申请人可通过重庆市网上办事大厅(https://zwykb.cq.gov.cn/)工程建设项目审批板块提交电子材料,采取窗口报送、邮寄等方式提交纸质材料;也可直接到窗口申请和提交纸质材料。地址和联系电话详见附件1和附件2。
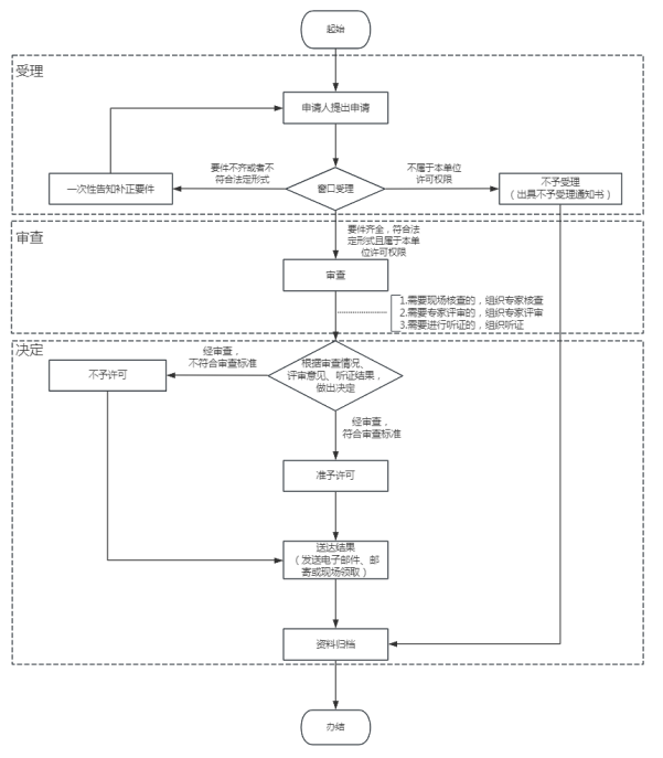
十一、办理基本流程
(一)水土保持方案报告书
1.受理:由重庆市水行政主管部门政务服务窗口统一收件,并在3个工作日内对申请做出处理,制作受理通知书、不予受理通知书或补正通知书。
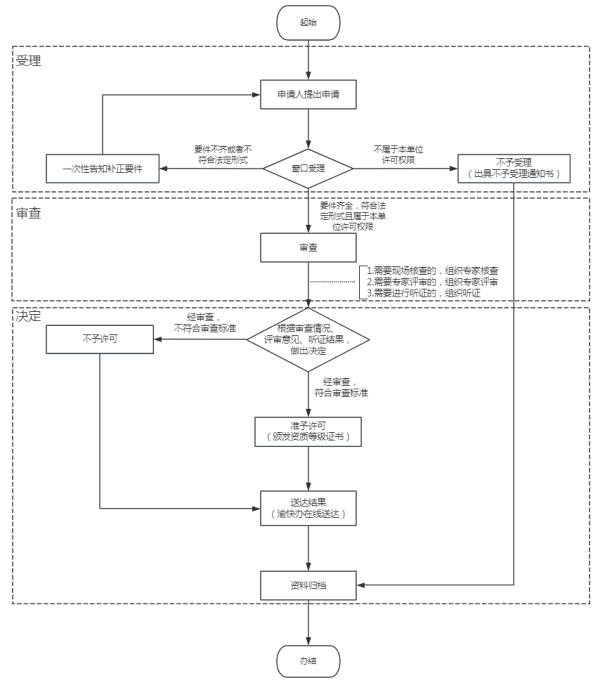
2.审查:重庆市水行政主管部门对申请材料进行全面审查,组织专家评审(含现场踏勘),材料满足相关要求的提出审查意见;材料不满足相关要求的,提出修改意见,项目法人按要求修改完善材料,重庆市水行政主管部门组织专家复核,并提出复核意见。若需要听证的,由重庆市水行政主管部门组织听证。
3.决定:经审查,符合条件的,重庆市水行政主管部门出具准予许可决定;不符合条件的,重庆市水行政主管部门出具不予许可决定。
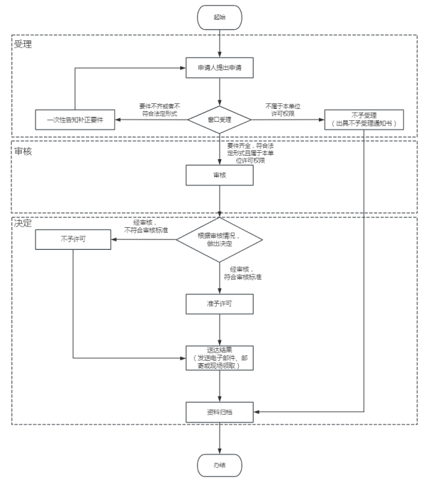
(二)水土保持方案报告表
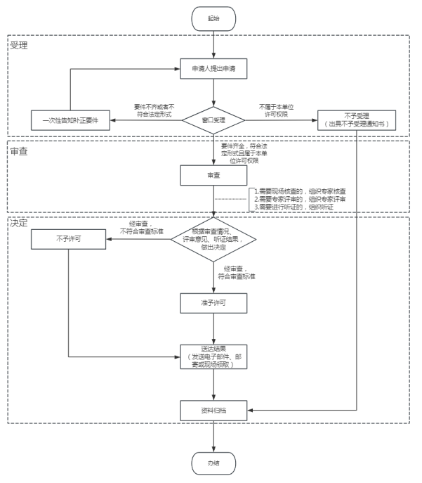
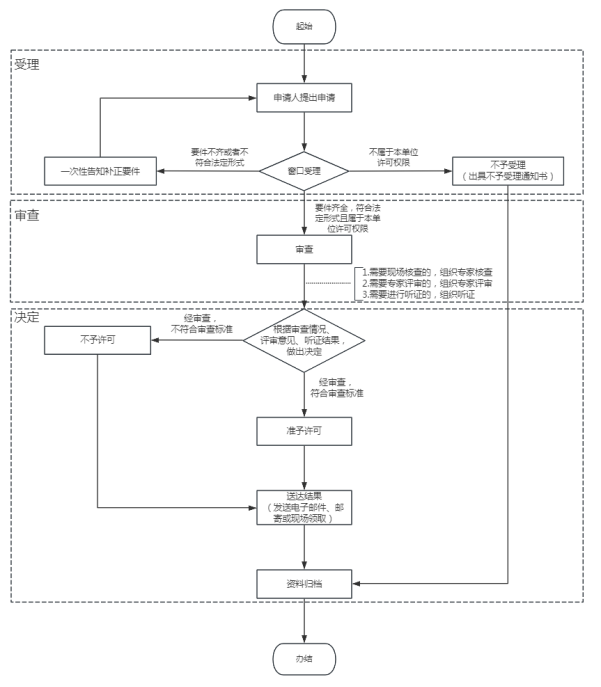
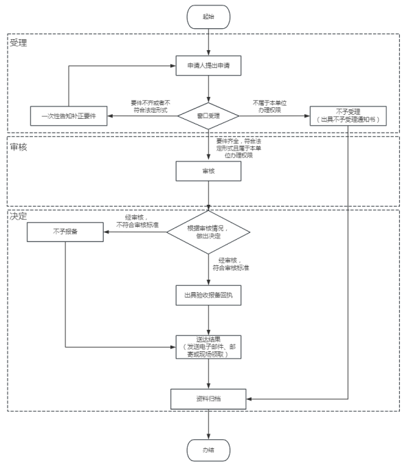
1.受理:由重庆市水行政主管部门政务服务窗口统一收件,并在1个工作日内对申请做出处理,制作受理通知书、不予受理通知书或补正通知书。
2.审核:重庆市水行政主管部门对申请材料进行审核。
3.决定:经审核,符合条件的,重庆市水行政主管部门作出准予许可决定;不符合条件的,重庆市水行政主管部门作出不予许可决定。
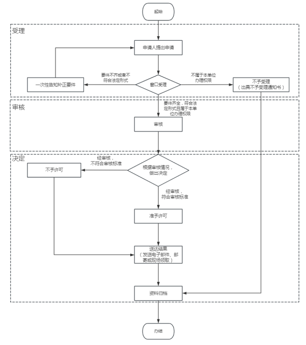
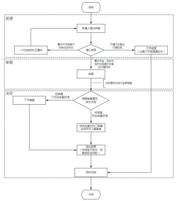
(三)水土保持方案登记表
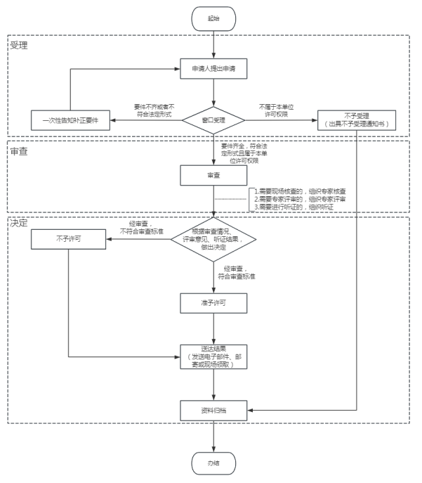
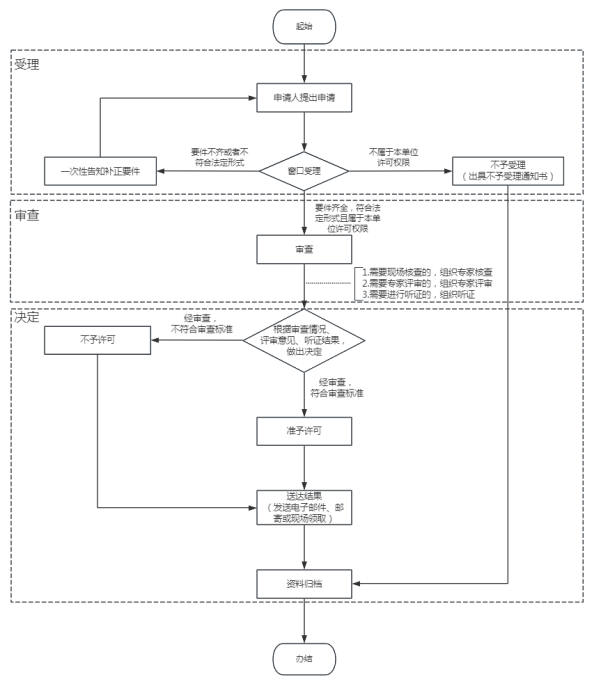
1.受理:由区县(自治县)水行政主管部门政务服务窗口统一收件,并在1个工作日内对申请做出处理,制作受理通知书、不予受理通知书或补正通知书。
2.审核:区县(自治县)水行政主管部门对申请材料进行审核。
3.决定:经审核,符合条件的,区县(自治县)水行政主管部门同意予以报备;不符合条件的,区县(自治县)水行政主管部门不予报备。
十二、办理方式
网上办理、窗口办理。
十三、办结时限
(一)水土保持方案报告书
1.法定时限:10个工作日。
2.承诺时限:5个工作日(不含现场核查、专家评审、听证等时间),特殊情况经重庆市水行政主管部门负责人同意,并与服务对象协商,可以延长5个工作日。
3.专家评审时限:不超过20个工作日(从向专家发送评审资料开始到专家组提交正式评审意见),但申请人对有关材料进行补充完善的时间除外。
4.补充完善时限:专家评审过程中,若报告原则性通过专家评审但需修改完善的,则申请人需在技术评审会后20个工作日内提交完善后的报告,逾期未报,则该申请事项作退件处理。
(二)水土保持方案报告表
1.法定时限:即时办结。
2.承诺时限:即时办结。
(三)水土保持方案登记表
1.法定时限:即时办结。
2.承诺时限:即时办结。
十四、收费依据及标准
不收费。
十五、审批结果
行政许可决定。
十六、结果送达
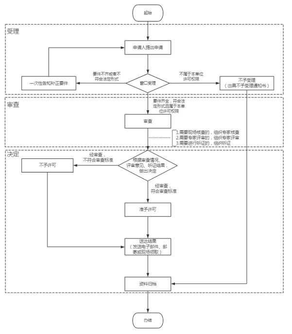
申请人可到重庆市水行政主管部门政务服务窗口领取或通过电子邮件获取许可决定,也可联系政务服务窗口申请邮寄领取。
十七、申请人权利和义务
详见附件3。
十八、咨询途径
申请人可选择现场咨询或电话咨询,详见附件1和附件2。
十九、投诉渠道
申请人可选择电话投诉或现场投诉,详见附件1和附件2。
二十、办公地址和时间
办事大厅地址和办公时间详见附件1和附件2。
二十一、办理进程和结果公开查询
重庆市网上办事大厅。
二十二、备注
(一)可能造成水土流失的生产建设项目指需要扰动地表、开挖回填土石方、改变原地形地貌或地下构造、损坏水土保持功能的所有生产建设和资源开发项目。
(二)依法应当编制水土保持方案的生产建设项目,生产建设单位未编制水土保持方案或者水土保持方案未经水行政主管部门批准的,生产建设项目不得开工建设。
(三)区域水土保持方案审批后,园区内的单个建设项目不再办理水土保持方案审批手续,在开工前填写水土保持方案登记表向园区所在区县水行政主管部门(通过渝快办平台)和园区管理机构报备。
附录:1.流程图
2.××项目水土保持方案报告表
3.××××项目(××地块)水土保持方案登记表
附录1—1
流程图(水土保持方案报告书)

附录1—2
流程图(水土保持方案报告表)

附录1—3
流程图(水土保持方案登记表)

附录2
××项目
水土保持方案报告表
建设单位(个人):
法 定 代 表 人:
通 讯 地 址:
联 系 人:
电 话:
报 送 时 间:
告知事项
|
序号 |
告知内容 |
|
1 |
根据批复的水土保持方案,组织开展水土保持设计,并作为主体工程设计的重要组成部分;严格落实水土保持三同时制度。 |
|
2 |
若项目建设地点、规模发生重大变化,或水土保持措施需要作出重大变更的,以及新设取、弃土场的应补充或修改水土保持方案并报原审批机关批准。 |
|
3 |
严格控制水土流失防治责任范围;严格落实方案确定的各项水土保持措施,确保水土保持设施建设质量和进度。 |
|
4 |
项目开工前,应及时缴纳水土保持补偿费。 |
|
5 |
接受水土保持方案审批机关的跟踪检查。 |
|
6 |
水土保持措施完工后、项目投入使用前,应依法开展水土保持自主验收并向水土保持方案审批机关报备验收资料。 |
|
7 |
本行政许可决定有效期为三年,自签发之日起计算。期满后,若该工程未开工建设,本许可决定自行失效。 |
注:对告知内容若无异议,在以下“对告知事项的承诺意见”一栏手写“按上述要求执行”并签章。
对告知事项的承诺意见:
建设单位(个人):
日期: 年 月 日
水土保持方案报告表
|
项目 概况 |
项目名称 |
| ||||||||||
|
建设地点 |
区(县、自治县)乡(镇、街道)村(社区) | |||||||||||
|
立项部门 |
|
立项文号 |
| |||||||||
|
建设内容 |
| |||||||||||
|
建设性质 |
|
总投资 (万元) |
| |||||||||
|
土建投资 (万元) |
|
占地面积(hm2) |
永久: | |||||||||
|
临时: | ||||||||||||
|
动工时间 |
|
完工时间 |
| |||||||||
|
土石方(m3) |
挖方 |
填方 |
借方 |
余(弃)方 | ||||||||
|
|
|
|
| |||||||||
|
取土(石、砂)场 |
(应填写本项目防治责任范围内的,明确位置、数量、取土量) | |||||||||||
|
弃土(石、渣)场 |
(应填写本项目防治责任范围内的,明确位置、数量、弃渣量) | |||||||||||
|
外借土石方情况 |
(应填写数量、来源及该项目的基本情况) | |||||||||||
|
外弃土石方情况 |
(应填写数量、去向及该项目或社会渣场的基本情况) | |||||||||||
|
项目区 概况 |
涉及重点防治区 情况 |
|
地貌类型 |
| ||||||||
|
原地貌土壤侵蚀模数[t/km2.a] |
|
容许土壤流失量[t/km2.a] |
| |||||||||
|
项目选址(线)水土保持评价 |
| |||||||||||
|
预测水土流失总量(t) |
| |||||||||||
|
防治责任范围(hm2) |
| |||||||||||
|
防治标准等级及 目标 |
防治标准等级 |
| ||||||||||
|
水土流失治理度(%) |
|
土壤流失控制比 |
| |||||||||
|
渣土防护率(%) |
|
表土保护率(%) |
| |||||||||
|
林草植被恢复率(%) |
|
林草覆盖率(%) |
| |||||||||
|
水土保持措施 |
(应填写各项工程措施布设的位置、结构和断面形式、工程量,各项植物措施布设的位置、配置形式、面积和数量,各项临时措施布设的位置、形式和工程量) | |||||||||||
|
措施类型 |
措施名称 |
布设位置 |
断面形式 /配置形式 |
工程量 |
备注 | |||||||
|
工程措施 |
A措施 |
|
|
|
| |||||||
|
B措施 |
|
|
|
| ||||||||
|
…… |
|
|
|
| ||||||||
|
植物 措施 |
A措施 |
|
|
|
| |||||||
|
B措施 |
|
|
|
| ||||||||
|
…… |
|
|
|
| ||||||||
|
临时 措施 |
A措施 |
|
|
|
| |||||||
|
B措施 |
|
|
|
| ||||||||
|
…… |
|
|
|
| ||||||||
|
水土保持投资估算(万元) |
工程措施 |
(需明确方案新增) |
植物措施 |
(需明确方案新增) | ||||||||
|
临时措施 |
(需明确方案新增) |
水土保持补偿费 |
| |||||||||
|
独立费用 |
建设管理费 |
| ||||||||||
|
水土保持监理费 |
| |||||||||||
|
设计费 |
| |||||||||||
|
…… |
| |||||||||||
|
总投资 |
(需明确方案新增投资) | |||||||||||
|
编制单位 |
|
建设单位 |
| |||||||||
|
法人代表及电话 |
|
法人代表及电话 |
| |||||||||
|
地址 |
|
地址 |
| |||||||||
|
邮编 |
|
邮编 |
| |||||||||
|
联系人及电话 |
|
联系人及电话 |
| |||||||||
|
电子信箱 |
|
电子信箱 |
| |||||||||
|
传真 |
|
传真 |
| |||||||||
|
专家审核意见:
专家签字:
年月日 | ||||||||||||
|
水行政主管部门许可决定:
经办人:单位盖章: 年月日 | ||||||||||||
说明:
1. 封面后应附责任页。
2. 报告表应附项目支持性文件;应附项目地理位置图、项目总平面布置图、水土流失防治责任范围及水土保持措施总体布局图等,防治责任范围要落实项目建设区用地红线边界,并提供矢量图(电子文件)。
3. 涉及取土(石、砂)场、弃土(石、渣)场的应附水土保持措施设计说明及设计图纸。
4.专家审核意见至少一名市级专家库的专家签字。
5.用此表表达不清的事项,可用附件表述。
6.本表一式四份,经水行政主管部门审查批准后,水行政主管部门保存二份作为监督检查依据。
附录3
××××项目(××地块)
水土保持方案登记表
建设单位(个人):
法 定 代 表 人:
通 讯 地 址:
联 系 人:
电 话:
报 备 时 间:
重庆市水利局制
告知事项
1.根据批准的区域水土保持方案确定的防治目标和措施体系,结合本项目水土流失特点,细化水土保持措施设计,落实水土保持投资。
2.将水土保持措施和要求纳入施工招标文件和施工合同中, 督促施工单位落实水土流失防治责任。
3.项目建设弃土弃渣需堆放至区域统一布设的堆放场地。
4.施工过程中需做好表土剥离及防护,多余表土需堆放至园区统一布设的表土场。
5.做好施工过程中的拦挡、排水、覆盖等临时防护措施,做到不乱堆乱弃,减少裸露面积,地表水经沉沙过滤后外排。
6.落实并做好水土保持监理工作,确保水土保持设施建设质量和进度。
7.项目开工前,按规定及时缴纳水土保持补偿费。
8.项目竣工验收时应当验收水土保持设施;水土保持设施未经验收或验收不合格,项目不得投产使用。
注:对告知内容若无异议,在以下“对告知事项的承诺意见”一栏手写“按上述要求执行”并签章。
对告知事项的承诺意见:
建设单位(盖章)
年 月 日
区域建设项目水土保持方案登记表
|
项 目 概 况 |
项目名称 |
| ||
|
建设地点 |
| |||
|
立项部门 |
|
立项文号或项目代码 |
| |
|
区域水土保持方案名称 |
|
区域水土保持方案许可文号 |
| |
|
建设性质 |
|
工程规模 |
| |
|
项 目 组 成 |
项目组成 |
| ||
|
工程总投资 (万元) |
|
建设工期 |
| |
|
总占地(hm2) |
|
其中临时用地 (hm2) |
| |
|
总挖方(m3) |
|
总填方(m3) |
| |
|
取、弃 土石方 |
取土石量(m3) |
|
来源 |
|
|
弃土石量(m3) |
|
去向 |
| |
|
表土利 用与保 护 |
表土剥离 |
剥离面积(m2) |
|
|
|
剥离量(m3) |
|
| ||
|
表土利用 |
覆土面积(m2) |
|
| |
|
覆土量(m3) |
|
| ||
|
防治责任范围 |
主体工程防治区 (hm2) |
项目建设区 |
|
永久占地 |
|
施工生产防治区 (hm2) |
项目建设区 |
|
临时占地 | |
|
防 治 目 标 |
水土流失治理度(%) |
|
土壤流失控制比 |
|
|
渣土防护率(%) |
|
表土保护率(%) |
| |
|
林草植被恢复率(%) |
|
林草覆盖率(%) |
| |
|
水 土 保 持 措 施 及 投 资 |
措施类型 |
措施名称 |
数量 |
投资(万元) |
|
工程措施 |
雨水管网 |
m |
| |
|
透水铺装 |
hm2 |
| ||
|
植物措施 |
实土绿化 |
hm2 |
| |
|
架空绿化 |
hm2 |
| ||
|
临时措施 |
车辆清洗站 |
座 |
| |
|
临时沉沙池 |
座 |
| ||
|
密目网覆盖 |
m2 |
| ||
|
临时排水沟 |
m |
| ||
|
临时沉沙池 |
座 |
| ||
|
彩条布覆盖 |
m2 |
| ||
|
监测措施费 |
2项 |
| ||
|
设备费 |
| |||
|
观测运行费 |
| |||
|
独立费用 |
2项 |
| ||
|
技术咨询费 |
| |||
|
工程管理费 |
| |||
|
基本预备费 |
1项 |
| ||
|
水土保持补偿费 |
1项 |
| ||
|
方案总投资 |
| |||
|
建设单位(盖章)
经办人:联系方式:
年月日 | ||||
|
水行政主管部门(盖章)
经办人:联系方式:
年月日 | ||||
第二章取水许可办事指南
一、适用范围
适用于重庆市水行政主管部门审批权限范围内的取水许可的申请和办理。
二、事项审查类型
(一)先审后批(常规审批制)。
(二)先批后核(告知承诺制)。
(三)先核后批(取水许可证核发)。
三、审批依据
(一)《中华人民共和国水法》(第六届全国人民代表大会常务委员会第二十四次会议通过,中华人民共和国主席令第六十一号公布,第十二届全国人民代表大会常务委员会第二十一次会议第二次修正,中华人民共和国主席令第四十八号)第七条、第四十八条。
(二)《取水许可和水资源费征收管理条例》(国务院令第460号公布,国务院令第676号修订)第三条、第十一条、第十四条、第十七条、第二十条、第二十一条。
(三)《地下水管理条例》(国务院令第748号)第二十二条、第二十五条、第四十八条、第五十二条。
(四)《水行政许可实施办法》(水利部令第23号)。
(五)《取水许可管理办法》(水利部令第34号发布,水利部令第49号修正)第三条、第五条、第八条、第九条、第十条、第十一条、第十七条、第二十条。
(六)《建设项目水资源论证管理办法》(水利部 国家计委第15号令发布,水利部令第49号修正)第二条、第五条、第七条、第八条。
(七)《重庆市取水许可和水资源费征收管理办法》(渝府令〔2003〕158号)第二条、第四条、第六条、第七条、第十条、第十四条。
(八)《重庆市水资源管理条例》(重庆市第一届人民代表大会常务委员会第15号,重庆市人民代表大会常务委员会公告〔六届〕第2号修正)第二十八条。
(九)《国务院关于印发清理规范投资项目报建审批事项实施方案的通知》(国发〔2016〕29号)。
(十)《国家发展改革委关于下放政府出资水利项目审批事项的通知》(发改农经〔2017〕2296号)。
(十一)《水利部办公厅关于做好取水许可和建设项目水资源论证报告书审批整合工作的通知》(办资源〔2016〕221号)。
(十二)《重庆市水利局关于印发贯彻落实重庆市人民政府关于进一步实施区县扩权推进城乡统筹发展的决定的实施意见的通知》(渝水政〔2008〕1号)。
(十三)《重庆市水利局关于印发〈重庆市取水许可告知承诺制实施方案(试行)〉〈重庆市取水许可告知承诺制监督管理办法(试行)〉的通知》(渝水规范〔2021〕4号)。
四、受理机构
重庆市水行政主管部门。
五、决定机构
重庆市水行政主管部门。
六、数量限制
无数量限制。
七、申请条件
(一)申请人条件
1.审批对象:凡利用取水工程或者设施直接从江河(溪流)、湖泊或者地下取用水资源的单位和个人。
2.审批方式
(1)常规审批制。所在区域水资源论证区域评估报告或规划水资源论证报告未编制(或未通过审查)的建设项目。
(2)告知承诺制。所在区域水资源论证区域评估报告或规划水资源论证报告已通过相应水行政主管部门审查的建设项目,且建设项目的取水量不超过审查确定的取水量,下列情形除外:
①由水利部长江水利委员会审批的建设项目。
②水资源承载能力达到用水总量控制指标临界值(90%)的行政区域内的建设项目。
③高耗水、高污染项目。
④取用地下水的建设项目。
3.市级审批范围
除水利部长江水利委员会审批权限以外,年核准取用地表水1000万立方米以上、地下水200万立方米以上、水(火)力发电总装机容量在5万千瓦以上(均含本数)和大中型水库的取水。
4.区县(自治县)审批范围
(1)年核准取用地表水1000万立方米以下、地下水200万立方米以下、水(火)力发电总装机容量在5万千瓦以下(不含本数)和小型水库的取水。
(2)万州区在辖区内、重庆两江新区在直管区域内、重庆经开区在直接管理范围内、西部科学城重庆高新区在管理范围内具有市级审批权限。
5.下列取水不需要办理取水许可证
(1)农村集体经济组织及其成员使用本集体经济组织的水塘、水库中的水的。
(2)家庭生活和零星散养、圈养畜禽饮用等少量取水的(年取水量在3000立方米以下的)。
(3)为保障矿井、隧道等地下工程施工安全和生产安全必须进行的临时应急取(排)水的。
(4)为消除对公共安全或者公共利益的危害临时应急取水的。
(5)为农业抗旱和维护生态与环境必须临时应急取水的。
(6)法律、法规规定的其他取水。
(二)准予许可条件
1.符合法律、法规、规章和规范性文件规定。
2.符合取水许可规程、规范和技术标准要求。
3.符合建设项目水资源论证报告书技术评审通过条件。
八、禁止性要求
(一)在地下水禁采区取用地下水的。
(二)对取用水总量已达到或超过控制指标的地区,暂停审批建设项目新增取水。
(三)可能对水功能区水域使用功能造成重大损害的。
(四)取水、退水布局不合理的。
(五)城市公共供水管网能够满足用水需要时,建设项目自备取水设施取用地下水的。
(六)可能对第三者或者社会公共利益产生重大损害的。
(七)属于备案项目,未报送备案的。
(八)不符合国家产业政策或列入国家产业结构调整指导目录中淘汰类的,或者产品不符合行业用水定额标准的。
(九)法律、行政法规规定的其他情形。
九、申请材料目录
(一)常规审批制
|
序号 |
提交材料名称 |
纸质/ 电子 |
纸质/电子份数 |
备注 |
|
1 |
取水许可申请书 |
电子 |
1份 |
|
|
2 |
建设项目水资源论证 报告书 |
纸质 |
10份 |
1.地表水年取水量在10万立方米以上或地下水年取水量在1万立方米以上提供; 2.内含:关于建设项目取水量与本区域用水总量控制指标符合性的说明(由建设项目所在区县水行政主管部门提供); 3.电子光盘2张; 4.加盖生产建设单位和编制单位公章,编写人员签字。 |
|
3 |
建设项目水资源论证 报告表 |
电子 |
1份 |
1.地表水年取水量在10万立方米以下或地下水年取水量在1万立方米以下提供; 2.加盖生产建设单位和编制单位公章,编写人员签字。 |
|
4 |
第三方协议书 |
电子 |
1份 |
建设项目与第三方有利害关系的,提供项目法人与第三方达成的协议书或其他文件。 |
|
5 |
退水许可文件 |
电子 |
1份 |
退水时需提供。 |
(二)告知承诺制
|
序号 |
提交材料名称 |
纸质/ 电子 |
纸质/电子份数 |
备注 |
|
1 |
取水许可申请书 |
电子 |
1份 |
|
|
2 |
建设项目立项依据文件和相应技术报告 |
电子 |
1份 |
|
|
3 |
备案文件材料 |
电子 |
1份 |
属于备案项目时提供备案文件材料,不属于备案项目时提供建设项目立项依据文件和相应技术报告。 |
|
4 |
第三方协议书 |
电子 |
1份 |
建设项目与第三方有利害关系的,提供项目法人与第三方达成的协议书或其他文件。 |
|
5 |
建设项目用水指标符合国家及重庆市用水定额指标的说明 |
电子 |
1份 |
|
|
6 |
建设项目符合国家生态流量要求的说明 |
电子 |
1份 |
|
|
7 |
建设项目所在区域的水资源论证区域评估报告或规划水资源论证报告及审查部门出具的审查意见 |
电子 |
1份 |
|
|
8 |
申请人的承诺 |
电子 |
1份 |
|
|
9 |
关于建设项目取水量与本区域用水总量控制指标符合性的说明 |
电子 |
1份 |
市水利局办理时提交,区县水行政主管部门办理时不需提交。 |
(三)取水许可证核发
1.取水许可证新发
|
序号 |
提交材料名称 |
纸质/ 电子 |
纸质/电子份数 |
备注 |
|
1 |
取水许可证申领表 |
电子 |
1份 |
|
|
2 |
建设项目的批准或核准文件 |
电子 |
1份 |
|
|
3 |
营业执照 |
电子 |
1份 |
1.申请人为单位时提供; 2.系统获取。 |
|
4 |
居民身份证 |
电子 |
1份 |
1.申请人为个人时提供; 2.系统获取。 |
|
5 |
取水水源水质检测报告 |
电子 |
1份 |
|
|
6 |
取水工程取退水设施及运行情况报告 |
电子 |
1份 |
|
|
7 |
取水计量设施的信息、照片及检定校准证明材料 |
电子 |
1份 |
河道内生产用水,未安装取水量设施的,提供未安装情况说明。 |
|
8 |
蓄水调度方案 |
电子 |
1份 |
1.取水工程类型为拦河闸坝等蓄水工程时提供; 2.需经地方人民政府水行政主管部门或流域管理机构批准。 |
|
9 |
施工报告 |
电子 |
1份 |
1.取水工程类型为地下水取水工程时提供; 2.包括成井抽水试验综合效果图、水质分析报告等。 |
2.取水许可证延续
|
序号 |
提交材料名称 |
纸质/ 电子 |
纸质/电子份数 |
备注 |
|
1 |
延续取水申请书 |
电子 |
1份 |
|
|
2 |
取水计量设施的信息、照片及检定校准证明材料 |
电子 |
1份 |
1.安装取用水监测计量设施时提供;2.提供有效期内的取水计量设施检定或校准的证明文件。 |
|
3 |
营业执照 |
电子 |
1份 |
1.申请人为单位时提供; 2.系统获取。 |
|
4 |
居民身份证 |
电子 |
1份 |
1.申请人为个人时提供; 2.系统获取。 |
3.取水许可证变更
|
序号 |
提交材料名称 |
纸质/ 电子 |
纸质/电子份数 |
备注 |
|
1 |
取水许可变更申请书 |
电子 |
1份 |
|
|
2 |
营业执照 |
电子 |
1份 |
申请人为单位时基本信息变更或取水权变更时提供。 |
|
3 |
居民身份证 |
电子 |
1份 |
1.申请人为单位时基本信息变更或取水权变更时提供,提供法定代表人的居民身份证; 2.申请人为个人时基本信息变更或取水权变更时提供。 |
|
4 |
取水权转让的批准文件 |
电子 |
1份 |
申请人为单位或个人的取水权变更时提供。 |
|
5 |
变更事项证明材料 |
电子 |
1份 |
申请人为单位或个人的其他信息变更时提供。 |
4.取水许可证注销
|
序号 |
提交材料名称 |
纸质/ 电子 |
纸质/电子份数 |
备注 |
|
1 |
取水许可证注销申请书 |
电子 |
1份 |
|
注:涉密项目按国家保密规定执行。
十、申请接收
(一)取水许可(常规审批制)、取水许可(告知承诺制):申请人可通过重庆市网上办事大厅(https://zwykb.cq.gov.cn/)工程建设项目审批板块提交电子材料,采取窗口报送、邮寄等方式提交纸质材料;也可直接到窗口申请和提交纸质材料。地址和联系电话详见附件1和附件2。
(二)取水许可证核发:申请人可通过重庆市网上办事大厅提交电子材料。地址和联系电话详见附件1和附件2。
十一、办理基本流程
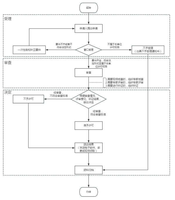
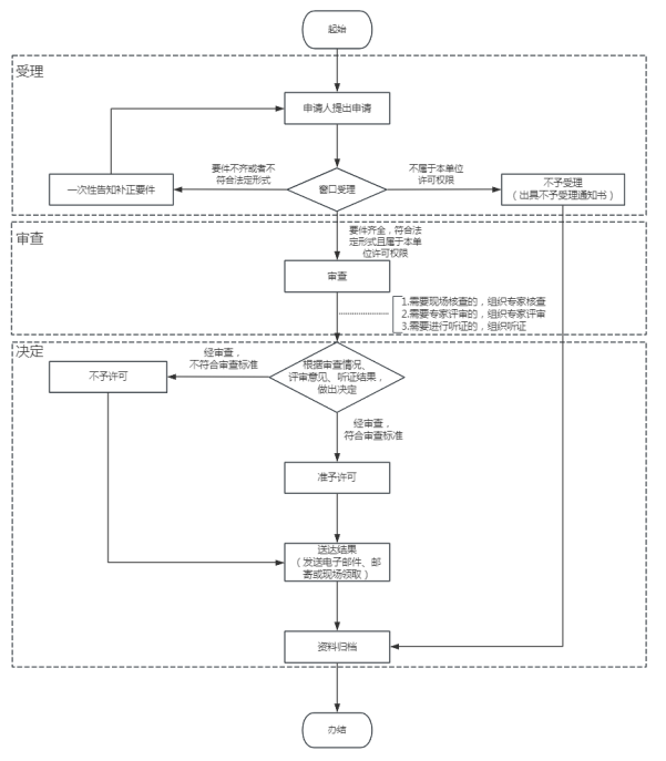
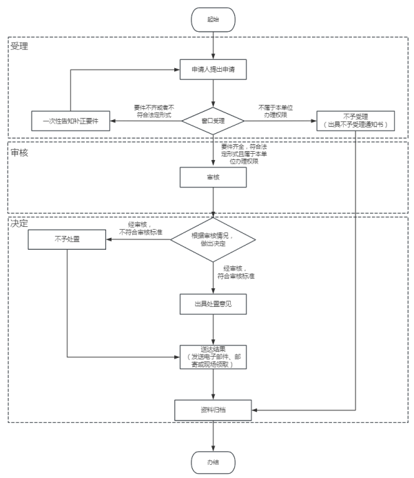
(一)常规审批制
1.受理:由重庆市水行政主管部门政务服务窗口统一收件,并在3个工作日内对申请做出处理,制作受理通知书、不予受理通知书或补正通知书。
2.审查:重庆市水行政主管部门对申请材料进行全面审查,组织专家评审(含现场踏勘),材料满足相关要求的提出审查意见;材料不满足相关要求的,提出修改意见,项目法人按要求修改完善材料,重庆市水行政主管部门组织专家复核,并提出复核意见。若需要听证的,由重庆市水行政主管部门组织听证。
3.决定:经审查,符合条件的,重庆市水行政主管部门出具准予许可决定;不符合条件的,重庆市水行政主管部门出具不予行政许可决定。
(二)告知承诺制
1.受理:由重庆市水行政主管部门政务服务窗口统一收件,并在3个工作日内对申请做出处理,制作受理通知书、不予受理决定书或补正通知书。
2.审核:重庆市水行政主管部门对申请材料进行审核。
3.决定:经审核,符合条件的,重庆市水行政主管部门出具准予许可决定。
(三)取水许可证核发
1.受理:由重庆市水行政主管部门政务服务窗口统一收件,并在3个工作日内对申请做出处理,制作受理通知书、不予受理通知书或补正通知书。
2.审核:重庆市水行政主管部门对申请材料进行审核。
3.决定:经审核,符合条件的,重庆市水行政主管部门出具取水许可证(电子证照)。
十二、办理方式
网上办理、窗口办理。
十三、办结时限
(一)常规审批制
1.法定时限:45个工作日。
2.承诺时限:7个工作日(不含现场核查、专家评审、听证等时间),特殊情况经重庆市水行政主管部门负责人同意,并与服务对象协商,可以延长5个工作日。
3.专家评审时限:不超过15个工作日(从向专家发送评审资料开始到专家组提交正式评审意见),但申请人对有关材料进行补充完善的时间除外。
4.补充完善时限:专家评审过程中,若报告原则性通过专家评审但需修改完善的,则申请人需在专家评审会后20个工作日内提交完善后的报告,逾期未报,则该申请事项作退件处理。
(二)告知承诺制
1.法定时限:45个工作日。
2.承诺时限:5个工作日。
(三)取水许可证核发
1.取水许可证新发
(1)法定时限:20个工作日。
(2)承诺时限:6个工作日(不含现场核查、专家评审、听证等时间)。
2.取水许可证延续
(1)法定时限:45个工作日。
(2)承诺时限:7个工作日。
3.取水许可证变更
(1)法定时限:20个工作日。
(2)承诺时限:1个工作日。
4.取水许可证注销
(1)法定时限:20个工作日。
(2)承诺时限:3个工作日。
十四、收费依据及标准
不收费。
十五、审批结果
(一)常规审批制、告知承诺制:行政许可决定。
(二)取水许可证核发:取水许可证(电子证照)。
十六、结果送达
(一)常规审批制、告知承诺制:申请人可到重庆市水行政主管部门政务服务窗口领取或通过电子邮件获取许可决定,也可联系重庆市水行政主管部门政务服务窗口申请邮寄领取。
(二)取水许可证核发:重庆市水行政主管部门通过渝快办推送取水许可证(电子证照)。
十七、申请人权利和义务
详见附件3。
十八、咨询途径
申请人可选择现场咨询或电话咨询,详见附件1和附件2。
十九、投诉渠道
申请人可选择电话投诉或现场投诉,详见附件1和附件2。
二十、办公地址和时间
办事大厅地址和办公时间详见附件1和附件2。
二十一、办理进程和结果公开查询
重庆市网上办事大厅。
二十二、备注
取水工程或者设施是指闸、坝、水电站、渠道、人工河道、虹吸管、泵站、机电井等。
附录:1.流程图
2.取水许可申请书
3.取水许可证申领表
4.延续取水申请书
5.取水许可变更申请书
6.取水许可证注销申请书
7.申请人的承诺
附录1—1
流程图(常规审批制)

附录1—2
流程图(告知承诺制)

附录1—3
流程图(取水许可证新发)

附录1—4
流程图(取水许可证延续)

附录1—5
流程图(取水许可证变更)

附录1—6
流程图(取水许可证注销)

附录2
(1)制水供水是指城乡公共供水企业取原水按照国家标准生产自来水,利用管网供给城乡居民和企事业单位等。
(2)原水供水是指取水单位直接从江河、湖泊或地下取水,不作制水加工,直接供给其他企业生产、城市自来水公司等。
(3)河道内生产用水是指在江河、湖泊等水域兴建的用于水力发电、航运、河道内养殖以及其他河道内取水,勾选其他时应注明具体用途。
(4)生活用水是指城镇生活用水和农村生活用水(含工业、农业生产过程中所需的生活用水)。
(5)建筑业用水是指土木工程、房屋建设和设备安装等用水。
(6)服务业用水是指服务业单位从事经营活动用水,服务业包括交通运输、仓储和邮政业,信息传输、软件和信息技术服务业,租赁和商务服务业,科学研究和技术服务业,水利、环境和公共设施管理业,教育,卫生和社会工作;以及物业管理、房地产中介服务、自有房地产经营活动和其他房地产业等。
(7)工业用水是指工业企业生产用水,含附属生产用水和辅助生产用水。其中火(核)电用水和其他电力生产用水单独勾选。
(8)农业用水是指各种农作物的种植灌溉用水。
(9)林业用水是指林业灌溉用水。
(10)畜牧业用水是指为了获得各种畜禽产品的用水。
(11)渔业用水是指各种水生动植物的养殖用水。
(12)生态用水是指直接从江河、湖泊或地下取水,为其他河湖、湿地等补水;以及城乡市政、厂区、场区、园区、校区等区域环境(绿地灌溉)、卫生、清洁用水。
(13)其他用水包括水源热泵、施工降水、其他类型用水,按照实际取水用途勾选,勾选其他时应注明具体用途。
(1)管道计量方式包括:包括机械水表、电子远传水表、电磁流量计、超声波流量计、其他,选其他计量方式时应注明具体方式;
(2)明渠计量方式包括:包括水工建筑物法(上下游水位加闸门开度)、堰槽(单水位)、规则断面单水位推流、规则断面单水位加流速仪推流、走航式ADCP、水平式ADCP(H-ADCP)、坐底式二线能坡法、超声波时差法、表面流速法、其他,选其他计量方式时应注明具体方式;
(3)其他折算方式包括:泵站机组效率曲线折算、发电机组效率曲线折算、行政单元机电井群以电折水(根据单元内抽水总用电量及地下水平均埋深折算)、其他,其他折算应注明具体折算方式。
32. 退水地点:退水排入河湖的,填写排入河湖的具体位置。
|
申请人基本情况 |
统一社会信用代码(身份证号码) |
|
法定代表人 |
| ||||||
|
住所(住址) |
|
邮编 |
| |||||||
|
生产经营场所地址 |
省(自治区、直辖市)市(区)县(区、市)乡(镇、街道)村(社区)号 | |||||||||
|
行业类别 |
|
用水管理部门 |
| |||||||
|
联系人 |
|
联系人手机号码 |
| |||||||
|
共同申请人1 |
单位名称(个人姓名) |
|
份额 |
% | ||||||
|
统一社会信用代码 (身份证号码) |
| |||||||||
|
共同申请人n |
单位名称(个人姓名) |
|
份额 |
% | ||||||
|
统一社会信用代码 (身份证号码) |
| |||||||||
|
项目基本情况 |
项目名称 |
| ||||||||
|
项目性质 |
□新建□改建、扩建□其他 | |||||||||
|
项目概况 |
| |||||||||
|
运行期年取水量(合计) |
| |||||||||
|
水源1 |
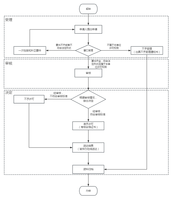
水源类型 |
□地表水□地下水(□矿泉水□地热水)□其他 | ||||||||
|
取水地点 |
省(自治区、直辖市)市(区)县(区、市)乡(镇、街道)村(组) | |||||||||
|
取水口位置 |
| |||||||||
|
年取水量 |
| |||||||||
|
取水工程(设施)类型(可多选) |
□闸 □坝□渠道 □人工河道 □虹吸管 □水泵 □水井 □水电站 □其他 | |||||||||
|
... |
... | |||||||||
|
水源n |
(同上) | |||||||||
|
施工期起止时间 |
从年月日至年月日 | |||||||||
|
施工期取水量(合计) |
施工期取水量可不按年取水量填写,按施工期的总取水量填写 | |||||||||
|
水源1 |
水源类型 |
□地表水□地下水(□矿泉水□地热水)□其他 | ||||||||
|
取水地点 |
省(自治区、直辖市)市(区)县(区、市)乡(镇、街道)村(组) | |||||||||
|
水源1 |
取水口位置 |
| ||||||||
|
取水量 |
| |||||||||
|
取水工程 (设施)类型(可多选) |
□闸 □坝渠道 □人工河道 □虹吸管 □水泵 □水井 □水电站 □其他 | |||||||||
|
... |
... | |||||||||
|
水源n |
(同上) | |||||||||
|
申请事由 |
| |||||||||
|
申请取水起始时间 |
年月日 |
期限 |
| |||||||
|
取水用途 (可多选) |
□制水供水 □原水供水 □河道内生产用水(□水力发电 □航运 □河道内养殖 □河道内其他) □生活用水 □建筑业用水 □服务业用水 □工业用水〔□一般工业用水 □火(核)电和其他电力生产用水〕 □农业用水 □林业用水 □畜牧业用水 □渔业用水 □生态用水 □其他用水(□水源热泵 □施工降水 □其他) | |||||||||
|
计量方式 |
□管道计量 |
□机械水表 □电子远传水表 □电磁流量计 □超声波流量计 □其他 | ||||||||
|
□明渠计量 |
□水工建筑物法 □流速面积法 □堰槽 □规则断面单水位推流 □规则断面单水位加流速仪推流 □走航式ADCP□水平式ADCP(H—ADCP) □坐底式二线能坡法 □超声波时差法 □表面流速法 □其他 | |||||||||
|
□其他折算方式 |
□泵站机组效率曲线折算 □发电机组效率曲线折算 □行政单元机电井群以电折水 □其他 | |||||||||
|
数据传输 方式 |
□在线□非在线 | |||||||||
|
年退水量 |
| |||||||||
|
退水方式和排放去向 |
□企业污水处理厂处理 |
污水处理厂名称: | ||||||||
|
污水处理厂地址: | ||||||||||
|
□公共污水收集管网 | ||||||||||
|
□达标处理后直接排入江河湖库 |
受纳水体名称: | |||||||||
|
受纳水体功能目标: | ||||||||||
|
退水地点: | ||||||||||
|
□其他 |
具体说明: | |||||||||
|
承诺 |
我单位(本人)承诺:
承诺人(法人代表签章): | |||||||||
附录3
说 明
根据《取水许可和水资源费征收管理条例》和《取水许可管理办法》规定,取水工程或者设施竣工试运行满30日后,申请人应当按照国务院水行政主管部门的规定,填写《取水许可证申领表》,申请核发取水许可证,并提供以下材料:
(一)建设项目的批准或者核准文件;
(二)取水申请批准文件;
(三)取水工程(设施)的地形图,竣工后的取水工程(设施)平面布置图、管线布置图、配置图等;
(四)取水计量设施的信息、照片及检定校准证明材料;
(五)试运行期间的取水量、退水量及水质监测报告。
拦河闸坝等蓄水工程,还应当提交经地方人民政府水行政主管部门或者流域管理机构批准的蓄水调度运行方案。
地下水取水工程,还应当提交包括成井抽水试验综合成果图、水质分析报告等内容的施工报告。
注:
1.建设项目的批准或者核准文件、取水申请批准文件,取水许可审批机关通过政务服务平台系统能够获取,可不提供。
2.(四)取水计量设施的信息、照片及检定校准证明材料应包括以下内容:
(1)计量方式:包括管道计量、明渠计量、其他(以电折水等方式);
(2)计量设备(设施)类型:包括超声波流量计、电磁流量计、机械水表、电子水表、水位计、闸位计、功率表(泵、机组)以及其他类型,“其他类型”请按实际情况填写;
(3)一次计量量纲:指计量设施传感器直接获取的信号物理量类型,主要包括,时段累计水量、瞬时流量、水位、电功率、闸位、时段总耗电量以及其他类型,“其他类型”请按实际情况填写;
(4)数据传输方式:包括在线和非在线两种;
(5)计量设施型号:按照实际填写,采用“其他计量”类型的不填;
(6)计量设施出厂序列号:指验证计量设施合法身份的计量设施出厂编号,采用“其他计量”类型的不填;
(7)计量设施检验合格日期:按年、月、日填写,采用“折算方式”的不填;
(8)计量设施照片:反映监测计量设施安装位置及周围环境的照片和计量设施表盘的照片各一张,采用JPG格式,单张照片大小分辨率不低于300dpi,不超过5M。
|
法定代表人 |
|
统一社会信用代码(身份证号码) |
| |||
|
联系人 |
|
手机号码 |
| |||
|
取水许可 审批文号 |
| |||||
|
序号 |
核验内容 |
取水工程(设施)有关事项 变化情况 |
是/否 |
具体变化情况 | ||
|
1 |
取水工程或者设施的建设和试运行情况 |
取水水源是否发生变化 |
|
| ||
|
取水地点是否发生变化 |
|
| ||||
|
取水量是否发生变化 |
|
| ||||
|
取水方式是否发生变化 |
|
| ||||
|
取水用途是否发生变化 |
|
| ||||
|
取水工程(设施)设计取水 能力是否发生变化 |
|
| ||||
|
2 |
取水计量设施建设及运行情况 |
取水计量设施是否按审批 要求进行配备和安装 |
|
| ||
|
取水计量设施是否进行 检定校准 |
|
| ||||
|
取水计量设施是否正常运行 |
|
| ||||
|
3 |
节水设施的建设和试运行情况 |
节水设施是否按审批要求 进行建设 |
|
| ||
|
节水设施是否正常运行 |
|
| ||||
|
用水指标是否符合审批要求 |
|
| ||||
|
4 |
退水情况 |
退水地点是否发生变化 |
|
| ||
|
退水量是否发生变化 |
|
| ||||
|
退水水质是否符合水功能区水质达标要求 |
|
| ||||
附录4
延 续 取 水 申 请 书
申请人(盖章)
申请日期
中华人民共和国水利部监
填表说明
根据《取水许可和水资源费征收管理条例》(中华人民共和国国务院令第460号)规定,取水单位或者个人应当在有效期届满45日前,到原审批机关办理延续取水申请手续。取水单位或个人申请办理延续取水时,填写此表。
取水单位或个人逾期不办理延续申请手续的,取水许可证期满自行注销。
当取水量、取水水源、取水地点、取水用途发生较大变化的,需重新进行建设项目水资源论证,并重新申请取水。
|
一、原取水许可证载明情况(系统自动读取) | ||||||
|
取水单位 (或个人姓名) |
|
统一社会信用代码 (或身份证号码) |
| |||
|
取水地点 |
|
水源类型 |
| |||
|
取水类型 |
|
取水用途 |
| |||
|
年取水量 |
|
有效期限 |
| |||
|
二、取用水有关情况说明 | ||||||
|
有效期内各年实际取水量(万m3/年) (系统自动读取) |
第1年 |
第2年 |
第3年 |
第4年 |
第5年 | |
|
|
|
|
|
| ||
|
设计生产规模以及主要生产用水技术、工艺、设备是否有变化 |
□是□否 | |||||
|
具体变化情况: | ||||||
|
取水水源、取水地点、取水工程、取水用途是否有变化 |
□是□否 | |||||
|
具体变化情况: | ||||||
|
取用水监测计量设施运行情况 |
监测计量设施正常运行情况 |
□是□否 | ||||
|
取水计量器具定期进行检定或校准情况 |
□是□否上传检定或校准的证明文件 | |||||
|
检定或校准的部门: | ||||||
|
最近一次检定或校准时间: | ||||||
|
在取水许可有效期内是否发生过计量器具安装位置的拆改挪移或计量方式的调整或计量器具的更换 |
□是□否 | |||||
|
具体调整情况: | ||||||
|
计量设施的维护方式 □自维护 □第三方维护 □政府组织维护 | ||||||
|
是否存在违反《中华人民共和国水法》《取水许可和水资源费征收管理条例》规定的取用水行为 |
□是□否 | |||||
|
具体违法行为: | ||||||
|
三、申请的取水量和期限 | ||||||
|
延续申请取水量 |
万m3/年 | |||||
|
延续申请取水期限 |
年月日至年月日 | |||||
申请人(盖章)
申请日期
中华人民共和国水利部监
填表说明
根据《取水许可和水资源费征收管理条例》(中华人民共和国国务院令第460号)和《取水许可管理办法》(中华人民共和国水利部令第34号)有关规定,在取水许可证有效期限内,取水单位或者个人需要变更其名称(姓名)的,或者因取水权转让需要办理取水权变更手续的,应当持法定身份证明文件和有关取水权转让的批准文件,向原取水审批机关提出变更申请。取水单位或者个人申请办理变更手续时,填写此表。
当取水量、取水水源、取水地点、取水用途发生较大变化的,或者由于取水行为的变化对第三方产生影响的,需重新进行建设项目水资源论证,并重新申请取水。
1.变更类型:按照不同的变更类型勾选。
(1)取水单位或者个人名称变更或有关基本信息变更:是指取水单位或者个人的名称发生变更,或法定代表人、住所(住址)等信息发生变化。
(2)取水权变更:是指取水单位或者个人通过调整产品和产业结构、改革工艺、节水等措施节约水资源的,在取水许可的有效期和取水限额内,经原审批机关批准,依法有偿转让其节约的水资源,因取水权转让需要变更原许可取水量。
(3)其他变更:写明具体的变更情况。
2.变更事项:原取水许可证信息由系统自动读取,申请人根据要变更的事项填写变更后的信息。
3.变更事项的证明材料:取水单位或者个人名称变更或有关基本信息变更的应提供法定身份证明文件以及其他有关证明文件,从国家政务服务平台申请的,由平台完成身份核验。取水权变更的应提供取水权转让的批准文件以及其他有关证明文件。
|
变更类型 |
□取水单位或者个人名称变更或有关基本信息变更 □取水权变更 □其他 | ||
|
变更事项 |
|
原取水许可证信息 |
变更后信息 |
|
单位名称 (或个人名称) |
(系统自动读取) |
| |
|
法定代表人 |
(系统自动读取) |
| |
|
住所(住址) |
(系统自动读取) |
| |
|
年取水量 |
(系统自动读取) |
| |
|
其他指标1 |
|
| |
|
其他指标2 |
|
| |
|
... |
|
| |
|
变更事项的证明材料 | |||
|
□法定身份证明文件 □取水权转让的批准文件 □其他 | |||
附录6
申请人(盖章)
申请日期
中华人民共和国水利部监制
|
单位名称(或个人名称) |
|
取水许可证编号 |
|
|
法定代表人 |
|
统一社会信用代码(或身份证号码) |
|
|
联系人 |
|
联系人手机号 |
|
|
申请注销理由 |
| ||
附录7
申请人的承诺
申请人就申请取水许可的事项,现作出下列承诺:
一、对取水许可法定条件的承诺
1.建设项目与第三者有利害关系时,项目法人与第三者达成协议同意建设项目取水;若不涉及第三者利益,项目法人愿意作出建设项目不涉及、不影响第三者利益的承诺。
2.建设项目新建、改建、扩建入河排污口的,已经具有管辖权限的生态环境部门同意;利用已批准入河排污口退水的,已经具有管辖权限的有关部门同意。
3.建设项目符合国家产业政策。
4.建设项目用水指标符合国家及重庆市有关定额指标。
5.建设项目下放生态流量符合国家有关要求。
6.建设项目退水水质符合纳污水体要求。
7.取水总量不突破取水许可行政决定核准的取水量。
8.安装经鉴定合格且具有在线监测功能的取水计量设施,将取水实时监控信息接入重庆市水资源综合管理系统,并按照规定定期检定校准,保障数据的真实性和准确性。
9.加强节约用水管理,采取有效节水措施,提高节水效率,降低管网漏损率,做好节水工作。
二、对有关事项的承诺
1.已经知晓行政许可实施机关告知的全部内容。
2.保证申请资料和相关数据的合法性、真实性、准确性,保证电子文件和纸质资料的一致性,所作承诺是申请人的真实意思表示。
3.满足行政许可实施机关告知的条件、标准和技术要求。
4.能够在约定期限内,提交行政许可实施机关告知的相关材料。
5.严格遵守国家法律、法规、规章和相关政策规定,依法从事生产经营活动,重信守诺,维护良好的信用记录,并主动接受政府、行业组织、社会公众、新闻舆论的监督,积极履行社会责任。
6.上述陈述是申请人的真实意思表示。
7.愿意承担不实承诺、违反承诺的法律责任及由此造成的损失。
8.对有关许可文书颁发后从事许可的有效期予以确认和承诺。
9.本承诺书在“信用重庆”等网站上公开。
申请人: 行政许可实施机关
(签字盖章) (盖章)
年 月 日 年 月 日
申请人:
(自然人)
姓 名:
证件类型: 编号:
联系方式:
(法 人)
单位名称:
法定代表人: 地址:
联系方式:
(其他组织)
组织名称:
法定代表人: 地址:
联系方式:
委托代理人:
证件类型: 编号:
联系方式:
行政许可实施机关:
联系人姓名:
联系方式:
第三章洪水影响评价类审批办事指南
一、适用范围
适用于重庆市水行政主管部门审批权限范围内河道管理范围内建设项目工程建设方案审批、水工程建设规划同意书审核和国家基本水文测站上下游建设影响水文监测工程的审批中的一项或多项的申请和办理。
二、事项审查类型
先审后批。
三、审批依据
(一)《中华人民共和国水法》(第六届全国人民代表大会常务委员会第二十四次会议通过,中华人民共和国主席令第六十一号公布,第十二届全国人民代表大会常务委员会第二十一次会议第二次修正,中华人民共和国主席令第四十八号)第十九条、第三十八条。
(二)《中华人民共和国防洪法》(第八届全国人民代表大会常务委员会第二十七次会议通过,中华人民共和国主席令第八十八号公布,第十二届全国人民代表大会常务委员会第二十一次会议第三次修正,中华人民共和国主席令第四十八号)第十七条、第十九条、第二十七条、第三十三条。
(三)《中华人民共和国河道管理条例》(国务院令第3号发布,国务院令第698号修订)第十一条。
(四)《中华人民共和国水文条例》(国务院令第496号公布,国务院令第676号修订)第三十三条。
(五)《水工程建设规划同意书制度管理办法(试行)》(水利部令第31号发布,水利部令第49号修正)。
(六)《水行政许可实施办法》(水利部令第23号)。
(七)《水文监测环境和设施保护办法》(水利部令第43号发布,水利部令第47号修正)第九条、第十条、第十一条。
(八)《重庆市河道管理条例》(重庆市人民代表大会常务委员会公告〔五届〕第202号)第二十四条。
(九)《重庆市水资源管理条例》(重庆市第一届人民代表大会常务委员会第15号发布,重庆市人民代表大会常务委员会公告〔六届〕第2号修正)第七条。
(十)《重庆市水文条例》(重庆市人民代表大会常务委员会公告〔2009〕第27号发布,重庆市人民代表大会常务委员会公告〔五届〕第13号修正)第三十二条。
(十一)《水利部关于印发〈水利部简化整合投资项目涉水行政审批实施办法(试行)〉的通知》(水规计〔2016〕22号)。
(十二)《水利部关于印发河湖管理范围内建设项目各流域管理机构审查权限的通知》(水河湖(2021)237号)。
(十三)《关于明确由长江水利委员会负责审查并签署水工程建设规划同意书的河流(河段)湖泊名录和范围(试行)的通知》(水规计〔2010〕175号)。
(十四)《重庆市人民政府关于印发重庆市河道管理范围内建设项目管理办法(修订)的通知》(渝府发〔2012〕32号)。
(十五)《重庆市水利局办公室关于规范我市水工程建设规划同意书归并审批事项的通知》(渝水办规计〔2017〕4号)。
四、受理机构
重庆市水行政主管部门。
五、决定机构
重庆市水行政主管部门。
六、数量限制
无数量限制。
七、申请条件
(一)申请人条件
1.审批对象:建设单位或个人。
2.市级审批范围
(1)河道管理范围内建设项目工程建设方案审批、水工程建设规划同意书审核:跨区县(自治县)行政区域或者对其他区县(自治县)的防洪、用水等有较大影响的涉河建设项目或水工程建设项目。
(2)国家基本水文测站上下游建设影响水文监测工程的审批:重庆市行政区域内除长江水利委员会管辖权限以外的国家基本水文测站,在其上下游各20公里河道管理范围内建设影响水文监测的工程。
3.区县(自治县)审批范围
河道管理范围内建设项目工程建设方案审批、水工程建设规划同意书审核:除市级及以上审批的其他涉河建设项目或水工程建设项目。
(二)准予许可条件
1.水工程建设规划同意书审核。
(1)水工程建设规模、任务符合流域综合规划和防洪规划的总体要求,或审查通过的专题论证报告。
(2)建设规模等级(别)和标准符合《防洪标准》及其他有关技术和管理规定的要求。
(3)不影响其他水工程,或者有消除影响的补救措施。
2.河道管理范围内建设项目工程建设方案审批。
(1)遵循确有必要、无法避让、确保安全原则的涉河建设项目。
(2)符合江河流域综合规划、防洪规划、河道治理规划、岸线保护与开发利用规划等规划要求。
(3)符合防洪标准和有关技术要求。
3.国家基本水文测站上下游建设影响水文监测工程的审批
(1)工程对水文监测的影响较小,或者通过建设单位采取的补救措施能有效减少影响。
(2)建设单位采取的补救措施可行。
八、禁止性要求
(一)河道管理范围内建设项目工程建设方案审批。
1.对河道泄洪能力、河势稳定、河道冲淤变化、堤防护岸和其它水工程安全、防汛抢险、供水、水环境安全、第三人合法水事权益存在不利影响,或有不利影响采取相应补救措施不能消除或减轻至可接受范围。
2.建设项目防御洪涝的设防标准与措施不适当。
(二)水工程建设规划同意书审核
1.水工程建设规模、任务等不符合流域综合规划和防洪规划的总体要求。
2.建设规模等级(别)和标准不符合《防洪标准》及其他有关技术和管理规定的要求。
3.影响其他水工程,或者消除影响的补救措施不合理、不可行。
(三)国家基本水文测站上下游建设影响水文监测的工程审批。
1.对水文监测影响程度的分析评价不真实、不准确。
2.建设单位采取的措施不可行。
3.工程对水文监测的影响较大,且不能通过建设单位采取的措施补救。
九、申请材料目录
|
序号 |
提交材料名称 |
纸质/ 电子 |
纸质/ 电子份数 |
备注 |
|
1 |
洪水影响评价类审批申请表 |
电子 |
1份 |
|
|
2 |
洪水影响评价报告 |
纸质 |
10份 |
1.附:涉河建设项目的(预)可行性研究报告(项目申请报告、备案材料)或初步设计报告及其审查意见或批复(只编制项目建议书的涉河建设项目,提交项目建议书及其审查意见或批复); 2.附:建设项目所依据的文件; 3.电子光盘2张。 |
|
3 |
第三方协议书 |
电子 |
1份 |
建设项目与第三方有利害关系的,提供项目法人与第三方达成的协议书或其他文件。 |
注:涉密项目按国家保密规定执行。
十、申请接收
申请人可通过重庆市网上办事大厅(https://zwykb.cq.gov.cn/)工程建设项目审批板块提交电子材料,采取窗口报送、邮寄等方式提交纸质材料;也可直接到窗口申请和提交纸质材料。地址和联系电话详见附件1和附件2。
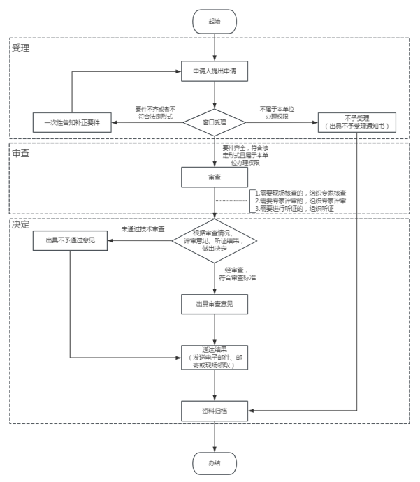
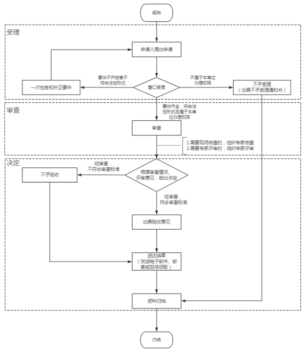
十一、办理基本流程
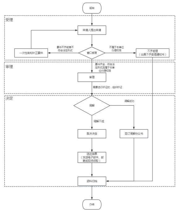
(一)受理:由重庆市水行政主管部门政务服务窗口统一收件,并在3个工作日内对申请做出处理,制作受理通知书、不予受理通知书或补正通知书。
(二)审查:重庆市水行政主管部门对申请材料进行全面审查,组织专家评审(含现场踏勘),材料满足相关要求的提出审查意见;材料不满足相关要求的,提出修改意见,项目法人按要求修改完善材料,重庆市水行政主管部门组织专家复核,并提出复核意见。若需要听证的,由重庆市水行政主管部门组织听证。
(三)决定:经审查,符合条件的,重庆市水行政主管部门出具准予许可决定;不符合条件的,重庆市水行政主管部门出具不予许可决定。
十二、办理方式
网上办理、窗口办理。
十三、办结时限
(一)法定时限:20个工作日。
(二)承诺时限:7个工作日(不含现场核查、专家评审、听证等时间)。特殊情况经重庆市水行政主管部门负责人同意,并与服务对象协商,可以延长5个工作日。
(三)专家评审时限:不超过15个工作日(从向专家发送评审资料开始到专家组提交正式评审意见),但申请人对有关材料进行补充完善的时间除外。
(四)补充完善时限:专家评审过程中,若报告原则性通过专家评审但需修改完善的,则申请人需在专家评审会后20个工作日内提交完善后的报告,逾期未报,则该申请事项作退件处理。
十四、收费依据及标准
不收费。
十五、审批结果
行政许可决定。
十六、结果送达
申请人可到重庆市水行政主管部门政务服务窗口领取或通过电子邮件获取许可决定,也可联系政务服务窗口申请邮寄领取。
十七、申请人权利和义务
详见附件3。
十八、咨询途径
申请人可选择现场咨询或电话咨询,详见附件1和附件2。
十九、投诉渠道
申请人可选择电话投诉或现场投诉,详见附件1和附件2。
二十、办公地址和时间
办事大厅地址和办公时间详见附件1和附件2。
二十一、办理进程和结果公开查询
重庆市网上办事大厅。
二十二、备注
(一)河道管理范围是按重庆市人民政府办公厅《关于印发重庆市河道管理范围划定管理办法的通知》(渝府办发〔2016〕224号)执行。
(二)建设项目开工前,申请人应将施工计划报水行政主管部门,施工过程中应接受水行政主管部门的核查。工程建设必须按审批文件的要求施工,不得越线施工。
(三)工程施工完毕,项目法人应及时向河道主管机关报送有关竣工资料,竣工验收必须有河道主管机关参加。
附录:1.流程图
2.洪水影响评价类审批申请表
附录1
流程图

附录2
洪水影响评价类审批申请表
申请单位: (盖章)
申请日期: 年 月 日
填写说明
1.本申请表为建设单位申请洪水影响评价类审批的格式文本。
2.“工程总体布置”一栏需对工程总体布置情况进行说明并附工程布置图。
3.建设单位应当认真如实填报。区(县)水行政主管部门的意见应当客观明确。
4.洪水影响评价类审批分为三个子项(水工程建设规划同意书审核、河道管理范围内建设项目工程建设方案审批、国家基本水文测站上下游建设影响水文监测的工程审批),申请人可根据实际情况选择其中的一项或几项进行填写。
|
以下栏目由建设单位填写 | |||||||
|
工程名称 |
| ||||||
|
建设单位名称 |
| ||||||
|
法定代表人 |
|
职务 |
| ||||
|
单位性质 |
|
行业类别 |
| ||||
|
通讯地址 |
|
邮政编码 |
| ||||
|
联 系 人 |
|
联系电话 |
|
电子信箱 |
| ||
|
主管部门 |
| ||||||
|
工 程 概 况 | |||||||
|
1、工程建设地址
2、工程建设任务
3、工程建设规模
4、工程等级(别)
5、工程标准
6、工程投资
| |||||||
|
以下由建设单位填写 |
|
水工程建设规划同意书审核主要填写工程总体布置
|
|
河道管理范围内建设项目工程建设方案审批主要填写涉河建设方案
|
|
国家基本水文测站上下游建设影响水文监测的工程审批主要填写水文站基本情况及主要影响
|
|
建设单位签章:
负责人(单位印章) (签章) 年月日 |
|
以下栏目由有关水行政主管部门填写 |
|
有关区(县)水行政主管部门意见: 同意。
不同意。具体理由如下:
负责人(单位印章) (签章) 年月日 |
一、适用范围
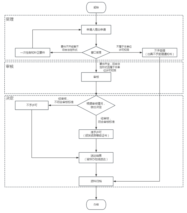
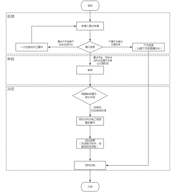
适用于重庆市水行政主管部门审批权限范围内水利基建项目初步设计文件审批(含设计变更)的申请和办理。
二、事项审查类型
先审后批。
三、审批依据
(一)《中华人民共和国水法》(第六届全国人民代表大会常务委员会第二十四次会议通过,中华人民共和国主席令第六十一号公布,第十二届全国人民代表大会常务委员会第二十一次会议第二次修正,中华人民共和国主席令第四十八号)第四十五条。
(二)《国务院对确需保留的行政审批项目设定行政许可的决定》(国务院令第412号)第172项。
(三)《政府投资条例》(国务院令第712号)第九条、第十一条。
(四)《水行政许可实施办法》(水利部令第23号)。
(五)《水利工程建设程序管理暂行规定》(水建〔1998〕16号发布,水利部令第50号修正)。
(六)《水利工程设计变更管理暂行办法》(水规计〔2020〕283号)第十六条。
(七)《重庆市水利工程管理条例》(重庆市人民代表大会常务委员会公告第五十七号发布,重庆市人民代表大会常务委员会公告〔五届〕第202号修正)第十三条。
(八)《重庆市政府投资管理办法》(渝府令〔2020〕339号)第十三条。
(九)《国家发展改革委关于下放政府出资水利项目审批事项的通知》(发改农经〔2017〕2296号)。
(十)《国家发展改革委 水利部关于印发水利领域相关中央预算内投资专项管理办法的通知》(发改农经规〔2021〕1880号)。
(十一)《重庆市人民政府关于发布重庆市政府核准的投资项目目录(2017年本)的通知》(渝府发〔2017〕18号)第一部分(农业水利)。
(十二)《重庆市水利局关于进一步明确重点水利工程建设管理权限的通知》(渝水建〔2022〕4号)。
(十三)《重庆市水利局 重庆市发展和改革委员会 重庆市财政局关于加强新时期重点水利工程建设管理及投资控制的通知》(渝水建〔2022〕6号)第三部分第二项。
四、受理机构
重庆市水行政主管部门。
五、决定机构
重庆市水行政主管部门。
六、数量限制
无数量限制。
七、申请条件
(一)申请人条件
1.审批对象:水利工程建设项目主管部门或建设单位。
2.市级审批范围
(1)国家下放我市的项目:库容小于10亿立方米且坝高低于70米,不涉及跨国界、跨省(区、市)水资源配置调整的大型水库项目。
(2)中型水库、中型引调水、流域面积3000平方公里以上的江河治理项目。
(3)大型(除水利部直属工程)、中型病险水库(闸)除险加固工程及经市政府或相关市级主管部门同意直接编制初步设计报告的其他市级审批项目。
(4)新建大型灌区项目。
(5)市水利局审批初步设计的重大设计变更的项目。
(6)有特殊规定的从其文件规定。
3.区县(自治县)审批范围
(1)除国家、市级审批范围外的水利水电工程。
(2)区县水行政主管部门审批初步设计的重大设计变更的项目。
(3)项目主管部门认为需要审批的一般设计变更的项目。
(4)除需市级以上投资补助外的建设项目,万州区在直接管理范围内具有市级审批权限。
(5)重庆两江新区在直管区域内、西部科学城重庆高新区在管理范围内具有市级审批权限。
(二)准予许可条件
1.申请项目的可行性研究报告已批复。
2.初步设计报告编制单位的资质符合现行的《工程设计资质标准》和《工程勘察资质标准》规定。
3.初步设计报告章节及附图、附件的完整性符合现行的《水利水电工程初步设计报告编制规程》要求。
4.符合流域综合规划和专项规划。
5.工程建设任务与可行性研究批复文件一致,工程建设规模无重大变化。
6.初步设计报告技术深度满足现行《工程建设标准强制性条文(水利工程部分)》的要求,通过技术审查。
7.初步设计提出的投资概算原则上不超过经批准的可行性研究报告提出的投资估算10%。
八、禁止性要求
无。
九、申请材料目录
|
序号 |
提交材料名称 |
纸质/电子 |
纸质/ 电子份数 |
备注 |
|
1 |
关于审批××工程初步设计报告的请示 |
电子 |
1份 |
1.非设计变更项目时提供; 2.附件须包含:资金筹措文件、项目建设及建成投入使用后的管理机构批复文件、管理维护经费承诺文件。 |
|
2 |
关于审批××工程初步设计变更报告的请示 |
电子 |
1份 |
1.设计变更项目时提供; 2.附件须包含:资金筹措文件、项目建设及建成投入使用后的管理机构批复文件、管理维护经费承诺文件。 |
|
3 |
水利水电工程初步设计报告(实施方案) |
纸质 |
20份 |
1.非设计变更项目时提供; 2.工程地质、投资概算等专题报告和图集单行本; 3.电子光盘2张。 |
|
4 |
水利水电工程初步设计变更报告 |
纸质 |
20份 |
1.设计变更项目时提供; 2.工程地质、投资概算等专题报告和图集单行本; 3.电子光盘2张。 |
注:涉密项目按国家保密规定执行。
十、申请接收
申请人可通过重庆市网上办事大厅(https://zwykb.cq.gov.cn/)工程建设项目审批板块提交电子材料,采取窗口报送、邮寄等方式提交纸质材料;也可直接到窗口申请和提交纸质材料。地址和联系电话详见附件1和附件2。
十一、办理基本流程
(一)受理:由重庆市水行政主管部门政务服务窗口统一收件,并在3个工作日内对申请做出处理,制作受理通知书、不予受理通知书或补正通知书。
(二)审查:重庆市水行政主管部门对申请材料进行全面审查,组织专家评审(含现场踏勘),材料满足相关要求的提出审查意见;材料不满足相关要求的,提出修改意见,项目法人按要求修改完善材料,重庆市水行政主管部门组织专家复核,并提出复核意见。若需要听证的,由重庆市水行政主管部门组织听证。
(三)决定:经审查,符合条件的,重庆市水行政主管部门出具准予许可决定;不符合条件的,重庆市水行政主管部门出具不予许可决定。
十二、办理方式
网上办理、窗口办理。
十三、办结时限
(一)法定时限:20个工作日。
(二)承诺时限:10个工作日(不含专家评审、听证等时间)。特殊情况经重庆市水行政主管部门负责人同意,并与服务对象协商,可以延长10个工作日。
(三)专家评审时限:不超过20个工作日(从向专家发送评审资料开始到专家组提交正式评审意见),但申请人对有关材料进行补充完善的时间除外。
(四)补充完善时限:专家评审过程中,若报告原则性通过专家评审但需修改完善的,则申请人需在专家评审会后20个工作日内提交完善后的报告,逾期未报,则该申请事项作退件处理。
十四、收费依据及标准
不收费。
十五、审批结果
行政许可决定。
十六、结果送达
申请人可到重庆市水行政主管部门政务服务窗口领取或通过电子邮件获取许可决定,也可联系政务服务窗口申请邮寄领取。
十七、申请人权利和义务
详见附件3。
十八、咨询途径
申请人可选择现场咨询或电话咨询,详见附件1和附件2。
十九、投诉渠道
申请人可选择电话投诉或现场投诉,详见附件1和附件2。
二十、办公地址和时间
办事大厅地址和办公时间详见附件1和附件2。
二十一、办理进程和结果公开查询
重庆市网上办事大厅。
附录:1. 流程图
3. 关于审批××工程初步设计变更报告的请示
附录1
流程图

附录2
关于审批××工程初步设计报告的请示
××××:
工程已经完成初步设计报告编制,按照行政许可相关规定,现将 工程初步设计报告呈请审批,项目基本情况如下:
一、项目名称
二、项目法人
三、项目建设地址
四、工程建设任务和规模
五、工程选址、工程总布置及主要建筑物
(一)工程等级及洪水标准
(二)建筑物位置及型式
(三)工程总布置
(四)主要建筑物设计
六、建设征地与移民安置
七、总投资及资金来源
八、建设工期
当否,请批示。
附件: 工程初步设计报告
申请单位(盖章)
年 月 日
(联系人: ;联系电话:(手机))
附录3
关于审批××工程初步设计变更报告的请示
××××:
工程已经完成初步设计变更报告编制,按照行政许可相关规定,现将 工程初步设计变更报告呈请审批,项目基本情况如下:
一、项目名称
二、项目法人
三、项目建设地址
四、工程建设任务和规模
五、工程选址、工程总布置及主要建筑物
(一)工程等级及洪水标准
(二)建筑物位置及型式
(三)工程总布置
(四)主要建筑物设计
六、建设征地与移民安置
七、总投资及资金来源
八、建设工期
当否,请批示。
附件: 工程初步设计变更报告
申请单位(盖章)
年 月 日
(联系人: ;联系电话:(手机))
一、适用范围
适用于重庆市水行政主管部门审批权限范围内河道采砂许可的申请和办理。
二、事项审查类型
先审后批。
三、审批依据
(一)《中华人民共和国水法》(第六届全国人民代表大会常务委员会第二十四次会议通过,中华人民共和国主席令第六十一号公布,第十二届全国人民代表大会常务委员会第二十一次会议第二次修正,中华人民共和国主席令第四十八号)第三十九条。
(二)《中华人民共和国长江保护法》(第十三届全国人民代表大会常务委员会第二十四次会议通过,中华人民共和国主席令第六十五号公布)第二十八条。
(三)《中华人民共和国河道管理条例》(国务院令第3号发布,国务院令第698号修订)第二十五条第一项。
(四)《长江河道采砂管理条例》(国务院令第320号公布,国务院令第764号修订)第九条、第十条、第十一条、第十五条。
(五)《长江河道采砂管理条例实施办法》(水利部令第56号)第九条、第十条、第十一条、第十二条、第十三条、第十四条、第十五条、第十六条。
(六)《重庆市河道管理条例》(重庆市人民代表大会常务委员会公告〔五届〕第202号)第二十七条、第二十八条。
(七)《重庆市河道采砂管理办法》(渝府令〔2016〕310号)第十三条、第十四条、第十六条、第十九条、第二十条、第二十一条。
(八)《水利部关于河道采砂管理工作的指导意见》(水河湖〔2019〕58号)。
四、受理机构
重庆市水行政主管部门。
五、决定机构
重庆市水行政主管部门。
六、数量限制
不超过采砂规划控制指标。
七、申请条件
(一)申请人条件
1.审批对象:获得河道采砂开采权的企业法人或者个体工商户。
2.市级审批范围
长江干流河道(已委托区县水行政主管部门审查批准)。
3.区县(自治县)审批范围
(1)长江干流河道(市水利局委托区县水行政主管部门审查批准)。
(2)长江干流以外河道。
(二)准予许可条件
1.符合法律、法规、规章和规范性文件规定,符合规程、规范和技术标准要求。
2.符合河道采砂规划确定的可采区和可采期、采砂控制总量等要求。
3.符合规定的作业方式。
4.符合采砂船只数量的控制要求。
5.采砂船舶、船员证书齐全。
6.有符合要求的采砂设备和采砂技术人员。
7.无非法采砂失信行为和不良记录。
8.符合区县(自治县)水行政主管部门管理要求。
八、禁止性要求
申请河道采砂,采砂申请有下列情形之一的,不予批准:
(一)长江干流:采砂设备功率长寿河段以下(含长寿)超过1250千瓦,长寿河段以上超过350千瓦,不具备平缓移动的开采作业方式的。
(二)采砂船舶未按规定标明船名、船号的。
(三)未安装符合要求的采砂船舶监控设备的。
(四)无降低或者消除不利影响的保证措施的。
九、申请材料目录
|
序号 |
提交材料名称 |
纸质/电子 |
纸质/电子份数 |
备注 |
|
1 |
河道采砂许可申请表 |
电子 |
1份 |
|
|
2 |
砂石开采权成交确认书(或者中标通知书) |
电子 |
1份 |
采取招投标、拍卖、其他方式时提供。 |
|
3 |
缴费凭证 |
电子 |
1份 |
|
|
4 |
采砂船舶、船舶检验证书及船员(采砂技术人员)证书 |
电子 |
1份 |
作业方式为水采、混合采时提供。 |
|
5 |
采砂机具证件资料 |
电子 |
1份 |
作业方式为旱采、混合采时提供。 |
|
6 |
出让协议 |
电子 |
1份 |
包括:1.河道采砂履行义务承诺; 2.申请人与第三者有利害关系的,与第三者达成的协议。 |
|
7 |
营业执照 |
电子 |
1份 |
系统获取。 |
注:涉密项目按国家保密规定执行。
十、申请接收
申请人可通过重庆市网上办事大厅(https://zwykb.cq.gov.cn/)提交电子材料。地址和联系电话详见附件1和附件2。
十一、办理基本流程
(一)受理:由区县(自治县)水行政主管部门政务服务窗口统一收件,并在3个工作日内对申请做出处理,制作受理通知书、不予受理通知书或补正通知书。
(二)审核:区县(自治县)水行政主管部门对申请材料进行审核。
(三)决定:符合条件的,重庆市水行政主管部门出具河道采砂许可证(电子证照)。
十二、办理方式
网上办理、窗口办理。
十三、办结时限
(一)采取拍卖、招标或挂牌方式
1.法定时限:20个工作日。
2.承诺时限:5个工作日。特殊情况经区县(自治县)水行政主管部门负责人同意,并与服务对象协商,可以延长5个工作日。
(二)采取直接许可方式
1.法定时限:15个工作日。
2.承诺时限:5个工作日。特殊情况经区县(自治县)水行政主管部门负责人同意,并与服务对象协商,可以延长5个工作日。
十四、收费依据及标准
不收费。
十五、审批结果
河道采砂许可证(电子证照)。
十六、结果送达
区县(自治县)水行政主管部门通过渝快办推送河道采砂许可证(电子证照)。
十七、申请人权利和义务
详见附件3。
十八、咨询途径
申请人可选择现场咨询或电话咨询,详见附件1和附件2。
十九、投诉渠道
申请人可选择电话投诉或现场投诉,详见附件1和附件2。
二十、办公地址和时间
办事大厅地址和办公时间详见附件1和附件2。
重庆市网上办事大厅。
附录:1.流程图
附录1

附录2
河道采砂许可申请表
|
申请单位(或个人)名称 |
|
法定代表人(或申请 个人)照片 | |||||||||||||||||||
|
申请单位(或个人)办公地址 |
| ||||||||||||||||||||
|
法定代表人(或申请个人) |
姓名 |
| |||||||||||||||||||
|
身份证号 |
|
电话 |
| ||||||||||||||||||
|
企业法人 营业执照 |
统一社会信用代码 |
| |||||||||||||||||||
|
许可方式 |
拍卖□ 招投标□ 统一开采□ 其他□ |
出让期限 |
年月日至年月日 | ||||||||||||||||||
|
开采时间 |
年月日至年月日 |
作业方式 |
船采□其他机械□人工□ | ||||||||||||||||||
|
采砂地点 |
采区名称 |
|
采区所在地 |
|
区县(自治县) |
| |||||||||||||||
|
采砂范围 (控制坐标) |
河流名称 |
|
左岸□右岸□ |
控制开采高程(长江干流) |
| ||||||||||||||||
|
航道里程 |
距离宜昌km至km |
地名界限 |
至 | ||||||||||||||||||
|
控制坐标 |
X |
|
|
|
|
| |||||||||||||||
|
Y |
|
|
|
|
| ||||||||||||||||
|
申请开采量 |
总量 |
万吨 |
开采性质 |
经营□ 非经营□ |
种类 |
河沙□ 卵石□ 砂卵石□ | |||||||||||||||
|
弃料处理方案 |
|
申请类别 |
新办□续办□换船□ | ||||||||||||||||||
|
采砂船舶基本情况 |
船名 |
|
船籍港 |
|
船舶类型 |
吸砂船□ 挖石船□工程船□ | |||||||||||||||
|
主要船员持证情况 |
序号 |
工种 |
姓名 |
船员服务簿注册 |
船员适任证书号 |
发证机构 | |||||||||||||||
|
1 |
|
|
|
|
| ||||||||||||||||
|
2 |
|
|
|
|
| ||||||||||||||||
|
船舶证及发证机关 |
序号 |
船舶证书名称 |
证书登记号 |
发证机关 |
有效期限 | ||||||||||||||||
|
1 |
船舶国籍证书 |
|
|
| |||||||||||||||||
|
2 |
船舶所有权登记证书 |
|
|
| |||||||||||||||||
|
3 |
内河船舶检验证书 |
|
|
| |||||||||||||||||
|
采砂船采砂设备功率(千瓦) |
|
船员数量(人数) |
| ||||||||||||||||||
|
有关附件说明 |
| ||||||||||||||||||||
|
申请单位:(盖章) 法人代表(或委托代理人):(签字) 经办人:申请日期:年月日 | |||||||||||||||||||||
一、适用范围
适用于重庆市水行政主管部门审批权限范围内农村集体经济组织修建水库审批的申请和办理。
二、事项审查类型
先审后批。
三、审批依据
(一)《中华人民共和国水法》(第六届全国人民代表大会常务委员会第二十四次会议通过,中华人民共和国主席令第六十一号公布,第十二届全国人民代表大会常务委员会第二十一次会议第二次修正,中华人民共和国主席令第四十八号)第二十五条第三款。
(二)《政府投资条例》(国务院令第712号)第九条、第十一条。
(三)《国务院对确需保留的行政审批项目设定行政许可的决定》(国务院令第412号)第172项。
(四)《水行政许可实施办法》(水利部令第23号)。
(五)《水利工程建设程序管理暂行规定》(水建〔1998〕16号发布,水利部令第50号修正)。
(六)《水利工程设计变更管理暂行办法》(水规计〔2020〕283号)第十六条、第十七条。
(七)《国家发展改革委关于下放政府出资水利项目审批事项的通知》(发改农经〔2017〕2296号)。
(八)《重庆市水利局关于进一步明确重点水利工程建设管理权限的通知》(渝水建〔2022〕4号)。
(九)《重庆市水利局 重庆市发展和改革委员会 重庆市财政局关于加强新时期重点水利工程建设管理及投资控制的通知》(渝水建〔2022〕6号)。
四、受理机构
重庆市水行政主管部门。
五、决定机构
重庆市水行政主管部门。
六、数量限制
无数量限制。
七、申请条件
(一)申请人条件
1.审批对象:农村集体经济组织。
2.市级审批范围
(1)中型水库。
(2)市水利局审批初步设计的重大设计变更的项目。
3.区县(自治县)审批范围
(1)小型水库。
(2)区县水行政主管部门审批初步设计的重大设计变更的项目。
(3)项目主管部门认为需要审批的一般设计变更的项目。
(4)万州区在辖区内、重庆两江新区在直管区域内、西部科学城重庆高新区在管理范围内具有市级审批权限。
(二)准予许可条件
1.申请项目的可行性研究报告已批复。
2.初步设计报告编制单位的资质符合现行的《工程设计资质标准》和《工程勘察资质标准》规定。
3.初步设计报告章节及附图、附件的完整性符合现行的《水利水电工程初步设计报告编制规程》要求。
4.符合流域综合规划和专项规划。
5.工程建设任务与可行性研究批复文件一致,工程建设规模无重大变化。
6.初步设计报告技术深度满足现行《工程建设标准强制性条文(水利工程部分)》的要求,通过技术审查。
7.初步设计提出的投资概算原则上不超过经批准的可行性研究报告提出的投资估算10%(涉及需要政府投资的项目)。
八、禁止性要求
工程建设项目不符合经批准的国家、流域、区域的战略规划、发展规划、综合规划、专业规划或专项规划等。
九、申请材料目录
|
序号 |
提交材料名称 |
纸质/ 电子 |
纸质/ 电子份数 |
备注 |
|
1 |
关于审批××工程初步设计报告的请示 |
电子 |
1份 |
1.非设计变更项目时提供; 2.附件须包含:资金筹措文件、项目建设及建成投入使用后的管理机构批复文件、管理维护经费承诺文件。 |
|
2 |
关于审批××工程初步设计变更报告的请示 |
电子 |
1份 |
1.设计变更项目时提供; 2.附件须包含:资金筹措文件、项目建设及建成投入使用后的管理机构批复文件、管理维护经费承诺文件。 |
|
3 |
水利水电工程初步设计报告(实施方案) |
纸质 |
20份 |
1.非设计变更项目时提供; 2.工程地质、投资概算等专题报告和图集单行本; 3.电子光盘2张。 |
|
4 |
水利水电工程初步设计变更报告 |
纸质 |
20份 |
1.设计变更项目时提供; 2.工程地质、投资概算等专题报告和图集单行本; 3.电子光盘2张。 |
注:涉密项目按国家保密规定执行。
十、申请接收
申请人可通过重庆市网上办事大厅(https://zwykb.cq.gov.cn/)工程建设项目审批板块提交电子材料,采取窗口报送、邮寄等方式提交纸质材料;也可直接到窗口申请和提交纸质材料。地址和联系电话详见附件1和附件2。
十一、办理基本流程
(一)受理:由重庆市水行政主管部门政务服务窗口统一收件,并在3个工作日内对申请做出处理,制作受理通知书、不予受理通知书或补正通知书。
(二)审查:重庆市水行政主管部门对申请材料进行全面审查,组织专家评审(含现场踏勘),材料满足相关要求的提出审查意见;材料不满足相关要求的,提出修改意见,项目法人按要求修改完善材料,重庆市水行政主管部门组织专家复核,并提出复核意见。若需要听证的,由重庆市水行政主管部门组织听证。
(三)决定:经审查,符合条件的,重庆市水行政主管部门出具准予许可决定;不符合条件的,重庆市水行政主管部门出具不予许可决定。
十二、办理方式
网上办理、窗口办理。
十三、办结时限
(一)法定时限:20个工作日。
(二)承诺时限:7个工作日(不含现场核查、专家评审、听证等时间)。特殊情况经重庆市水行政主管部门负责人同意,并与服务对象协商,可以延长5个工作日。
(三)专家评审时限:不超过20个工作日(从向专家发送评审资料开始到专家组提交正式评审意见),但申请人对有关材料进行补充完善的时间除外。
(四)补充完善时限:专家评审过程中,若报告原则性通过专家评审但需修改完善的,则申请人需在专家评审会后20个工作日内提交完善后的报告,逾期未报,则该申请事项作退件处理。
十四、收费依据及标准
不收费。
十五、审批结果
行政许可决定。
十六、结果送达
申请人可到重庆市水行政主管部门政务服务窗口领取或通过电子邮件获取许可决定,也可联系政务服务窗口申请邮寄领取。
十七、申请人权利和义务
详见附件3。
十八、咨询途径
申请人可选择现场咨询或电话咨询,详见附件1和附件2。
十九、投诉渠道
申请人可选择电话投诉或现场投诉,详见附件1和附件2。
二十、办公地址和时间
办事大厅地址和办公时间详见附件1和附件2。
二十一、办理进程和结果公开查询
重庆市网上办事大厅。
附录:1. 流程图
2. 关于审批××工程初步设计报告的请示
3. 关于审批××工程初步设计变更报告的请示
附录1
流程图

附录2
关于审批××工程初步设计报告的请示
××××:
工程已经完成初步设计报告编制,按照行政许可相关规定,现将 工程初步设计报告呈请审批,项目基本情况如下:
一、项目名称
二、项目法人
三、项目建设地址
四、工程建设任务和规模
五、工程选址、工程总布置及主要建筑物
(一)工程等级及洪水标准
(二)建筑物位置及型式
(三)工程总布置
(四)主要建筑物设计
六、建设征地与移民安置
七、总投资及资金来源
八、建设工期
当否,请批示。
附件: 工程初步设计报告
申请单位(盖章)
年 月 日
(联系人: ;联系电话:(手机))
附录3
关于审批××工程初步设计变更报告的请示
××××:
工程已经完成初步设计变更报告编制,按照行政许可相关规定,现将 工程初步设计变更报告呈请审批,项目基本情况如下:
一、项目名称
二、项目法人
三、项目建设地址
四、工程建设任务和规模
五、工程选址、工程总布置及主要建筑物
(一)工程等级及洪水标准
(二)建筑物位置及型式
(三)工程总布置
(四)主要建筑物设计
六、建设征地与移民安置
七、总投资及资金来源
八、建设工期
当否,请批示。
附件: 工程初步设计变更报告
申请单位(盖章)
年 月 日
(联系人: ;联系电话:(手机))
一、适用范围
适用于重庆市水行政主管部门审批权限范围内的城市建设填堵水域、废除围堤审批的申请和办理。
二、事项审查类型
先审后批。
三、审批依据
(一)《中华人民共和国防洪法》(第八届全国人民代表大会常务委员会第二十七次会议通过,中华人民共和国主席令第八十八号公布,第十二届全国人民代表大会常务委员会第二十一次会议第三次修正,中华人民共和国主席令第四十八号)第三十四条第三款。
(二)《重庆市水利局关于进一步明确重点水利工程建设管理权限的通知》(渝水建〔2022〕4号)。
(三)《重庆市水利局办公室关于转发〈堤防运行管理办法〉〈水闸运行管理办法〉的通知》(渝水办管〔2023〕25号)。
四、受理机构
重庆市水行政主管部门。
五、决定机构
重庆市水行政主管部门。
六、数量限制
无数量限制。
七、申请条件
(一)申请人条件
1.审批对象:建设单位或个人。
2.市级审批范围:水行政主管部门管理的跨区县(自治县)城市围堤的废除。
3.区县(自治县)审批范围:辖区内水行政主管部门管理的城市围堤的废除。
(二)准予许可条件
1.符合法律、法规、规章和规范性文件规定。
2.符合规程和规范、技术标准要求。
3.符合技术评审通过条件。
八、禁止性要求
(一)不符合江河流域综合规划和有关的国土及区域发展规划,对规划实施有影响。
(二)不符合有关防洪标准和技术要求。
(三)对河势稳定、水流形态、水质、冲淤变化有不利影响。
(四)影响第三人合法的水事权益。
(五)对堤防、护岸和其它水工程安全有影响。
(六)妨碍防汛抢险。
(七)建设项目防御洪涝的设防标准与措施不适当,妨碍行洪、降低河道泄洪能力。
(八)未征求建设项目所在城市水利部门意见。
九、申请材料目录
|
序号 |
提交材料名称 |
纸质/ 电子 |
纸质/ 电子份数 |
备注 |
|
1 |
城市建设废除围堤申请表 |
电子 |
1份 |
|
|
2 |
城市建设废除围堤审批技术论证报告书、防洪评价报告书 |
纸质 |
20份 |
|
|
3 |
补偿措施实施方案 |
纸质 |
20份 |
|
|
4 |
第三方协议书 |
电子 |
1份 |
建设项目与第三方有利害关系的,提供项目法人与第三方达成的协议书或其他文件。 |
注:涉密项目按国家保密规定执行。
十、申请接收
申请人可通过重庆市网上办事大厅(https://zwykb.cq.gov.cn/)工程建设项目审批板块提交电子材料,采取窗口报送、邮寄等方式提交纸质材料;也可直接到窗口申请和提交纸质材料。地址和联系电话详见附件1和附件2。
十一、办理基本流程
(一)受理:由重庆市水行政主管部门政务服务窗口统一收件,并在3个工作日内对申请做出处理,制作受理通知书、不予受理通知书或补正通知书。
(二)审查:重庆市水行政主管部门对申请材料进行全面审查,组织专家评审(含现场踏勘),材料满足相关要求的提出审查意见;材料不满足相关要求的,提出修改意见,项目法人按要求修改完善材料,重庆市水行政主管部门组织专家复核,并提出复核意见。若需要听证的,由重庆市水行政主管部门组织听证。
(三)决定:经审查,符合条件的,重庆市水行政主管部门出具准予许可决定;不符合条件的,重庆市水行政主管部门出具不予许可决定。
十二、办理方式
网上办理、窗口办理。
十三、办结时限
(一)法定时限:20个工作日(不含现场核查、专家评审、听证等时间)。
(二)承诺时限:6个工作日。
十四、收费依据及标准
不收费。
十五、审批结果
行政许可决定。
十六、结果送达
申请人可到重庆市水行政主管部门政务服务窗口领取或通过电子邮件获取许可决定,也可联系政务服务窗口申请邮寄领取。
十七、申请人权利和义务
详见附件3。
十八、咨询途径
申请人可选择现场咨询或电话咨询,详见附件1和附件2。
十九、投诉渠道
申请人可选择电话投诉或现场投诉,详见附件1和附件2。
二十、办公地址和时间
办事大厅地址和办公时间详见附件1和附件2。
二十一、办理进程和结果公开查询
重庆市网上办事大厅。
附录:1. 流程图
2. 城市建设废除围堤申请表
附录1
流程图

附录2
城市建设废除围堤申请表
|
申请 事项 |
| |||
|
申请单位(人) |
|
法定 代表人 |
| |
|
工程地址 |
| |||
|
申请人营业证号码(身份证号码) |
| |||
|
电话 |
|
电子邮箱 |
| |
|
申请事项的主要内容 |
| |||
|
我(单位)承诺本事项不涉及第三方利益,若涉及第三方利益,我(单位)承诺将妥善解决,并承担相应法律责任以及由此造成的损失。
申请人(签章): 年月日 | ||||
一、适用范围
适用于重庆市水行政主管部门审批权限范围内的水库大坝坝顶兼做公路的申请和办理。
二、事项审查类型
先审后批。
三、审批依据
(一)《水库大坝安全管理条例》(国务院令第77号发布,国务院令第698号修订)第三条、第十六条。
(二)《重庆市人民政府办公厅关于进一步加强水库安全运行管理工作的通知》(渝府办发〔2020〕93号)。
(三)《重庆市水利局关于进一步明确重点水利工程建设管理权限的通知》(渝水建〔2022〕4号)。
四、受理机构
重庆市水行政主管部门。
五、决定机构
重庆市水行政主管部门。
六、数量限制
无数量限制。
七、申请条件
(一)申请人条件
1.审批对象:建设单位或个人。
2.市级审批范围:水行政主管部门管理的大中型水库。
3.区县(自治县)审批范围:水行政主管部门管理的小型水库。
(二)准予许可条件
1.公路建设项目涉及大坝的设计图纸应满足水利水电设计规范。
2.公路建设影响第三人合法水事权益的,已签订协议。
3.坝顶兼做公路前,应通过技术审查单位审查。
八、禁止性要求
(一)影响大坝安全。
(二)不符合大坝管理要求。
(三)影响第三人合法水事权益。
九、申请材料目录
|
序号 |
提交材料名称 |
纸质/电子 |
纸质/电子 份数 |
备注 |
|
1 |
坝顶兼做公路审批申请表 |
电子 |
1份 |
|
|
2 |
公路建设项目涉及水库管理范围内的路段的设计报告和图纸 |
纸质 |
20份 |
需附交通管理部门(或城市主管部门)初审意见,内含:过坝交通限载规定。 |
|
3 |
坝顶兼做公路对大坝及附属设施的影响评价报告 |
纸质 |
20份 |
附:技术审查意见(由区县水行政主管部门审查)。 |
|
4 |
坝顶公路设施相关构筑物维护责任书 |
电子 |
1份 |
|
|
5 |
安全施工和完工后现场清理复原承诺书 |
电子 |
1份 |
|
|
6 |
第三方协议书 |
电子 |
1份 |
建设项目与第三方有利害关系的,提供项目法人与第三方达成的协议书或其他文件。 |
注:涉密项目按国家保密规定执行。
十、申请接收
申请人可通过重庆市网上办事大厅(https://zwykb.cq.gov.cn/)工程建设项目审批板块提交电子材料,采取窗口报送、邮寄等方式提交纸质材料;也可直接到窗口申请和提交纸质材料。地址和联系电话详见附件1和附件2。
十一、办理基本流程
(一)受理:由重庆市水行政主管部门政务服务窗口统一收件,并在3个工作日内对申请做出处理,制作受理通知书、不予受理通知书或补正通知书。
(二)审查:重庆市水行政主管部门对申请材料进行全面审查,组织专家评审(含现场踏勘),材料满足相关要求的提出审查意见;材料不满足相关要求的,提出修改意见,项目法人按要求修改完善材料,重庆市水行政主管部门组织专家复核,并提出复核意见。若需要听证的,由重庆市水行政主管部门组织听证。
(三)决定:经审查,符合条件的,重庆市水行政主管部门出具准予许可决定;不符合条件的,重庆市水行政主管部门出具不予许可决定。
十二、办理方式
网上办理、窗口办理。
十三、办结时限
(一)法定时限:20个工作日。
(二)承诺时限:6个工作日(不含现场核查、专家评审、听证等时间)。
(三)专家评审时限:不超过20个工作日(从向专家发送评审资料开始到专家组提交正式评审意见),但申请人对有关材料进行补充完善的时间除外。
(四)补充完善时限:专家评审过程中,若报告原则性通过专家评审但需修改完善的,则申请人需在专家评审会后20个工作日内提交完善后的报告,逾期未报,则该申请事项作退件处理。
十四、收费依据及标准
不收费。
十五、审批结果
行政许可决定。
十六、结果送达
申请人可到重庆市水行政主管部门政务服务窗口领取或通过电子邮件获取许可决定,也可联系政务服务窗口申请邮寄领取。
十七、申请人权利和义务
详见附件3。
十八、咨询途径
申请人可选择现场咨询或电话咨询,详见附件1和附件2。
十九、投诉渠道
申请人可选择电话投诉或现场投诉,详见附件1和附件2。
二十、办公地址和时间
办事大厅地址和办公时间详见附件1和附件2。
二十一、办理进程和结果公开查询
重庆市网上办事大厅。
附录1

附录2
|
申请 事项 |
| |||
|
申请单位(人) |
|
法定 代表人 |
| |
|
工程地址 |
| |||
|
申请人营业证号码(身份证号码) |
| |||
|
电话 |
|
电子邮箱 |
| |
|
申请事项的主要内容 |
| |||
|
我(单位)承诺本事项不涉及第三方利益,若涉及第三方利益,我(单位)承诺将妥善解决,并承担相应法律责任以及由此造成的损失。
申请人(签章): 年月日 | ||||
一、适用范围
适用于重庆市水行政主管部门审批权限范围内的堤顶、戗台兼做公路的申请和办理。
二、事项审查类型
先审后批。
三、审批依据
(一)《中华人民共和国河道管理条例》(国务院令第3号发布,国务院令第698号修订)第十五条。
(二)《重庆市水利局关于进一步明确重点水利工程建设管理权限的通知》(渝水建〔2022〕4号)。
四、受理机构
重庆市水行政主管部门。
五、决定机构
重庆市水行政主管部门。
六、数量限制
无数量限制。
七、申请条件
(一)申请人条件
1.审批对象:建设单位或个人。
2.市级审批范围:水行政主管部门管理的流域面积3000平方公里以上的大江大河堤防(护岸)工程。
3.区县(自治县)审批范围:水行政主管部门管理的除市水利局审批范围外的堤防(护岸)。
(二)准予许可条件
1.符合江河流域综合规划、防洪规划、河道治理规划、岸线保护与开发利用规划等规划要求,对规划实施无不利影响。
2.项目防御洪涝的设防标准与措施符合防洪(排涝)标准。
3.对河道泄洪能力、河势稳定、河道冲淤变化、堤防护岸和其它水工程安全、防汛抢险无不利影响或影响较小。
4.不影响第三人合法水事权益或已采取相应补救措施。
八、禁止性要求
(一)影响堤防安全。
(二)不符合堤防管理要求。
(三)影响第三人合法水事权益。
九、申请材料目录
|
序号 |
提交材料名称 |
纸质/ 电子 |
纸质/ 电子份数 |
备注 |
|
1 |
堤防(护岸)堤顶、戗台兼做公路 申请表 |
电子 |
1份 |
|
|
2 |
公路建设项目涉及水库管理范围内的路段的设计报告和图纸 |
纸质 |
20份 |
需附交通管理部门(或城市主管部门)初审意见,内含:交通限载规定。 |
|
3 |
堤顶、戗台兼做公路对堤防、大坝及其附属设施的影响评价报告 |
纸质 |
20份 |
附:技术审查意见(由区县水行政主管部门审查) |
|
4 |
堤顶、戗台公路设施构筑物维护 责任书 |
电子 |
1份 |
|
|
5 |
安全施工和完工后现场清理复原承诺书 |
电子 |
1份 |
|
|
6 |
第三方协议书 |
电子 |
1份 |
建设项目与第三方有利害关系的,提供项目法人与第三方达成的协议书或其他文件。 |
注:涉密项目按国家保密规定执行。
十、申请接收
申请人可通过重庆市网上办事大厅(https://zwykb.cq.gov.cn/)工程建设项目审批板块提交电子材料,采取窗口报送、邮寄等方式提交纸质材料;也可直接到窗口申请和提交纸质材料。地址和联系电话详见附件1和附件2。
十一、办理基本流程
(一)受理:由重庆市水行政主管部门政务服务窗口统一收件,并在3个工作日内对申请做出处理,制作受理通知书、不予受理通知书或补正通知书。
(二)审查:重庆市水行政主管部门对申请材料进行全面审查,组织专家评审(含现场踏勘),材料满足相关要求的提出审查意见;材料不满足相关要求的,提出修改意见,项目法人按要求修改完善材料,重庆市水行政主管部门组织专家复核,并提出复核意见。若需要听证的,由重庆市水行政主管部门组织听证。
(三)决定:经审查,符合条件的,重庆市水行政主管部门出具准予许可决定;不符合条件的,重庆市水行政主管部门出具不予许可决定。
十二、办理方式
网上办理、窗口办理。
十三、办结时限
(一)法定时限:20个工作日。
(二)承诺时限:6个工作日(不含现场核查、专家评审、听证等时间)。
(三)专家评审时限:不超过20个工作日(从向专家发送评审资料开始到专家组提交正式评审意见),但申请人对有关材料进行补充完善的时间除外。
(四)补充完善时限:专家评审过程中,若报告原则性通过专家评审但需修改完善的,则申请人需在专家评审会后20个工作日内提交完善后的报告,逾期未报,则该申请事项作退件处理。
十四、收费依据及标准
不收费。
十五、审批结果
行政许可决定。
十六、结果送达
申请人可到重庆市水行政主管部门政务服务窗口领取或通过电子邮件获取许可决定,也可联系政务服务窗口申请邮寄领取。
十七、申请人权利和义务
详见附件3。
十八、咨询途径
申请人可选择现场咨询或电话咨询,详见附件1和附件2。
十九、投诉渠道
申请人可选择电话投诉或现场投诉,详见附件1和附件2。
二十、办公地址和时间
办事大厅地址和办公时间详见附件1和附件2。
二十一、办理进程和结果公开查询
重庆市网上办事大厅。
附录1

附录2
|
申请 事项 |
| |||
|
申请单位(人) |
|
法定 代表人 |
| |
|
工程地址 |
| |||
|
申请人营业证号码(身份证号码) |
| |||
|
电话 |
|
电子邮箱 |
| |
|
申请事项的主要内容 |
| |||
|
我(单位)承诺本事项不涉及第三方利益,若涉及第三方利益,我(单位)承诺将妥善解决,并承担相应法律责任以及由此造成的损失。
申请人(签章): 年月日 | ||||
一、适用范围
适用于重庆市水行政主管部门审批权限范围内的水库大坝管理和保护范围内修建码头、渔塘的申请和办理。
二、事项审查类型
先审后批。
三、审批依据
(一)《水库大坝安全管理条例》(国务院令第77号发布,国务院令第698号修订)第十七条。
(二)《水行政许可实施办法》(水利部令第23号)。
(三)《重庆市水利局关于进一步明确重点水利工程建设管理权限的通知》(渝水建〔2022〕4号)。
四、受理机构
重庆市水行政主管部门。
五、决定机构
重庆市水行政主管部门。
六、数量限制
无数量限制。
七、申请条件
(一)申请人条件
1.审批对象:建设单位或个人。
2.市级审批范围:水行政主管部门管理的大中型水库。
3.区县(自治县)审批范围:水行政主管部门管理的小型水库。
(二)准予许可条件
1.大坝管理和保护范围内修建码头、渔塘,码头修建地点不在水库大坝坝体上。
2.渔塘、码头修建地点与大坝坝脚和泄洪、输水建筑物保持一定距离,不影响大坝工程运行安全、防洪安全和工程管理、防汛抢险工作。
3.修建渔塘、码头不影响水库水质。
八、禁止性要求
(一)影响大坝安全。
(二)不符合大坝管理要求。
(三)影响第三人合法水事权益。
九、申请材料目录
|
序号 |
提交材料名称 |
纸质/ 电子 |
纸质/ 电子份数 |
备注 |
|
1 |
大坝管理和保护范围内修建码头、渔塘许可申请表 |
电子 |
1份 |
|
|
2 |
码头、渔塘建设方案及图纸 |
纸质 |
20份 |
|
|
3 |
项目对大坝及其附属结构的影响评价报告 |
纸质 |
20份 |
|
|
4 |
电子 |
1份 |
需由水库管理单位出具,经区县水行政主管部门同意。 | |
|
5 |
第三方协议书 |
电子 |
1份 |
建设项目与第三方有利害关系的,提供项目法人与第三方达成的协议书或其他文件。 |
十、申请接收
申请人可通过重庆市网上办事大厅(https://zwykb.cq.gov.cn/)工程建设项目审批板块提交电子材料,采取窗口报送、邮寄等方式提交纸质材料;也可直接到窗口申请和提交纸质材料。地址和联系电话详见附件1和附件2。
十一、办理基本流程
(一)受理:由重庆市水行政主管部门政务服务窗口统一收件,并在3个工作日内对申请做出处理,制作受理通知书、不予受理通知书或补正通知书。
(二)审查:重庆市水行政主管部门对申请材料进行全面审查,组织专家评审(含现场踏勘),材料满足相关要求的提出审查意见;材料不满足相关要求的,提出修改意见,项目法人按要求修改完善材料,重庆市水行政主管部门组织专家复核,并提出复核意见。若需要听证的,由重庆市水行政主管部门组织听证。
(三)决定:经审查,符合条件的,重庆市水行政主管部门出具准予许可决定;不符合条件的,重庆市水行政主管部门出具不予许可决定。
十二、办理方式
网上办理、窗口办理。
十三、办结时限
(一)法定时限:20个工作日。
(二)承诺时限:6个工作日(不含现场核查、专家评审、听证等时间)。
十四、收费依据及标准
不收费。
十五、审批结果
行政许可决定。
十六、结果送达
申请人可到重庆市水行政主管部门政务服务窗口领取或通过电子邮件获取许可决定,也可联系政务服务窗口申请邮寄领取。
十七、申请人权利和义务
详见附件3。
十八、咨询途径
申请人可选择现场咨询或电话咨询,详见附件1和附件2。
十九、投诉渠道
申请人可选择电话投诉或现场投诉,详见附件1和附件2。
二十、办公地址和时间
办事大厅地址和办公时间详见附件1和附件2。
二十一、办理进程和结果公开查询
重庆市网上办事大厅。
附录:1.流程图
2.大坝管理和保护范围内修建码头、渔塘许可申请表
附录1

附录2
大坝管理和保护范围内修建码头、渔塘许可
申请表
|
事项 |
| |||
|
申请单位(人) |
|
法定 代表人 |
| |
|
工程地址 |
| |||
|
申请人营业证号码(身份证号码) |
| |||
|
电话 |
|
电子邮箱 |
| |
|
申请事项的主要内容 |
| |||
|
我(单位)承诺本事项不涉及第三方利益,若涉及第三方利益,我(单位)承诺将妥善解决,并承担相应法律责任以及由此造成的损失。
申请人(签章): 年月日 | ||||
一、适用范围
适用于重庆市水行政主管部门审批权限范围内在河道管理范围内特定活动(不含涉河建设项目和采砂)审批的申请和办理。
二、事项审查类型
先审后批。
三、审批依据
(一)《中华人民共和国河道管理条例》(国务院令第3号发布,国务院令第698号修订)第二十五条。
(二)《水行政许可实施办法》(水利部令第23号)。
(三)《重庆市河道管理条例》(重庆市人民代表大会常务委员会公告〔五届〕第202号)第三十一条。
四、受理机构
重庆市水行政主管部门。
五、决定机构
重庆市水行政主管部门。
六、数量限制
无数量限制。
七、申请条件
(一)申请人条件
1.审批对象:建设单位或个人。
2.市级审批范围
(1)跨区县(自治县)河道管理范围内的特定活动。
①取土、淘金、弃置砂石或者淤泥。
②爆破、钻探、挖筑鱼塘。
③在河道滩地存放物料、进行生产经营活动。
④在河道滩地开采地下资源及进行考古发掘。
(2)三峡水库库区及库区以外长江、嘉陵江、乌江干流的清淤、疏浚等活动中存在取土、淘金、弃置砂石或者淤泥等情形的。
3.区县(自治县)审批范围
(1)市级审批权限外的所有特定活动。
(2)重庆两江新区在直管区域内具有市级审批权限〔不含跨区县(自治县)河道管理范围内特定活动〕。
(二)准予许可条件
1.符合水法律法规、生态敏感区相关法律法规以及生态红线管控要求。
2.符合流域综合规划及防洪规划、河流治理规划、岸线利用管理规划等规划要求,对规划实施无不利影响。
3.符合防洪(排涝)标准。
八、禁止性要求
(一)对河流岸线、河势稳定、水流形态、冲淤变化、河水水质等有不利影响。
(二)妨碍河道行洪,降低河道泄洪能力的。
(三)对堤防、护岸和其他水利工程和设施等有不利影响。
(四)对防汛抢险和水利管理等有不利影响。
(五)项目防御洪涝的设防标准与措施不当。
(六)对利益第三方有不利影响,或与利益第三方未达成协议的。
(七)长江经济带发展负面清单中禁止的行为活动。
九、申请材料目录
|
序号 |
提交材料名称 |
纸质/ 电子 |
纸质/ 电子份数 |
备注 |
|
1 |
河道管理范围内特定活动审批申请表 |
电子 |
1份 |
|
|
2 |
河道管理范围内特定活动方案报告 |
纸质 |
10份 |
1.附开展河道管理范围内特定活动所依据的文件; 2.电子光盘2张。 |
|
3 |
采矿许可文件 |
电子 |
1份 |
属于取土、淘金、钻探、开采地下资源活动类型时提供。 |
|
4 |
爆破作业许可文件 |
电子 |
1份 |
属于爆破活动类型时提供。 |
|
5 |
考古发掘许可文件 |
电子 |
1份 |
属于考古发掘活动类型时提供。 |
|
6 |
洪水影响评价类许可文件 |
电子 |
1份 |
属于堆放物料活动类型时提供。 |
|
7 |
行业主管部门批复文件 |
电子 |
1份 |
属于清淤,疏浚活动类型时提供。 |
|
8 |
第三方协议书 |
电子 |
1份 |
特定活动与第三方有利害关系的,提供申请人与第三方达成的协议书或其他文件。 |
注:涉密项目按国家保密规定执行。
十、申请接收
申请人可通过重庆市网上办事大厅(https://zwykb.cq.gov.cn/)提交电子材料,采取窗口报送、邮寄等方式提交纸质材料;也可直接到窗口申请和提交纸质材料。地址和联系电话详见附件1和附件2。
十一、办理基本流程
(一)受理:由重庆市水行政主管部门政务服务窗口统一收件,并在3个工作日内对申请做出处理,制作受理通知书、不予受理通知书或补正通知书。
(二)审查:重庆市水行政主管部门对申请材料进行全面审查,组织专家评审(含现场踏勘),材料满足相关要求的提出审查意见;材料不满足相关要求的,提出修改意见,项目法人按要求修改完善材料,重庆市水行政主管部门组织专家复核,并提出复核意见。若需要听证的,由重庆市水行政主管部门组织听证。
(三)决定:经审查,符合条件的,重庆市水行政主管部门出具准予许可决定;不符合条件的,重庆市水行政主管部门出具不予许可决定。
十二、办理方式
网上办理、窗口办理。
十三、办结时限
(一)法定时限:20个工作日。
(二)承诺时限:6个工作日(不含现场核查、专家评审、听证等时间)。特殊情况经重庆市水行政主管部门负责人同意,并与服务对象协商,可以延长5个工作日。
(三)专家评审时限:不超过15个工作日(从向专家发送评审资料开始到专家组提交正式评审意见),但申请人对有关材料进行补充完善的时间除外。
(四)补充完善时限:专家评审过程中,若报告原则性通过专家评审但需修改完善的,则申请人需在专家评审会后20个工作日内提交完善后的报告,逾期未报,则该申请事项作退件处理。
十四、收费依据及标准
不收费。
十五、审批结果
行政许可决定。
十六、结果送达
申请人可到重庆市水行政主管部门政务服务窗口领取或通过电子邮件获取许可决定,也可联系政务服务窗口申请邮寄领取。
十七、申请人权利和义务
详见附件3。
十八、咨询途径
申请人可选择现场咨询或电话咨询,详见附件1和附件2。
十九、投诉渠道
申请人可选择电话投诉或现场投诉,详见附件1和附件2。
二十、办公地址和时间
办事大厅地址和办公时间详见附件1和附件2。
二十一、办理进程和结果公开查询
重庆市网上办事大厅。
二十二、备注
(一)根据《重庆市河道管理条例》第三十一条规定的特定活动中的采砂由事项“河道采砂许可”实施审批,修建厂房或者其他建筑设施由事项“洪水影响评价类审批”实施审批。
(二)特定活动开工前,项目法人应将施工计划报水行政主管部门,施工过程中应接受水行政主管部门的核查。特定活动必须按审批文件的要求施工。
(三)工程施工完毕,项目法人应及时向水行政主管部门报送有关竣工资料,竣工验收必须有河道主管机关参加。
附录:1.流程图
2.河道管理范围内特定活动审批申请表
附录1
流程图

附录2
河道管理范围内特定活动审批申请表
|
申请单位 |
名称 |
|
法人代表 |
|
联系电话 |
|
|
地址 |
|
单位联系人电话 |
| |||
|
统一社会信用代码 |
|
单位联系人电子邮箱 |
| |||
|
申请个人 |
姓名 |
|
联系电话 |
| ||
|
居民身份证号码 |
|
电子邮箱 |
| |||
|
地址 |
| |||||
|
特定活动名称 |
|
主要活动内容 |
| |||
|
特定活动的名称河流 |
|
行政区域 |
| |||
|
特定活动地址 |
| |||||
|
高程范围(m) |
|
占用面积 |
| |||
|
对安全的影响及防汛措施 |
| |||||
|
对现场清理复原的承诺 |
| |||||
|
申请人或申请单位 (签字)(签章) 年月日年月日 | ||||||
|
区县水行政主管部门意见:
区县水行政主管部门(签章) 年月日 | ||||||
(备注:如以文件方式提出申请的,文件中应包含本表格的主要内容)
一、适用范围
适用于重庆市水利局审批权限范围内专用水文测站设立、撤销审批的申请和办理。
二、事项审查类型
先审后批。
三、审批依据
(一)《中华人民共和国水文条例》(国务院令第496号公布,国务院令第676号修订)第十五条。
(二)《水行政许可实施办法》(水利部令第23号)。
(三)《水文监测环境和设施保护办法》(水利部令第43号发布,水利部令第47号修正)第八条、第十九条。
(四)《水文站网管理办法》(水利部令第44号)第十一条、第十五条、第十六条、第十七条。
(五)《重庆市水文条例》(重庆市人民代表大会常务委员会公告〔2009〕第27号发布,重庆市人民代表大会常务委员会公告〔五届〕第13号修正)第十三条。
四、受理机构
重庆市水利局。
五、决定机构
重庆市水利局。
六、数量限制
无数量限制。
七、申请条件
(一)申请人条件
1.审批对象:建设单位。
2.市级审批范围:重庆市行政区域内,在长江水利委员会管辖权限以外的水行政主管部门管理的专用水文测站(不含经市水利局基本建设程序批准的专用水文测站)。
(二)准予许可条件
设立、撤销方案合理可行,测站具备监测条件,符合水文技术标准。
八、禁止性要求
(一)设立的专用水文测站与国家基本水文测站重复。
(二)设立、撤销必要性论证不充分。
九、申请材料目录
|
序号 |
提交材料名称 |
纸质/电子 |
纸质/电子份数 |
备注 |
|
1 |
关于设立(撤销)××专用水文测站的请示 |
电子 |
1份 |
|
|
2 |
××专用水文测站设立(撤销)技术论证报告 |
纸质 |
10份 |
电子光盘2张。 |
注:涉密项目按国家保密规定执行。
十、申请接收
申请人可通过重庆市网上办事大厅(https://zwykb.cq.gov.cn/)工程建设项目审批板块提交电子材料,采取窗口报送、邮寄等方式提交纸质材料;也可直接到窗口申请和提交纸质材料。地址和联系电话详见附件1。
十一、办理基本流程
(一)受理:由重庆市工程建设项目审批服务大厅水利工程窗口统一收件,并在3个工作日内对申请做出处理,制作受理通知书、不予受理通知书或补正通知书。
(二)审查:重庆市水利局对申请材料进行全面审查,组织专家评审(含现场踏勘),材料满足相关要求的提出审查意见;材料不满足相关要求的,提出修改意见,项目法人按要求修改完善材料,重庆市水利局组织专家复核,并提出复核意见。若需要听证的,由重庆市水利局组织听证。
(三)决定:经审查,符合条件的,重庆市水利局出具准予许可决定;不符合条件的,重庆市水利局出具不予许可决定。
十二、办理方式
网上办理、窗口办理。
十三、办结时限
(一)法定时限:20个工作日。
(二)承诺时限:5个工作日(不含现场核查、专家评审、听证等时间)办结,特殊情况经重庆市水利局负责人同意,并与服务对象协商,可以延长5个工作日。
(三)专家评审时限:不超过15个工作日(从向专家发送评审资料开始到专家组提交正式评审意见),但申请人对有关材料进行补充完善的时间除外。
(四)补充完善时限:专家评审过程中,若报告原则性通过专家评审但需修改完善的,则申请人需在专家评审会后20个工作日内提交完善后的报告,逾期未报,则该申请事项作退件处理。
十四、收费依据及标准
不收费。
十五、审批结果
行政许可决定。
十六、结果送达
申请人可到重庆市工程建设项目审批服务大厅水利工程窗口领取或通过电子邮件获取许可决定,也可联系水利工程窗口申请邮寄领取。
十七、申请人权利和义务
详见附件3。
十八、咨询途径
申请人可选择现场咨询或电话咨询,详见附件1。
十九、投诉渠道
申请人可选择电话投诉或现场投诉,详见附件1。
二十、办公地址和时间
办事大厅地址和办公时间详见附件1。
二十一、办理进程和结果公开查询
重庆市网上办事大厅。
附录:1.流程图
2.关于设立(撤销)××专用水文测站的请示
3.××专用水文测站设立(撤销)技术论证报告
附录1
流程图

附录2
关于设立(撤销)××专用
重庆市水利局:
××项目已经可研(初设)审批,其中需设立(撤销)××专用水文测站。该站位于××区(县)××乡(镇),×××河流,主要观测项目为:×××。××××年××月,我单位委托×××(单位)编制完成了《重庆市××专用水文测站设置技术论证报告》。
根据《中华人民共和国水文条例》有关规定,现将《重庆市××专用水文测站设置技术论证报告》报送你局,请审查批复。
妥否,请批示。
附件:可研(初设)批复
单位(盖章)
年 月 日
(联系人: ;联系电话: )
附录3
××专用水文测站
设立(撤销)技术论证报告
建设单位:
编制单位:
年 月 日
××专用水文测站
设立(撤销)技术论证报告
审 定:
审 核:
编制人员:
一、项目基本情况
(一)×××项目基本情况
项目基本情况:主要包括项目审批、审查情况,位置、主要建筑物等。项目可研或者初设是否包含专用水文测站。专用水文测站设立(撤销)的原因、目的、拟运行时间(如长期运行、10年、20年等)、作用和任务,建设(撤销)的必要性和可行性。专用水文测站设立(或撤销)对河道的影响,以及涉及的第三方搬迁、赔偿情况。
(二)流域概况和专用水文测站基本情况
包括流域气象、水文(如径流、泥沙、水位等)特征等情况。专用水文测站设立(撤销)位置、测验要素、所在河流情况,项目预计开工、完工时间等。
二、编制依据
(一)法律法规
(二)规程、规范和技术标准
(三)相关文件
三、××专用水文测站建设(撤销)方案
(一)测验河段站址选址依据、观测项目、测验设施布置(撤销无此项)。
(二)××专用水文测站基础设施建设(撤销)方案
简要概述包含测验河段基础设施、水位观测、流量及泥沙测验、降水、蒸发、生产生活用房、供水、供电、供暖、通信及其他基础设施建设(撤销)。
(三)××专用水文测站拟采取测验方案(撤销无此项)
简要概述水文测站拟采取的测验方案(设备大概选型)。
四、影响评价分析
结合建站(撤站)河流上已有水文测站情况,分析评价对国家基本水文测站等的影响。
五、工程投资概算和运行管理
包含投资概算、测验、通信方案,人员配备,运行管理方案等。(因重大工程建设影响导致水文测站迁移的,应当提出相应投资概算及增加运行管理成本的预算。)
六、××水文测站资料汇交
建站为论述资料汇交方式。
撤站为论述撤销前历年资料汇交情况。
七、结论
附图:1.水系图
2.站点位置图
一、适用范围
适用于重庆市水利局审批权限范围内一般水文测站设立和调整审批的申请和办理。
二、事项审查类型
先审后批。
三、审批依据
(一)《中华人民共和国水文条例》(国务院令第496号公布,国务院令第676号修订)第十四条、第十五条。
(二)《水行政许可实施办法》(水利部令第23号)。
(三)《水文监测环境和设施保护办法》(水利部令第43号发布,水利部令第47号修正)第八条。
(四)《水文站网管理办法》(水利部令第44号)第十二条、第十三条、第十四条。
(五)《重庆市水文条例》(重庆市人民代表大会常务委员会公告〔2009〕第27号发布,重庆市人民代表大会常务委员会公告〔五届〕第13号修正)第十一条。
四、受理机构
重庆市水利局。
五、决定机构
重庆市水利局。
六、数量限制
无数量限制。
七、申请条件
(一)申请人条件
1.审批对象:建设单位。
2.市级审批范围:重庆市行政区域内,在长江水利委员会管辖权限以外的一般水文测站。
(二)准予许可条件
1.有明确的测站设立和调整的原因和目的、作用和任务,确有设立或调整必要。
2.设立和调整方案合理、可行,符合水文技术标准。
3.因重大工程建设影响导致水文测站迁移的,应有相应投资概算及增加运行管理成本的预算和经费来源。
八、禁止性要求
(一)不符合水文站网布设原则。
(二)设立或调整必要性论证不充分。
(三)因工程建设致使水文测站改建的,水文测站改建后低于原标准。
九、申请材料目录
|
序号 |
提交材料名称 |
纸质/电子 |
纸质/电子份数 |
备注 |
|
1 |
关于设立(调整)××国家基本水文测站的请示 |
电子 |
1份 |
|
|
2 |
××国家基本水文测站设立(调整)技术论证报告 |
纸质 |
10份 |
电子光盘2张。 |
注:涉密项目按国家保密规定执行。
十、申请接收
申请人可通过重庆市网上办事大厅(https://zwykb.cq.gov.cn/)工程建设项目审批板块提交电子材料,采取窗口报送、邮寄等方式提交纸质材料;也可直接到窗口申请和提交纸质材料。地址和联系电话详见附件1。
十一、办理基本流程
(一)受理:由重庆市工程建设项目审批服务大厅水利工程窗口统一收件,并在3个工作日内对申请做出处理,制作受理通知书、不予受理通知书或补正通知书。
(二)审查:重庆市水利局对申请材料进行全面审查,组织专家评审(含现场踏勘),材料满足相关要求的提出审查意见;材料不满足相关要求的,提出修改意见,项目法人按要求修改完善材料,重庆市水利局组织专家复核,并提出复核意见。若需要听证的,由重庆市水利局组织听证。
(三)决定:经审查,符合条件的,重庆市水利局出具准予许可决定;不符合条件的,重庆市水利局出具不予许可决定。
十二、办理方式
网上办理、窗口办理。
十三、办结时限
(一)法定时限:20个工作日。
(二)承诺时限:5个工作日(不含现场核查、专家评审、听证等时间)。特殊情况经重庆市水利局负责人同意,可以延长5个工作日。
(三)专家评审时限:不超过15个工作日(从向专家发送评审资料开始到专家组提交正式评审意见),但申请人对有关材料进行补充完善的时间除外。
(四)补充完善时限:专家评审过程中,若报告原则性通过专家评审但需修改完善的,则申请人需在专家评审会后20个工作日内提交完善后的报告,逾期未报,则该申请事项作退件处理。
十四、收费依据及标准
不收费。
十五、审批结果
行政许可决定。
十六、结果送达
申请人可到重庆市工程建设项目审批服务大厅水利工程窗口领取或通过电子邮件获取许可决定,也可联系水利工程窗口申请邮寄领取。
十七、申请人权利和义务
详见附件3。
十八、咨询途径
申请人可选择现场咨询或电话咨询,详见附件1。
十九、投诉渠道
申请人可选择电话投诉或现场投诉,详见附件1。
二十、办公地址和时间
办事大厅地址和办公时间详见附件1。
二十一、办理进程和结果公开查询
重庆市网上办事大厅。
附录:1.流程图
2.关于设立(调整)××国家基本水文测站的请示
3.××国家基本水文测站设立(调整)技术论证报告
附录1
流程图

附录2
关于设立(调整)××国家基本
水文测站的请示
重庆市水利局:
根据×××规划(或者其它依据),我单位拟设立(调整)×××国家基本水文测站,建设地点位于×××区(县)×××乡(镇),×××河流,主要观测项目为:×××。我单位委托×××(单位)编制完成了《重庆市××国家基本水文测站设置技术论证报告》。
根据《中华人民共和国水文条例》等有关规定,现将《重庆市××国家基本水文测站设置技术论证报告》报送你局,请审查批复。
妥否,请批示。
附件:×××规划批复(或者其它依据)
单位(盖章)
年 月 日
(联系人: ,联系电话: )
附录3
××国家基本水文测站
设立(调整)技术论证报告
建设单位:
编制单位:
年 月 日
××国家基本水文测站
设立(调整)技术论证报告
审 定:
审 核:
编制人员:
一、基本情况
(一)×××国家基本水文测站基本情况
×××国家基本水文测站设置位置、测验要素、所在河流情况,项目预计开工、完工时间等。×××国家基本水文测站设立(或调整)的原因、目的、作用和任务,建设的必要性和可行性。
(二)流域概况
包括流域气象、水文(如径流、泥沙、水位等)特征等情况。
二、编制依据
(一)法律法规
(二)规程、规范和技术标准
(三)相关文件
三、×××国家基本水文测站建设(调整)方案
(一)测验河段站址选址依据、观测项目、测验设施布置。
(二)×××国家基本水文测站基础设施建设
简要概述包含测验河段基础设施、水位观测、流量及泥沙测验、降水、蒸发、生产生活用房、供水、供电、供暖、通信及其他基础设施建设。
(三)×××国家基本水文测站拟采取测验方案
简要概述水文测站拟采取的测验方案(设备大概选型)。
四、工程投资概算和运行管理
包含工程投资概算,测验、通信方案,人员配备,运行管理方案等。(因重大工程建设影响导致水文测站迁移的,应当提出相应投资概算及增加运行管理成本的预算。)
五、×××国家基本水文测站资料保管及整编
六、结论
附图:1.水系图
2.站点位置图
一、适用范围
适用于重庆市水利局审批权限范围内水利工程质量检测单位乙级资质认定的申请和办理。
二、事项审查类型
(一)先批后核(告知承诺制)。
(二)先审后批(常规审批制)。
注:申请人可任选择其中一种方式办理,常规审批制每年集中申报一次,具体申报时间以市水利局公告时间为准。
三、审批依据
(一)《国务院对确需保留的行政审批项目设定行政许可的决定》(国务院令第412号)第165项。
(二)《建设工程质量管理条例》(国务院令第279号发布,国务院令第714号修订)第三十一条。
(三)《水利工程质量检测管理规定》(水利部令第36号发布,水利部令第50号修正)第五条。
(四)《水利工程质量检测单位资质等级标准》(水利部公告〔2018〕3号)。
(五)《水利部办公厅关于进一步推进水利工程质量检测单位乙级资质认定改革工作的意见》(办建设〔2019〕244号)。
四、受理机构
重庆市水利局。
五、决定机构
重庆市水利局。
六、数量限制
无数量限制。
七、申请条件
(一)申请人条件
1.审批对象:拟从事水利工程质量检测业务的单位。
2.市级审批范围:水利工程质量检测单位乙级资质。
(二)准予许可条件
1.首次申请、延续申请、变更申请
(1)具有满足资质标准要求的技术负责人及检测人员。
(2)具有满足资质标准要求的管理体系和质量保证体系。
(3)具有满足乙级资质所含项目的检测能力。
2.注销申请
(1)申请人已获得我局颁发的乙级水利工程质量检测单位资质等级证书,且资质等级证书在有效期内。
(2)申请人不在行政监管部门立案调查期及行政处罚期内。
八、禁止性要求
无。
九、申请材料目录
(一)告知承诺制
1.首次申请
|
序号 |
提交材料名称 |
纸质/电子 |
纸质/电子份数 |
备注 |
|
1 |
申请人的承诺 |
电子 |
1份 |
|
|
2 |
水利工程质量检测单位乙级资质等级认定审批申请表 |
电子 |
1份 |
|
|
3 |
计量认证资质证书和证书附表 |
电子 |
1份 |
|
|
4 |
技术负责人的职称证书,质量检测人员从业资格证明材料 |
电子 |
1份 |
|
|
5 |
管理制度及质量控制措施 |
电子 |
1份 |
|
|
6 |
营业执照(事业单位法人证书) |
电子 |
1份 |
系统获取。 |
2.延续申请
|
序号 |
提交材料名称 |
纸质/电子 |
纸质/电子份数 |
备注 |
|
1 |
申请人的承诺 |
电子 |
1份 |
|
|
2 |
水利工程质量检测单位乙级资质等级延续审批申请表 |
电子 |
1份 |
|
|
3 |
计量认证资质证书和证书附表 |
电子 |
1份 |
|
|
4 |
技术负责人的职称证书,质量检测人员从业资格证明材料 |
电子 |
1份 |
|
|
5 |
管理制度及质量控制措施 |
电子 |
1份 |
|
|
6 |
营业执照(单位法人证书) |
电子 |
1份 |
系统获取。 |
3.变更申请
|
序号 |
提交材料名称 |
纸质/电子 |
纸质/电子份数 |
备注 |
|
1 |
申请人的承诺 |
电子 |
1份 |
|
|
2 |
水利工程质量检测单位乙级资质等级变更审批申请表 |
电子 |
1份 |
|
|
3 |
计量认证资质证书和证书附表 |
电子 |
1份 |
|
|
4 |
法定代表人身份证 |
电子 |
1份 |
法定代表人变更时提供。 |
|
5 |
法定代表人职务任命文件 |
电子 |
1份 |
法定代表人变更时提供、法定代表人职务变更时提供。 |
|
6 |
法定代表人职称证书 |
电子 |
1份 |
法定代表人变更和法定代表人职称变更时提供。 |
|
7 |
技术负责人身份证 |
电子 |
1份 |
技术负责人变更时提供。 |
|
8 |
技术负责人职务任命文件 |
电子 |
1份 |
技术负责人变更和技术负责人职务变更时提供。 |
|
9 |
技术负责人的职称证书 |
电子 |
1份 |
技术负责人变更和技术负责人职称变更时提供。 |
|
10 |
营业执照(事业单位法人证书) |
电子 |
1份 |
系统获取。 |
4.注销申请
|
序号 |
提交材料名称 |
纸质/电子 |
纸质/电子份数 |
备注 |
|
1 |
申请人的承诺 |
电子 |
1份 |
|
|
2 |
水利工程质量检测单位乙级资质等级注销审批申请表 |
电子 |
1份 |
|
|
3 |
水利工程质量检测单位资质等级证书 |
电子 |
1份 |
系统获取。 |
(二)常规审批制
|
序号 |
提交材料名称 |
纸质/电子 |
纸质/电子份数 |
备注 |
|
1 |
水利工程质量检测单位乙级资质等级认定审批申请表 |
纸质 |
1份 |
|
|
2 |
计量认证资质证书和证书附表 |
纸质 |
1份 |
|
|
3 |
技术负责人的职称证书,质量检测人员从业资格证明材料 |
纸质 |
1份 |
|
|
4 |
管理制度及质量控制措施 |
纸质 |
1份 |
|
|
5 |
营业执照(事业单位法人证书) |
纸质、电子 |
1份 |
营业执照系统获取,事业单位法人证书需提供纸质。 |
十、申请接收
(一)告知承诺制
申请人可通过重庆市网上办事大厅(https://zwykb.cq.gov.cn/)提交电子材料。地址和联系电话详见附件1。
(二)常规审批制
申请人可通过重庆市网上办事大厅(https://zwykb.cq.gov.cn/)提交电子材料,采取窗口报送、邮寄等方式提交纸质材料;也可直接到窗口申请和提交纸质材料。地址和联系电话详见附件1。
十一、办理基本流程
(一)告知承诺制
1.受理:由重庆市水利局政务服务大厅统一收件,并在1个工作日内对申请做出处理,制作受理通知书、不予受理通知书或补正通知书。
2.审核:重庆市水利局对申请材料进行审核。
3.决定:经审核,符合条件的,重庆市水利局出具水利工程质量检测单位资质等级证书(电子证照)。
(二)常规审批制
1.受理:由重庆市水利局政务服务大厅统一收件,并在3个工作日内对申请做出处理,制作受理通知书、不予受理通知书或补正通知书。
2.审查:重庆市水利局组织实地核查、专家评审,若需要听证的,由重庆市水利局组织听证。
3.决定:经审查,符合条件的,重庆市水利局将审查结果向社会公示,对公示无异议的,重庆市水利局做出准予许可决定(水利工程质量检测单位资质等级证书(电子证照));不符合条件的,重庆市水利局做出不予许可决定。
十二、办理方式
网上办理、窗口办理。
十三、办结时限
(一)告知承诺制
1.法定时限:20个工作日。
2.承诺时限:1个工作日。
(二)常规审批制
1.法定时限:20个工作日。
2.承诺时限:10个工作日。
十四、收费依据及标准
不收费。
十五、审批结果
水利工程质量检测单位资质等级证书(电子证照)。
十六、结果送达
重庆市水利局通过渝快办推送水利工程质量检测单位资质等级证书(电子证照)。
十七、申请人权利和义务
详见附件3。
十八、咨询途径
申请人可选择现场咨询或电话咨询,详见附件1。
十九、投诉渠道
申请人可选择电话投诉或现场投诉,详见附件1。
二十、办公地址和时间
办事大厅地址和办公时间详见附件1。
二十一、办理进程和结果公开查询
重庆市网上办事大厅。
二十二、备注
对以告知承诺制首次申请资质作出行政许可决定的,重庆市水利局在3个月内对申请人承诺的全部内容进行现场核查,作出核查决定。如核查发现申请人作出虚假承诺或者承诺内容严重不实,重庆市水利局撤销相应资质认定事项,将其不良行为信息通过全国水利建设市场监管服务平台公开,纳入水利建设市场“黑名单”。
附录:1.流程图
2.申请人的承诺
3.申请表
附录1—1
流程图(告知承诺制)

附录1—2
流程图(常规审批制)

附录2—1
申请人的承诺
(首次申请、延续申请、变更申请)
本单位就申请审批的水利工程质量检测单位乙级资质认定事项,作出下列承诺:
一、已经知悉行政审批部门告知的全部内容。
二、所填写的相关信息真实、准确、全面、无遗漏。
三、本单位符合行政审批部门告知的条件和技术能力要求,并按照规定接受后续核查。
四、本单位能够提交行政审批部门告知的相关材料,电子化申报时提交的附件材料,能够按照行政审批部门的要求提供原件核查。
五、愿意承担虚假承诺、不实承诺、违反承诺所造成的损失和引发的相应法律责任。
六、所作承诺是本单位的真实意思表示。
法定代表人签字:
(申请单位盖章)
年 月 日
(一式两份)
附录2—2
申请人的承诺
(注销申请)
本单位就申请审批的水利工程质量检测单位乙级资质注销事项,作出下列承诺:
一、已经知悉行政审批部门告知的全部内容。
二、所填写的相关信息真实、准确、全面、无遗漏。
三、本单位不在行政监管部门立案调查期及行政处罚期内。
四、本单位能够提交行政审批部门告知的相关材料,电子化申报时提交的附件材料,能够按照行政审批部门的要求提供原件核查。
五、愿意承担虚假承诺、不实承诺、违反承诺所造成的损失和引发的相应法律责任。
六、所作承诺是本单位的真实意思表示。
法定代表人签字:
(申请单位盖章)
年 月 日
(一式两份)
附录3—1
水利工程质量检测单位
乙级资质等级认定审批申请表
申请单位: (盖章)
申请专业: (乙级)
填表日期:
重庆市水利局制
填表须知
一、本表应使用计算机打印。
二、本表第一至第六部分由申请单位如实逐项填写,如遇没有的项目请填写“无”。
三、本表一律用中文填写,数字均使用阿拉伯数字。
四、申请时需要提供的材料:
1.申请人的承诺;
2.《重庆市水利工程质量检测单位乙级资质等级认定申请表》;
3.事业单位法人证书或者工商营业执照(复印件);
4.计量认证资质证书和证书附表(复印件);
5.技术负责人的职称证书(复印件),本单位质量检测员资格证书(复印件)或职称证书(复印件)、劳动合同(复印件)、社保证明材料;
6.管理制度及质量控制措施;
7.其他相关证明材料。
提交申请材料时应提供原件备验五、本表在填写时如需加页,可自行添加A4型纸。
一、检测单位法定代表人声明
|
本人(法定代表人)(身份证号码)郑重声明,本单位填报的《重庆市水利工程质量检测单位乙级资质等级认定申请表》及附件材料全部属实。并与全国水利建设市场监管平台上公开的信息一致。如有提供虚假材料以及其他违法行为,本单位和本人愿意接受水行政主管部门及其他有关部门依据有关法律法规给予的处罚。
检测单位法定代表人:(单位公章) (签名)年月日 |
二、检测单位基本情况
|
单位名称 |
|
设立时间 |
| ||
|
单位地址 |
|
联系电话 |
| ||
|
经办人电话(非常重要) |
|
邮政编码 |
| ||
|
传真 |
|
电子邮箱 |
| ||
|
统一社会信用代码(工商营业执照注册号、事业法人登记号) |
|
发证机关 |
| ||
|
注册资金 |
|
经济性质 |
| ||
|
开户银行 |
|
开户银行账号 |
| ||
|
计量认证 证书号 |
|
发证机关 |
| ||
|
法定代表人 |
|
职务 |
|
职称 |
|
|
技术负责人 |
|
职务 |
|
职称 |
|
|
在编人员总数 |
|
专业技术人员数 |
| ||
|
高级职称人数 |
|
中级职称人数 |
| ||
|
仪器设备 总台(套)数 |
|
仪器设备固定 资产原值(万元) |
| ||
|
工作面积(m2) |
|
房屋建筑面积(m2) |
| ||
|
申请资质类别和等级 |
| ||||
|
备注 |
| ||||
三、技术负责人基本情况
|
姓名 |
|
性别 |
|
出生年月 |
|
像
片 |
|
职务 |
|
职称 |
|
学历 |
| |
|
何时/何校/ 何专业毕业 |
| |||||
|
检测工作从业年限 |
|
办公电话 |
|
移动电话 |
| |
|
工作经历: | ||||||
|
受过何种奖励或处分: | ||||||
|
申报材料属实。(单位公章)
本人签名: 年月日 | ||||||
四、水利工程质量检测员一览表
|
序号 |
姓名 |
身份证号 |
证书编号 |
职称 |
专业 |
学历 |
检测年限 |
备注 |
|
1 |
|
|
|
|
|
|
|
|
|
2 |
|
|
|
|
|
|
|
|
|
3 |
|
|
|
|
|
|
|
|
|
4 |
|
|
|
|
|
|
|
|
|
5 |
|
|
|
|
|
|
|
|
|
6 |
|
|
|
|
|
|
|
|
|
7 |
|
|
|
|
|
|
|
|
|
8 |
|
|
|
|
|
|
|
|
|
9 |
|
|
|
|
|
|
|
|
|
10 |
|
|
|
|
|
|
|
|
五、主要试验检测仪器、设备清单
|
设备 编号 |
设备名称 |
型号规格 |
生产厂家 |
购置日期 |
单价(元) |
量程或规格 |
准确度 |
检定/校准周期 |
检定/校准单位 |
最近检定/校准日期 |
保管人 |
备注 |
|
|
|
|
|
|
|
|
|
|
|
|
|
|
|
|
|
|
|
|
|
|
|
|
|
|
|
|
|
|
|
|
|
|
|
|
|
|
|
|
|
|
|
|
|
|
|
|
|
|
|
|
|
|
|
|
|
|
|
|
|
|
|
|
|
|
|
|
|
|
|
|
|
|
|
|
|
|
|
|
|
|
|
|
|
|
|
|
|
|
|
|
|
|
|
|
|
|
|
|
|
|
|
|
|
|
|
|
|
|
|
|
|
|
|
|
|
|
|
|
|
|
|
|
|
|
|
|
|
|
|
|
|
|
|
|
|
|
|
|
|
|
|
|
|
|
|
|
|
|
|
|
|
|
|
|
|
|
|
|
|
|
|
|
|
|
|
|
|
|
|
|
|
|
|
|
|
|
|
|
|
|
六、检测能力一览表
|
序号 |
检测能力 |
对应计量认证证书附表位置 |
对应表五中试验检测仪器、 设备编号及名称 | |||
|
类别 |
检测项目 |
检测参数 |
页码 |
序号 | ||
|
1 |
岩土工程类 |
土工指标 |
… |
|
|
|
|
2 |
密度 |
|
|
| ||
|
3 |
颗粒级配 |
|
|
| ||
|
4 |
… |
|
|
| ||
|
5 |
岩石(体)指标 |
… |
|
|
| |
|
6 |
抗剪强度 |
|
|
| ||
|
7 |
弹性模量 |
|
|
| ||
|
8 |
… |
|
|
| ||
|
… |
… |
… |
|
|
| |
|
|
|
|
|
|
|
|
|
|
|
|
|
|
|
|
|
|
|
|
|
|
|
|
(表内所填为举例内容,请申请单位根据实际情况填写)
附录3—2
水利工程质量检测单位
乙级资质等级延续审批申请表
申请单位: (盖章)
申请专业: (乙级)
填表日期:
重庆市水利局制
填表须知
一、本表应使用计算机打印。
二、本表第一至第六部分由申请单位如实逐项填写,如遇没有的项目请填写“无”。
三、本表一律用中文填写,数字均使用阿拉伯数字。
四、申请时需要提供的材料:
1.申请人的承诺;
2.《重庆市水利工程质量检测单位乙级资质等级延续申请表》;
3.事业单位法人证书或者工商营业执照(复印件);
4.计量认证资质证书和证书附表(复印件);
5.技术负责人的职称证书(复印件),本单位质量检测员资格证书(复印件)或职称证书(复印件)、劳动合同(复印件)、社保证明材料;
6.管理制度及质量控制措施;
7.其他相关证明材料。
提交申请材料时应提供原件备验五、本表在填写时如需加页,可自行添加A4型纸。
一、检测单位法定代表人声明
|
本人(法定代表人)(身份证号码)郑重声明,本单位填报的《重庆市水利工程质量检测单位乙级资质等级延续申请表》及附件材料全部属实。并与全国水利建设市场监管平台上公开的信息一致。如有提供虚假材料以及其他违法行为,本单位和本人愿意接受水行政主管部门及其他有关部门依据有关法律法规给予的处罚。
检测单位法定代表人:(单位公章) (签名)年月日 |
二、检测单位基本情况
|
单位名称 |
|
设立时间 |
| |||||
|
单位地址 |
|
联系电话 |
| |||||
|
经办人电话 (非常重要) |
|
邮政编码 |
| |||||
|
传真 |
|
电子邮箱 |
| |||||
|
统一社会信用代码 (工商营业执照注册号、事业法人登记号) |
|
发证机关 |
| |||||
|
注册资金 |
|
经济性质 |
| |||||
|
开户银行 |
|
开户银行账号 |
| |||||
|
计量认证 证书号 |
|
发证机关 |
| |||||
|
法定代表人 |
|
职务 |
|
职称 |
| |||
|
技术负责人 |
|
职务 |
|
职称 |
| |||
|
在编人员总数 |
|
专业技术人员数 |
| |||||
|
高级职称人数 |
|
中级职称人数 |
| |||||
|
仪器设备 总台(套)数 |
|
仪器设备固定 资产原值 (万元) |
| |||||
|
工作面积(m2) |
|
房屋建筑面积(m2) |
| |||||
|
延续资质类别和等级 |
类别 |
等级 |
证书编号 |
批准时间 | ||||
|
岩土工程类 |
|
|
| |||||
|
混凝土工程类 |
|
|
| |||||
|
金属结构类 |
|
|
| |||||
|
机械电气类 |
|
|
| |||||
|
量测类 |
|
|
| |||||
|
备注 |
| |||||||
三、技术负责人基本情况
|
姓名 |
|
性别 |
|
出生年月 |
|
像
片 |
|
职务 |
|
职称 |
|
学历 |
| |
|
何时/何校/ 何专业毕业 |
| |||||
|
检测工作从业年限 |
|
办公电话 |
|
移动电话 |
| |
|
工作经历: | ||||||
|
受过何种奖励或处分: | ||||||
|
申报材料属实。(单位公章)
本人签名: 年月日 | ||||||
四、水利工程质量检测员一览表
|
序号 |
姓名 |
身份证号 |
证书编号 |
职称 |
专业 |
学历 |
检测年限 |
备注 |
|
1 |
|
|
|
|
|
|
|
|
|
2 |
|
|
|
|
|
|
|
|
|
3 |
|
|
|
|
|
|
|
|
|
4 |
|
|
|
|
|
|
|
|
|
5 |
|
|
|
|
|
|
|
|
|
6 |
|
|
|
|
|
|
|
|
|
7 |
|
|
|
|
|
|
|
|
|
8 |
|
|
|
|
|
|
|
|
|
9 |
|
|
|
|
|
|
|
|
|
10 |
|
|
|
|
|
|
|
|
五、主要试验检测仪器、设备清单
|
设备 编号 |
设备名称 |
型号规格 |
生产厂家 |
购置日期 |
单价(元) |
量程或规格 |
准确度 |
检定/校准周期 |
检定/校准单位 |
最近检定/校准日期 |
保管人 |
备注 |
|
|
|
|
|
|
|
|
|
|
|
|
|
|
|
|
|
|
|
|
|
|
|
|
|
|
|
|
|
|
|
|
|
|
|
|
|
|
|
|
|
|
|
|
|
|
|
|
|
|
|
|
|
|
|
|
|
|
|
|
|
|
|
|
|
|
|
|
|
|
|
|
|
|
|
|
|
|
|
|
|
|
|
|
|
|
|
|
|
|
|
|
|
|
|
|
|
|
|
|
|
|
|
|
|
|
|
|
|
|
|
|
|
|
|
|
|
|
|
|
|
|
|
|
|
|
|
|
|
|
|
|
|
|
|
|
|
|
|
|
|
|
|
|
|
|
|
|
|
|
|
|
|
|
|
|
|
|
|
|
|
|
|
|
|
|
|
|
|
|
|
|
|
|
|
|
|
|
|
|
|
|
六、检测能力一览表
|
序号 |
检测能力 |
对应计量认证证书附表位置 |
对应表五中试验检测仪器、 设备编号及名称 | |||
|
类别 |
检测项目 |
检测参数 |
页码 |
序号 | ||
|
1 |
岩土工程类 |
土工指标 |
… |
|
|
|
|
2 |
密度 |
|
|
| ||
|
3 |
颗粒级配 |
|
|
| ||
|
4 |
… |
|
|
| ||
|
5 |
岩石(体)指标 |
… |
|
|
| |
|
6 |
抗剪强度 |
|
|
| ||
|
7 |
弹性模量 |
|
|
| ||
|
8 |
… |
|
|
| ||
|
… |
… |
… |
|
|
| |
|
|
|
|
|
|
|
|
|
|
|
|
|
|
|
|
|
|
|
|
|
|
|
|
(表内所填为举例内容,请申请单位根据实际情况填写)
附录3—3
水利工程质量检测单位
乙级资质等级变更审批申请表
申请单位: (盖章)
变更事项:
填表日期:
重庆市水利局制
填表须知
一、本表应使用计算机打印。
二、本表第一至第三部分由申请单位如实逐项填写,如遇没有的项目请填写“无”。
三、本表一律用中文填写,数字均使用阿拉伯数字。
四、申请时需要提供的材料:
1.申请人的承诺;
2.《重庆市水利工程质量检测单位乙级资质等级变更申请表》;
3.事业单位法人证书或者工商营业执照(复印件);
4.计量认证资质证书(复印件);
5.技术负责人的职称证书(复印件)、劳动合同(复印件)、社保证明材料(技术负责人变更时提供);
6.法定代表人身份证(复印件)(法定代表人变更时提供);
7.其他相关证明材料。
提交申请材料时应提供原件备验五、本表在填写时如需加页,可自行添加A4型纸。
一、检测单位法定代表人声明
|
本人(法定代表人)(身份证号码)郑重声明,本单位填报的《重庆市水利工程质量检测单位乙级资质等级变更申请表》及附件材料全部属实,变更内容真实有效且符合资质认定相关要求,并与全国水利建设市场监管平台上公开的信息一致。如有提供虚假材料以及其他违法行为,本单位和本人愿意接受水行政主管部门及其他有关部门依据有关法律法规给予的处罚。
检测单位法定代表人:(单位公章) (签名)年月日 |
二、检测单位基本情况
|
单位名称 |
|
设立时间 |
| ||
|
单位地址 |
|
联系电话 |
| ||
|
经办人电话(非常重要) |
|
邮政编码 |
| ||
|
传真 |
|
电子邮箱 |
| ||
|
统一社会信用代码 (工商营业执照注册号、事业法人登记号) |
|
发证机关 |
| ||
|
注册资金 |
|
经济性质 |
| ||
|
开户银行 |
|
开户银行账号 |
| ||
|
计量认证 证书号 |
|
发证机关 |
| ||
|
法定代表人 |
|
职务 |
|
职称 |
|
|
技术负责人 |
|
职务 |
|
职称 |
|
|
在编人员总数 |
|
专业技术人员数 |
| ||
|
高级职称人数 |
|
中级职称人数 |
| ||
|
仪器设备 总台(套)数 |
|
仪器设备固定 资产原值(万元) |
| ||
|
工作面积(m2) |
|
房屋建筑面积(m2) |
| ||
|
变更事项 |
本单位××××由××××变更为××××。 | ||||
|
备注 |
| ||||
三、技术负责人基本情况
|
姓名 |
|
性别 |
|
出生年月 |
|
像
片 |
|
职务 |
|
职称 |
|
学历 |
| |
|
何时/何校/ 何专业毕业 |
| |||||
|
检测工作从业年限 |
|
办公电话 |
|
移动电话 |
| |
|
工作经历: | ||||||
|
受过何种奖励或处分: | ||||||
|
申报材料属实。(单位公章)
本人签名: 年月日 | ||||||
注:本表技术负责人变更时提供
附录3—4
水利工程质量检测单位
乙级资质等级注销审批申请表
申请单位: (盖章)
申请专业: (乙级)
填表日期:
重庆市水利局制
填表须知
一、本表应使用计算机打印。
二、本表第一至第二部分由申请单位如实逐项填写,如遇没有的项目请填写“无”。
三、本表一律用中文填写,数字均使用阿拉伯数字。
四、申请时需要提供的材料:
1.《重庆市水利工程质量检测单位乙级资质等级注销申请表》;
2.水利工程质量检测单位资质等级证书。
五、本表在填写时如需加页,可自行添加A4型纸。
一、检测单位法定代表人声明
|
本人(法定代表人)(身份证号码)郑重声明,本单位填报的《重庆市水利工程质量检测单位乙级资质等级注销申请表》及附件材料全部属实。并与全国水利建设市场监管平台上公开的信息一致。如有提供虚假材料以及其他违法行为,本单位和本人愿意接受水行政主管部门及其他有关部门依据有关法律法规给予的处罚。
检测单位法定代表人:(单位公章) (签名)年月日 |
二、检测单位基本情况
|
单位名称 |
|
设立时间 |
| |||||
|
单位地址 |
|
联系电话 |
| |||||
|
经办人电话(非常重要) |
|
邮政编码 |
| |||||
|
传真 |
|
电子邮箱 |
| |||||
|
统一社会信用代码 (工商营业执照注册号、事业法人登记号) |
|
发证机关 |
| |||||
|
注册资金 |
|
经济性质 |
| |||||
|
开户银行 |
|
开户银行账号 |
| |||||
|
计量认证 证书号 |
|
发证机关 |
| |||||
|
法定代表人 |
|
职务 |
|
职称 |
| |||
|
技术负责人 |
|
职务 |
|
职称 |
| |||
|
在编人员总数 |
|
专业技术人员数 |
| |||||
|
高级职称人数 |
|
中级职称人数 |
| |||||
|
仪器设备 总台(套)数 |
|
仪器设备固定 资产原值(万元) |
| |||||
|
工作面积(m2) |
|
房屋建筑面积(m2) |
| |||||
|
注销资质类别和等级 |
类别 |
等级 |
证书编号 |
批准时间 | ||||
|
岩土工程类 |
|
|
| |||||
|
混凝土工程类 |
|
|
| |||||
|
金属结构类 |
|
|
| |||||
|
机械电气类 |
|
|
| |||||
|
量测类 |
|
|
| |||||
|
注销原因 |
| |||||||
|
备注 |
| |||||||
一、适用范围
适用于重庆市水利局审批权限范围内的围垦河道审核的申请和办理。
二、事项审查类型
先审后批。
三、审批依据
(一)《中华人民共和国水法》(第六届全国人民代表大会常务委员会第二十四次会议通过,中华人民共和国主席令第六十一号公布,第十二届全国人民代表大会常务委员会第二十一次会议第二次修正,中华人民共和国主席令第四十八号)第四十条。
(二)《中华人民共和国防洪法》(第八届全国人民代表大会常务委员会第二十七次会议通过,中华人民共和国主席令第八十八号公布,第十二届全国人民代表大会常务委员会第二十一次会议第三次修正,中华人民共和国主席令第四十八号)第二十三条。
(三)《中华人民共和国河道管理条例》(国务院令第3号发布,国务院令第698号修订)第二十七条。
(四)《水行政许可实施办法》(水利部令第23号)。
四、受理机构
重庆市水利局。
五、决定机构
重庆市水利局。
六、数量限制
无数量限制。
七、申请条件
(一)申请人条件
1.审批对象:建设单位和个人。
2.市级审批范围:重庆市行政区域内围垦河道(列入河道名录库的河流)的建设项目。
(二)准予许可条件
1.符合水法律法规、生态敏感区相关法律法规以及生态红线管控要求。
2.符合流域防洪规划,符合国家规定的防洪标准。
3.符合水利工程设计、施工、管理的规定和规范要求,保持河势稳定和行洪通畅,确保江河、堤坝防洪安全。
八、禁止性要求
(一)对河道泄洪能力、河势稳定、河道冲淤变化、堤防护岸和其它水工程安全、防汛抢险、第三人合法水事权益存在不利影响,或有不利影响采取相应补救措施不能消除或减轻至可接受范围。
(二)围垦河道的防御洪涝的设防标准与措施不适当。
(三)长江经济带发展负面清单中禁止的行为活动。
九、申请材料目录
|
序号 |
提交材料名称 |
纸质/ 电子 |
纸质/ 电子份数 |
备注 |
|
1 |
围垦河道方案审批申请表 |
电子 |
1份 |
|
|
2 |
围垦河道方案及洪水影响评价报告 |
纸质 |
10份 |
1.附围垦河道的依据性文件; 2.电子光盘2张。 |
|
3 |
第三方协议书 |
电子 |
1份 |
建设项目与第三方有利害关系的,提供项目法人与第三方达成的协议书或其他文件。 |
注:涉密项目按国家保密规定执行。
十、申请接收
申请人可通过重庆市网上办事大厅(https://zwykb.cq.gov.cn/)工程建设项目审批板块提交电子材料,采取窗口报送、邮寄等方式提交纸质材料;也可直接到窗口申请和提交纸质材料。地址和联系电话详见附件1。
十一、办理基本流程
(一)受理:由重庆市工程建设项目审批服务大厅水利工程窗口统一收件,并在3个工作日内对申请做出处理,制作受理通知书、不予受理通知书或补正通知书。
(二)审查:重庆市水利局对申请材料进行全面审查,组织专家评审(含现场踏勘),材料满足相关要求的提出审查意见;材料不满足相关要求的,提出修改意见,项目法人按要求修改完善材料,重庆市水利局组织专家复核,并提出复核意见。若需要听证的,由重庆市水利局组织听证。
(三)决定:经审查,符合条件的,重庆市水利局出具准予许可决定;不符合条件的,重庆市水利局出具不予许可决定。
十二、办理方式
网上办理、窗口办理。
十三、办结时限
(一)法定时限:20个工作日。
(二)承诺时限:5个工作日(不含现场核查、专家评审、听证等时间),特殊情况经重庆市水利局负责人同意,并与服务对象协商,可以延长5个工作日。
(三)专家评审时限:不超过15个工作日(从向专家发送评审资料开始到专家组提交正式评审意见),但申请人对有关材料进行补充完善的时间除外。
(四)补充完善时限:专家评审过程中,若报告原则性通过专家评审但需修改完善的,则申请人需在专家评审会后20个工作日内提交完善后的报告,逾期未报,则该申请事项作退件处理。
十四、收费依据及标准
不收费。
十五、审批结果
行政许可决定。
十六、结果送达
申请人可到重庆市工程建设项目审批服务大厅水利工程窗口领取或通过电子邮件获取许可决定,也可联系水利工程窗口申请邮寄领取。
十七、申请人权利和义务
详见附件3。
十八、咨询途径
申请人可选择现场咨询或电话咨询,详见附件1。
十九、投诉渠道
申请人可选择电话投诉或现场投诉,详见附件1。
二十、办公地址和时间
办事大厅地址和办公时间详见附件1。
二十一、办理进程和结果公开查询
重庆市网上办事大厅。
二十二、备注
(一)河道管理范围是按重庆市人民政府办公厅《关于印发重庆市河道管理范围划定管理办法的通知》(渝府办发〔2016〕224号)执行。
(二)建设项目开工前,项目法人应将施工计划报水行政主管部门,施工过程中应接受水行政主管部门的核查。工程建设必须按审批文件的要求施工,不得越线施工。
(三)工程施工完毕,项目法人应及时向河道主管机关报送有关竣工资料,竣工验收必须有河道主管机关参加。
附录:1.流程图
2.围垦河道方案审批申请表
附录1
流程图

附录2
围垦河道方案审批申请表
|
申请单位 |
名称 |
|
法定代表人 |
|
单位联系人 |
|
|
地址 |
|
单位联系人电话 |
| |||
|
统一社会信用代码 |
|
单位联系人电子邮箱 |
| |||
|
围垦河道的方式 |
| |||||
|
围垦河道的河流名称 |
|
行政区域 |
| |||
|
围垦河道的地址 |
| |||||
|
高程范围(m) |
|
|
| |||
|
对安全的影响及防汛措施 |
| |||||
|
申请人或申请单位 (签字)(签章) 年月日年月日 | ||||||
|
区县水行政主管部门意见:
区县水行政主管部门(签章) 年月日 | ||||||
|
区县人民政府意见:
区县人民政府(签章) 年月日 | ||||||
一、适用范围
适用于重庆市水利局审批范围内造价工程师(水利工程)注册的申请和办理。
二、事项审查类型
先审后批。
三、审批依据
(一)《中华人民共和国建筑法》(第八届全国人民代表大会常务委员会第二十八次会议通过,中华人民共和国主席令第九十一号公布,第十三届全国人民代表大会常务委员会第十次会议第二次修正,中华人民共和国主席令第二十九号)第十四条。
(二)《建设工程勘察设计管理条例》(国务院令第293号发布,国务院令第687号修订)第九条。
(三)《住房城乡建设部 交通运输部 水利部 人力资源社会保障部关于印发〈造价工程师职业资格制度规定〉〈造价工程师职业资格考试实施办法〉的通知》(建人〔2018〕67号)第三条、第十七条、第十八条。
(四)《注册造价工程师(水利工程)管理办法》(水建设〔2021〕334号)第四条。
(五)《国家职业资格目录(2021年版)》(一、专业技术人员职业资格)。
四、受理机构
重庆市水利局。
五、决定机构
重庆市水利局。
六、数量限制
无数量限制。
七、申请条件
(一)申请人条件
1.审批对象:已取得二级造价工程师(水利工程)的自然人。
2.市级审批范围:二级造价工程师(水利工程)。
(二)准予许可条件
1.取得二级造价工程师(水利工程)职业资格证书。
2.受聘于一家工程造价咨询企业或者参与水利建设、工程管理活动的建设、勘察、设计、施工、监理、咨询、招标代理、造价管理、运行管理等单位以及科研院所,且从事水利工程造价相关业务工作。
八、禁止性要求
(一)不具有完全民事行为能力的。
(二)申请在两个或两个以上单位注册的。
(三)年龄在70周岁以上(含)的。
(四)不符合《注册造价工程师(水利工程)管理办法》第四章关于继续教育要求的。
(五)受刑事处罚且尚未执行完毕的。
(六)在工程造价业务活动中受刑事处罚,自刑事处罚执行完毕之日起至申请注册之日止不满5年的。
(七)因前项规定以外原因受刑事处罚,自刑事处罚执行完毕之日起至申请注册之日止不满3年的。
(八)被吊销注册证书,自被处罚决定之日起至申请注册之日止不满3年的。
(九)以欺骗、贿赂等不正当手段获得注册被撤销,自被撤销注册之日起至申请注册之日止不满3年的。
(十)法律、法规规定不予注册的其他情形。
九、申请材料目录
(一)初始注册
|
序号 |
提交材料名称 |
纸质/ 电子 |
纸质/ 电子份数 |
备注 |
|
1 |
承诺书 |
电子 |
1份 |
|
|
2 |
初始注册申请表 |
电子 |
1份 |
|
|
3 |
劳动合同 |
电子 |
1份 |
非退休人员提供。 |
|
4 |
社会保险参保缴费材料 |
电子 |
1份 |
1.非退休人员提供; 2.缴费时间段应为申请注册前一个月。 |
|
5 |
退休证明材料 |
电子 |
1份 |
退休人员提供。 |
|
6 |
劳务合同 |
电子 |
1份 |
退休人员提供。 |
|
7 |
意外伤害保险参保缴费材料 |
电子 |
1份 |
退休人员提供。 |
|
8 |
继续教育合格证明 |
电子 |
1份 |
1.申请距取得职业资格证书之日已超出1年的提供; 2.继续教育机构加盖公章。 |
(二)延续注册
|
序号 |
提交材料名称 |
纸质/ 电子 |
纸质/ 电子份数 |
备注 |
|
1 |
承诺书 |
电子 |
1份 |
|
|
2 |
延续注册申请表 |
电子 |
1份 |
|
|
3 |
劳动合同 |
电子 |
1份 |
非退休人员提供。 |
|
4 |
社会保险参保缴费材料 |
电子 |
1份 |
1.非退休人员提供; 2.缴费时间段应为申请注册前一个月。 |
|
5 |
退休证明材料 |
电子 |
1份 |
退休人员提供。 |
|
6 |
劳务合同 |
电子 |
1份 |
退休人员提供。 |
|
7 |
意外伤害保险参保缴费材料 |
电子 |
1份 |
退休人员提供。 |
|
8 |
继续教育合格证明 |
电子 |
1份 |
1.申请距取得职业资格证书之日已超出1年的提供; 2.继续教育机构加盖公章。 |
(三)变更注册
|
序号 |
提交材料名称 |
纸质/ 电子 |
纸质/ 电子份数 |
备注 |
|
1 |
承诺书 |
电子 |
1份 |
|
|
2 |
变更注册申请表 |
电子 |
1份 |
|
|
3 |
劳动合同 |
电子 |
1份 |
非退休人员提供。 |
|
4 |
社会保险参保缴费材料 |
电子 |
1份 |
1.非退休人员提供; 2.缴费时间段应为申请注册前一个月。 |
|
5 |
退休证明材料 |
电子 |
1份 |
退休人员提供。 |
|
6 |
劳务合同 |
电子 |
1份 |
退休人员提供。 |
|
7 |
意外伤害保险参保缴费材料 |
电子 |
1份 |
退休人员提供。 |
(四)注销注册
|
序号 |
提交材料名称 |
纸质/ 电子 |
纸质/ 电子份数 |
备注 |
|
1 |
承诺书 |
电子 |
1份 |
|
|
2 |
注销注册申请书 |
电子 |
1份 |
|
十、申请接收
申请人通过重庆市网上办事大厅(https://zwykb.cq.gov.cn/)提交电子材料。地址和联系电话详见附件1。
十一、办理基本流程
(一)受理:由重庆市水利局政务服务大厅统一收件,并在1个工作日内对申请做出处理,制作受理通知书或不予受理决定书或补正通知书或不受理告知书。
(二)审核:重庆市水利局对申请材料进行审核。
(三)决定:经审核,符合条件的,重庆市水利局出具二级造价工程师注册证书(电子证照)。
十二、办理方式
网上办理。
十三、办结时限
(一)法定时限:10个工作日。
(二)承诺时限:1个工作日。
十四、收费依据及标准
不收费。
十五、审批结果
二级造价工程师注册证书(电子证照)。
十六、结果送达
重庆市水利局通过渝快办推送二级造价工程师注册证书(电子证照)。
十七、申请人权利和义务
详见附件3。
十八、咨询途径
申请人可选择现场咨询或电话咨询,详见附件1。
十九、投诉渠道
申请人可选择电话投诉或现场投诉,详见附件1。
二十、办公地址和时间
办事大厅地址和办公时间详见附件1。
二十一、办理进程和结果公开查询
重庆市网上办事大厅。
2.承诺书
附录1
流程图

附录2
我已认真阅读《注册造价工程师(水利工程)管理办法》及其他相关规定,理解并严格按照有关要求进行注册造价工程师(水利工程)注册申请工作。
我符合注册条件,此次提交的注册申请材料,已经认真核对和检查,内容真实、准确。我对此负责,如有虚假,我愿接受水行政主管部门及其他有关部门依法给予的处罚。
申请人(签字):
年 月 日
我单位已认真阅读《注册造价工程师(水利工程)管理办法》及其他相关规定,已核实申请人情况及其提交的注册申请材料和我单位提供的材料,申请人符合注册条件,材料内容均真实、准确。我单位对此负责,如有虚假,愿接受水行政主管部门及其他有关部门依法给予的处罚。
单位(签章):
年 月 日
附录3—1
|
姓名 |
|
性别 |
|
出生年月 |
|
扫描照片 (二寸)系统打印 | ||||||
|
证件名称 |
□身份证□军官证□其他 | |||||||||||
|
证件号码 |
| |||||||||||
|
最高学历 |
毕业院校 |
|
毕业时间 |
| ||||||||
|
专业 |
|
学历 |
|
学位 |
| |||||||
|
资格证书编号 |
|
批准日期 (签发日期) |
| |||||||||
|
聘用 单位 |
单位名称 |
| ||||||||||
|
统一社会 信用代码 |
| |||||||||||
|
通信地址 |
| |||||||||||
|
工商登记地 |
|
经办人手机号码 |
| |||||||||
|
申请人手机号码 |
|
注册地 |
| |||||||||
|
聘用单位意见 | ||||||||||||
|
负责人(签字):(公章)年月日 | ||||||||||||
注:□位置请勾选符合条件的选项
延续注册申请表
|
姓名 |
|
性别 |
|
出生年月 |
|
扫描照片 (二寸) 系统打印 | ||||||
|
证件名称 |
□身份证□军官证□其他 | |||||||||||
|
证件号码 |
| |||||||||||
|
资格证书编号 |
|
原注册有效期内继续教育学时数 |
| |||||||||
|
注册证书编号 |
|
注册有效期 届满时间 |
| |||||||||
|
聘用单位 |
单位名称 |
| ||||||||||
|
统一社会 信用代码 |
| |||||||||||
|
通信地址 |
| |||||||||||
|
工商登记地 |
|
经办人手机号码 |
| |||||||||
|
申请人手机号码 |
|
注册地 |
| |||||||||
|
聘用单位意见 | ||||||||||||
|
负责人(签字):(公章)年月日 | ||||||||||||
注:□位置请勾选符合条件的选项
附录3—3
|
姓名 |
|
性别 |
|
出生年月 |
|
扫描照片 (二寸) 系统打印 | |||||
|
证件名称 |
□身份证□军官证□其他 | ||||||||||
|
证件号码 |
| ||||||||||
|
注册证书编号 |
|
注册有效期届满时间 |
| ||||||||
|
变更注册事项 |
□执业单位变更□单位名称变更 | ||||||||||
|
执业单位变更 |
原聘用单位名称 |
| |||||||||
|
现聘用单位情况 |
单位名称 |
| |||||||||
|
统一社会 信用代码 |
| ||||||||||
|
通信地址 |
| ||||||||||
|
工商登记地 |
|
经办人手机号码 |
| ||||||||
|
单位名称变更 |
原名称 |
| |||||||||
|
现名称 |
| ||||||||||
|
申请人手机号码 |
|
原注册地 |
|
现注册地 |
| ||||||
|
原聘用单位意见 | |||||||||||
|
负责人(签字)(公章)年月日 | |||||||||||
|
现聘用单位意见 | |||||||||||
|
负责人(签字):(公章)年月日 | |||||||||||
注:□位置请勾选符合条件的选项
注销注册申请表
|
姓名 |
|
性别 |
|
出生年月 |
|
扫描照片 (二寸) 系统打印 | |||||
|
证件名称 |
□身份证□军官证□其他 | ||||||||||
|
证件号码 |
| ||||||||||
|
注册证书编号 |
|
注册有效期 届满时间 |
| ||||||||
|
注销原因 |
| ||||||||||
|
现聘用单位情况 |
单位名称 |
| |||||||||
|
统一社会 信用代码 |
| ||||||||||
|
通信地址 |
| ||||||||||
|
工商登记地 |
|
经办人手机号码 |
| ||||||||
|
申请人手机号码 |
|
注册地 |
| ||||||||
|
聘用单位意见 | |||||||||||
|
负责人(签字)(公章)年月日 | |||||||||||
注:□位置请勾选符合条件的选项
一、受理范围
适用于重庆市水利局审批范围内水利水电工程施工企业主要负责人、项目负责人和专职安全生产管理人员(简称“安管人员”)考核合格证书的申请和办理。
二、事项审查类型
先审后批。
三、审批依据
(一)《中华人民共和国安全生产法》(第九届全国人民代表大会常务委员会第二十八次会议通过,中华人民共和国主席令第七十号公布,第十三届全国人民代表大会常务委员会第二十九次会议第三次修正,中华人民共和国主席令第八十八号)第二十七条 、第二十八条。
(二)《建设工程安全生产管理条例》(国务院令第393号)第三十六条。
(三)《安全生产许可证条例》(国务院令第397号)第六条第四款。
(四)《水利工程建设安全生产管理规定》(水利部令26号发布,水利部令第50号修正)第六条。
(五)《水利水电工程施工企业主要负责人、项目负责人和专职安全生产管理人员安全生产考核管理办法》(水监督〔2022〕326号)。
四、受理机构
重庆市水利局。
五、决定机构
重庆市水利局。
六、数量限制
无数量限制。
七、申请条件
(一)申请人条件
1.审批对象:水利水电工程施工企业“安管人员”:企业主要负责人(A类)、项目负责人(B类)、专职安全生产管理人员(C类)。
2.市级审批范围:重庆市行政区域内工商注册的水利水电工程施工总承包二级(含)以下资质、专业承包二级(含)以下资质的水利水电工程施工企业。
(二)准予许可条件
1.证书申领:申请人应满足《水利水电工程施工企业主要负责人、项目负责人和专职安全生产管理人员安全生产考核管理办法》第十二条的要求。
2.证书延续:申请人应满足《水利水电工程施工企业主要负责人、项目负责人和专职安全生产管理人员安全生产考核管理办法》第十四条的要求。
3.证书变更:申请人应满足《水利水电工程施工企业主要负责人、项目负责人和专职安全生产管理人员安全生产考核管理办法》第十六条、第十七条、第十八条的要求。
4.证书注销:申请人应满足《水利水电工程施工企业主要负责人、项目负责人和专职安全生产管理人员安全生产考核管理办法》第十九条的要求。
八、禁止性要求
无。
九、申请材料目录
(一)考核合格证书申领
|
序号 |
提交材料名称 |
纸质/ 电子 |
纸质/电子份数 |
备注 |
|
1 |
承诺书 |
电子 |
1份 |
|
|
2 |
证书申领申请表 |
电子 |
1份 |
|
|
3 |
劳动合同 |
电子 |
1份 |
退休人员应提供有效的退休证明材料、劳务合同。 |
|
4 |
社会保险参保缴费材料 |
电子 |
1份 |
1.近3个月的; 2.退休人员应提供意外伤害保险投保缴费材料。 |
|
5 |
安全生产教育培训记录 |
电子 |
1份 |
|
|
6 |
建造师执业资格证书 |
电子 |
1份 |
申报B类证书的人员提供。 |
|
7 |
学历证书 |
电子 |
1份 |
申报C类证书的人员提供。 |
(二)考核合格证书延续
|
序号 |
提交材料名称 |
纸质/电子 |
纸质/电子份数 |
备注 |
|
1 |
承诺书 |
电子 |
1份 |
|
|
2 |
证书延续申请表 |
电子 |
1份 |
|
|
3 |
劳动合同 |
电子 |
1份 |
退休人员应提供有效的退休证明材料、劳务合同。 |
|
4 |
社会保险参保缴费材料 |
电子 |
1份 |
1.近3个月的; 2.退休人员应提供意外伤害保险投保缴费材料。 |
|
5 |
安全生产教育培训记录 |
电子 |
1份 |
|
(三)考核合格证书变更
|
序号 |
提交材料名称 |
纸质/电子 |
纸质/电子份数 |
备注 |
|
1 |
承诺书 |
电子 |
1份 |
|
|
2 |
证书变更申请表 |
电子 |
1份 |
|
|
3 |
变更后的营业执照 |
电子 |
1份 |
1.企业名称变更、企业资质变更和工作调动变更时提供; 2.系统获取。 |
|
4 |
施工企业资质证书 |
电子 |
1份 |
企业名称变更、企业资质变更和工作调动变更时提供。 |
|
5 |
个人信息变更的证明材料 |
电子 |
1份 |
个人信息变更和工作调动变更时提供。 |
|
6 |
企业信息变更的证明材料 |
电子 |
1份 |
企业名称变更和企业资质变更时提供。 |
|
7 |
劳动合同 |
电子 |
1份 |
退休人员应提供有效的退休证明材料、劳务合同。 |
|
8 |
社会保险参保缴费材料 |
电子 |
1份 |
1.近3个月的; 2.退休人员应提供意外伤害保险投保缴费材料。 |
(四)考核合格证书注销
|
序号 |
提交材料名称 |
纸质/电子 |
纸质/电子份数 |
备注 |
|
1 |
证书注销申请表 |
电子 |
1份 |
|
十、申请接收
申请人可通过重庆市网上办事大厅(https://zwykb.cq.gov.cn/)提交电子材料。地址和联系电话详见附件1。
十一、办理基本流程
(一)受理:由重庆市水利局政务服务大厅统一收件,并在3个工作日内对申请做出处理,制作受理通知书、不予受理通知书或补正通知书。
(二)审核:重庆市水利局对申请材料进行审核。
(三)决定:经审核,符合条件的,重庆市水利局出具安管人员考核合格证书(电子证照)。
十二、办理方式
网上办理、窗口办理。
十三、办结时限
(一)法定时限:20个工作日。
(二)承诺时限:3个工作日。
十四、收费依据及标准
不收费。
十五、办理结果
安管人员考核合格证书(电子证照)。
十六、结果送达
重庆市水利局通过渝快办推送安管人员考核合格证书(电子证照)。
十七、申请人权利和义务
详见附件3。
十八、咨询途径
申请人可选择现场咨询或电话咨询,详见附件1。
十九、投诉渠道
申请人可选择电话投诉或现场投诉,详见附件1。
二十、办公地址和时间
办事大厅地址和办公时间详见附件1。
二十一、办理进程和结果公开查询
重庆市网上办事大厅。
附录:1.流程图
2.承诺书
3.水利水电工程施工企业主要负责人、项目负责人、
专职安全生产管理人员安全生产考核合格证书
申领申请表
4.水利水电工程施工企业主要负责人、项目负责人、
专职安全生产管理人员安全生产考核合格证书
延续申请表
5.水利水电工程施工企业主要负责人、项目负责人、
专职安全生产管理人员安全生产考核合格证书
变更申请表
6.水利水电工程施工企业主要负责人、项目负责人、
专职安全生产管理人员安全生产考核合格证书
注销申请表
附录1
流程图

申领证书承诺书
我已认真阅读《水利水电工程施工企业主要负责人、项目负责人和专职安全生产管理人员安全生产考核管理办法》及其他相关规定,严格按照有关要求申领安全生产考核合格证书。
我符合申领条件,提交的申请材料已经认真核对和检查,保证申请材料内容真实、准确。我对此负责,如有虚假,愿接受水利部及其他有关部门依法依规给予的处罚。
申请人(签字):
日期: 年 月 日
附录2—2
延续证书承诺书
我已认真阅读《水利水电工程施工企业主要负责人、项目负责人和专职安全生产管理人员安全生产考核管理办法》及其他相关规定,严格按照有关要求延续安全生产考核合格证书。
我在证书有效期内未在水利生产安全事故中负有责任,符合延续条件,提交的申请材料已经认真核对和检查,保证申请材料内容真实、准确。我对此负责,如有虚假,愿接受水利部及其他有关部门依法依规给予的处罚。
申请人(签字):
日期: 年 月 日
变更证书承诺书
我已认真阅读《水利水电工程施工企业主要负责人、项目负责人和专职安全生产管理人员安全生产考核管理办法》及其他相关规定,严格按照有关要求变更安全生产考核合格证书。
我在证书有效期内未在水利生产安全事故中负有责任,符合变更条件,提交的申请材料已经认真核对和检查,保证申请材料内容真实、准确。我对此负责,如有虚假,愿接受水利部及其他有关部门依法依规给予的处罚。
申请人(签字):
日期: 年 月 日
附录3—1
水利水电工程施工企业主要负责人安全生产
考核合格证书申领申请表
|
姓名 |
|
性别 |
|
职务 |
|
职称 |
|
|
毕业 院校 |
|
毕业时间 |
|
学历 |
| ||
|
证件 名称 |
身份证其他 |
证件号码 |
| ||||
|
主要负责人类别 |
法定代表人实际控制人 | ||||||
|
手机 号码 |
|
从事水利水电工程年限 |
|
证书类别 |
A | ||
|
受聘 企业 |
企业名称 |
|
统一社会信用代码 |
| |||
|
企业资质等级 |
|
资质证书编号 |
| ||||
|
注册登记地 |
|
联系电话 |
| ||||
|
证书申领年度安全生产教育培训记录 | |||||||
|
培训部门/单位 |
培训内容 |
培训起止时间 |
培训学时 | ||||
|
|
|
|
| ||||
|
|
|
|
| ||||
|
水利水电工程建设经历 | |||||||
|
项目名称 |
建设单位名称及联系方式 |
岗位名称 |
起止时间 | ||||
|
|
|
|
| ||||
|
|
|
|
| ||||
|
受聘单位意见 | |||||||
|
情况属实,同意申请。
单位名称(加盖公章):年月日 | |||||||
注:位置请勾选符合条件的选项,如表格不够可另附页
附录3—2
水利水电工程施工企业项目负责人安全生产
考核合格证书申领申请表
|
姓名 |
|
性别 |
|
职务 |
|
职称 |
| ||
|
注册建造师 |
一级二级 |
执业资格证书编号 |
| ||||||
|
毕业院校 |
|
毕业时间 |
|
学历 |
| ||||
|
证件名称 |
身份证其他 |
证件号码 |
| ||||||
|
手机号码 |
|
从事水利水电工程年限 |
|
证书类别 |
B | ||||
|
受聘企业 |
企业名称 |
|
统一社会信用代码 |
| |||||
|
企业资质等级 |
|
资质证书编号 |
| ||||||
|
注册登记地 |
|
联系电话 |
| ||||||
|
证书申领年度安全生产教育培训记录 | |||||||||
|
培训部门/单位 |
培训内容 |
培训起止时间 |
培训学时 | ||||||
|
|
|
|
| ||||||
|
|
|
|
| ||||||
|
水利水电工程建设经历 | |||||||||
|
项目名称 |
建设单位名称及联系方式 |
岗位名称 |
起止时间 | ||||||
|
|
|
|
| ||||||
|
|
|
|
| ||||||
|
受聘单位意见 | |||||||||
|
情况属实,同意申请。
单位名称(加盖公章):年月日 | |||||||||
注:位置请勾选符合条件的选项,如表格不够可另附页
附录3—3
水利水电工程施工企业专职安全生产管理人员
安全生产考核合格证书申领申请表
|
姓名 |
|
性别 |
|
职务 |
|
职称 |
|
|
毕业院校 |
|
毕业时间 |
|
学历 |
| ||
|
证件名称 |
身份证其他 |
证件号码 |
| ||||
|
手机号码 |
|
从事水利水电工程年限 |
|
证书类别 |
C | ||
|
受聘企业 |
企业名称 |
|
统一社会信用代码 |
| |||
|
企业资质等级 |
|
资质证书编号 |
| ||||
|
注册登记地 |
|
联系电话 |
| ||||
|
证书申领年度安全生产教育培训记录 | |||||||
|
培训部门/单位 |
培训内容 |
培训起止时间 |
培训学时 | ||||
|
|
|
|
| ||||
|
|
|
|
| ||||
|
水利水电工程建设经历 | |||||||
|
项目名称 |
建设单位名称及联系方式 |
岗位名称 |
起止时间 | ||||
|
|
|
|
| ||||
|
|
|
|
| ||||
|
受聘单位意见 | |||||||
|
情况属实,同意申请。
单位名称(加盖公章):年月日 | |||||||
注:位置请勾选符合条件的选项,如表格不够可另附页
附录4—1
水利水电工程施工企业主要负责人安全生产
考核合格证书延续申请表
|
姓名 |
|
性别 |
|
职务 |
|
职称 |
|
|
证件名称 |
身份证其他 |
证件号码 |
| ||||
|
手机号码 |
|
证书编号 |
|
有效期届满日期 |
| ||
|
受聘企业 |
企业名称 |
|
统一社会信用代码 |
| |||
|
企业资质等级 |
|
资质证书编号 |
| ||||
|
注册登记地 |
|
联系电话 |
| ||||
|
近3年安全生产教育培训情况 | |||||||
|
培训部门/单位 |
培训内容 |
培训起止时间 |
培训学时 | ||||
|
|
|
|
| ||||
|
|
|
|
| ||||
|
|
|
|
| ||||
|
水利水电工程建设经历 | |||||||
|
项目名称 |
建设单位名称及联系方式 |
岗位名称 |
起止时间 | ||||
|
|
|
|
| ||||
|
|
|
|
| ||||
|
受聘单位意见 | |||||||
|
情况属实,同意申请。
单位名称(加盖公章):年月日 | |||||||
注:位置请勾选符合条件的选项,如表格不够可另附页
附录4—2
水利水电工程施工企业项目负责人安全生产
考核合格证书延续申请表
|
姓名 |
|
性别 |
|
职务 |
|
职称 |
| |
|
注册建造师 |
一级二级 |
执业资格证书编号 |
| |||||
|
证件名称 |
身份证其他 |
证件号码 |
| |||||
|
手机号码 |
|
证书编号 |
|
有效期届满日期 |
| |||
|
受聘企业 |
企业名称 |
|
统一社会信用代码 |
| ||||
|
企业资质等级 |
|
资质证书编号 |
| |||||
|
注册登记地 |
|
联系电话 |
| |||||
|
近3年安全生产教育培训情况 | ||||||||
|
培训部门/单位 |
培训内容 |
培训起止时间 |
培训学时 | |||||
|
|
|
|
| |||||
|
|
|
|
| |||||
|
|
|
|
| |||||
|
水利水电工程建设经历 | ||||||||
|
项目名称 |
建设单位名称及联系方式 |
岗位名称 |
起止时间 | |||||
|
|
|
|
| |||||
|
|
|
|
| |||||
|
受聘单位意见 | ||||||||
|
情况属实,同意申请。
单位名称(加盖公章):年月日 | ||||||||
注:位置请勾选符合条件的选项,如表格不够可另附页
附录4—3
水利水电工程施工企业专职安全生产管理人员安全生产考核合格证书延续申请表
|
姓名 |
|
性别 |
|
职务 |
|
职称 |
|
|
证件名称 |
身份证其他 |
证件号码 |
| ||||
|
手机号码 |
|
证书编号 |
|
有效期届满日期 |
| ||
|
受聘企业 |
企业名称 |
|
统一社会信用代码 |
| |||
|
企业资质等级 |
|
资质证书编号 |
| ||||
|
注册登记地 |
|
联系电话 |
| ||||
|
近3年安全生产教育培训情况 | |||||||
|
培训部门/单位 |
培训内容 |
培训起止时间 |
培训学时 | ||||
|
|
|
|
| ||||
|
|
|
|
| ||||
|
|
|
|
| ||||
|
水利水电工程建设经历 | |||||||
|
项目名称 |
建设单位名称及联系方式 |
岗位名称 |
起止时间 | ||||
|
|
|
|
| ||||
|
|
|
|
| ||||
|
受聘单位意见 | |||||||
|
情况属实,同意申请。
单位名称(加盖公章):年月日 | |||||||
注:位置请勾选符合条件的选项,如表格不够可另附页
附录5—1
水利水电工程施工企业主要负责人安全
生产考核合格证书变更申请表
|
姓名 |
|
性别 |
|
手机号码 |
| ||||||
|
证件名称 |
身份证其他 |
证件号码 |
| ||||||||
|
证书编号 |
|
有效期届满日期 |
| ||||||||
|
变更事项 |
企业名称变更企业资质变更个人信息变更工作调动变更 | ||||||||||
|
企业名称变更 |
变更前企业名称 |
|
统一社会信用代码 |
| |||||||
|
变更后企业名称 |
|
统一社会信用代码 |
| ||||||||
|
企业资质变更 |
企业原资质等级 |
|
原资质证书编号 |
| |||||||
|
企业现资质等级 |
|
现资质证书编号 |
| ||||||||
|
原考核管理部门 |
|
现考核管理部门 |
| ||||||||
|
个人信息变更 |
变更类别 |
姓名 |
证件号码 |
职务 |
职称 | ||||||
|
变更前信息 |
|
|
|
| |||||||
|
变更后信息 |
|
|
|
| |||||||
|
工作调动变更 |
原受聘企业名称 |
|
统一社会信用代码 |
| |||||||
|
原受聘企业资质等级 |
|
资质证书编号 |
| ||||||||
|
现受聘企业名称 |
|
统一社会信用代码 |
| ||||||||
|
现受聘企业资质等级 |
|
资质证书编号 |
| ||||||||
|
考核管理部门是否变化 |
是否 | ||||||||||
|
原考核管理部门 |
|
现考核管理部门 |
| ||||||||
|
受聘单位意见 | |||||||||||
|
情况属实,同意申请。
单位名称(加盖公章):年月日 | |||||||||||
注:位置请勾选符合条件的选项,如表格不够可另附页
附录5—2
水利水电工程施工企业项目负责人安全生产
考核合格证书变更申请表
|
姓名 |
|
性别 |
|
手机号码 |
| ||||||
|
证件名称 |
身份证其他 |
证件号码 |
| ||||||||
|
证书编号 |
|
有效期届满日期 |
| ||||||||
|
变更事项 |
企业名称变更企业资质变更个人信息变更工作调动变更 | ||||||||||
|
企业名称变更 |
变更前企业名称 |
|
统一社会信用代码 |
| |||||||
|
变更后企业名称 |
|
统一社会信用代码 |
| ||||||||
|
企业资质变更 |
企业原资质等级 |
|
原资质证书编号 |
| |||||||
|
企业现资质等级 |
|
现资质证书编号 |
| ||||||||
|
原考核管理部门 |
|
现考核管理部门 |
| ||||||||
|
个人信息变更 |
变更类别 |
姓名 |
证件号码 |
职务 |
职称 | ||||||
|
变更前信息 |
|
|
|
| |||||||
|
变更后信息 |
|
|
|
| |||||||
|
工作调动变更 |
原受聘企业名称 |
|
统一社会信用代码 |
| |||||||
|
原受聘企业资质等级 |
|
资质证书编号 |
| ||||||||
|
现受聘企业名称 |
|
统一社会信用代码 |
| ||||||||
|
现受聘企业资质等级 |
|
资质证书编号 |
| ||||||||
|
考核管理部门是否变化 |
是否 | ||||||||||
|
原考核管理部门 |
|
现考核管理部门 |
| ||||||||
|
受聘单位意见 | |||||||||||
|
情况属实,同意申请。
单位名称(加盖公章):年月日 | |||||||||||
注:位置请勾选符合条件的选项,如表格不够可另附页
附录5—3
水利水电工程施工企业专职安全生产管理人员安全生产考核合格证书变更申请表
|
姓名 |
|
性别 |
|
手机号码 |
| ||||||
|
证件名称 |
身份证其他 |
证件号码 |
| ||||||||
|
证书编号 |
|
有效期届满日期 |
| ||||||||
|
变更事项 |
企业名称变更企业资质变更个人信息变更工作调动变更 | ||||||||||
|
企业名称变更 |
变更前企业名称 |
|
统一社会信用代码 |
| |||||||
|
变更后企业名称 |
|
统一社会信用代码 |
| ||||||||
|
企业资质变更 |
企业原资质等级 |
|
原资质证书编号 |
| |||||||
|
企业现资质等级 |
|
现资质证书编号 |
| ||||||||
|
原考核管理部门 |
|
现考核管理部门 |
| ||||||||
|
个人信息变更 |
变更类别 |
姓名 |
证件号码 |
职务 |
职称 | ||||||
|
变更前信息 |
|
|
|
| |||||||
|
变更后信息 |
|
|
|
| |||||||
|
工作调动变更 |
原受聘企业名称 |
|
统一社会信用代码 |
| |||||||
|
原受聘企业资质等级 |
|
资质证书编号 |
| ||||||||
|
现受聘企业名称 |
|
统一社会信用代码 |
| ||||||||
|
现受聘企业资质等级 |
|
资质证书编号 |
| ||||||||
|
考核管理部门是否变化 |
是否 | ||||||||||
|
原考核管理部门 |
|
现考核管理部门 |
| ||||||||
|
受聘单位意见 | |||||||||||
|
情况属实,同意申请。
单位名称(加盖公章):年月日 | |||||||||||
注:位置请勾选符合条件的选项,如表格不够可另附页
附录6—1
水利水电工程施工企业主要负责人安全生产
考核合格证书注销申请表
|
姓名 |
|
性别 |
| ||
|
证件名称 |
身份证其他 |
证件号码 |
| ||
|
手机号码 |
|
证书编号 |
|
有效期届满日期 |
|
|
受聘企业 |
企业名称 |
| |||
|
统一社会 信用代码 |
|
联系电话 |
| ||
|
注销原因 |
岗位调整解聘其他 | ||||
|
情况属实。
申请人签字:年月日 | |||||
注:位置请勾选符合条件的选项,如表格不够可另附页
附录6—2
水利水电工程施工企业项目负责人安全
生产考核合格证书注销申请表
|
姓名 |
|
性别 |
| ||
|
证件名称 |
身份证其他 |
证件号码 |
| ||
|
手机号码 |
|
证书编号 |
|
有效期届满日期 |
|
|
受聘企业 |
企业名称 |
| |||
|
统一社会 信用代码 |
|
联系电话 |
| ||
|
注销原因 |
岗位调整解聘其他 | ||||
|
情况属实。
申请人签字:年月日 | |||||
注:位置请勾选符合条件的选项,如表格不够可另附页
附录6—3
水利水电工程施工企业专职安全生产管理人员
安全生产考核合格证书注销申请表
|
姓名 |
|
性别 |
| ||
|
证件名称 |
身份证其他 |
证件号码 |
| ||
|
手机号码 |
|
证书编号 |
|
有效期届满日期 |
|
|
受聘企业 |
企业名称 |
| |||
|
统一社会 信用代码 |
|
联系电话 |
| ||
|
注销原因 |
岗位调整解聘其他 | ||||
|
情况属实。
申请人签字:年月日 | |||||
注:位置请勾选符合条件的选项,如表格不够可另附页
一、适用范围
适用于重庆市水利局审批权限范围内大中型水利水电工程移民安置规划审核的申请和办理。
二、事项审查类型
先审后批。
三、审批依据
(一)《国务院关于修改〈大中型水利水电工程建设征地补偿和移民安置条例〉的决定》(国务院令第679号)第六条、第十条。
(二)《国家发展改革委关于下放政府出资水利项目审批事项的通知》(发改农经〔2017〕2296号)。
(三)《水利部关于印发大中型水利水电工程移民安置前期工作管理暂行办法修订意见的通知》(水规计〔2019〕425号)。
(四)《重庆市水利局关于大中型水利水电工程建设征地移民安置规划报告编制有关事项的通知》(渝水安置〔2020〕4号)。
(五)《重庆市水利局 重庆市规划和自然资源局关于大中型水利水电工程建设征地补偿和移民安置有关政策衔接的通知》(渝水安置〔2021〕9号)。
(六)《重庆市水利局关于进一步明确重点水利工程建设管理权限的通知》(渝水建〔2022〕4号)。
四、受理机构
重庆市水利局。
五、决定机构
重庆市水利局。
六、数量限制
无数量限制。
七、申请条件
(一)申请人条件
1.审批对象:区县水利水电工程移民主管部门或建设单位。
2.市级审批范围
(1)水利部下放我市的项目:库容小于10亿立方米且坝高低于70米,不涉及跨省(区、市)水资源配置调整的大型水库项目。
(2)中型水库项目。
(3)总装机容量在5万千瓦以上的水电工程。
(二)准予许可条件
1.编制单位的资质符合要求。
2.编制依据充分。
3.移民安置规划已经征求当地人民政府意见。
4.移民安置方案已经广泛听取移民和移民安置区居民的意见。
5.移民安置方案落实,移民搬迁后生活能达到或者超过原有水平。
6.水库移民后期生产生活已有扶持措施。
7.农村移民安置、城(集)镇迁建、企业迁建、专项设施迁建或者复建、防护工程建设、水库水域开发利用、水库库底清理和移民安置区水土保持,符合有关规范要求。
8.征地补偿和移民安置资金估算符合国家法律法规和政策。
9.实物调查成果确认时限未超过5年。
八、禁止性要求
未经区县政府同意编制的移民安置规划。
九、申请材料目录
|
序号 |
提交材料名称 |
纸质/ 电子 |
纸质/ 电子份数 |
备注 |
|
1 |
关于审核××工程建设征地移民安置规划报告的请示 |
电子 |
1份 |
|
|
2 |
移民安置规划报告 |
纸质 |
10份 |
包含:1.实物指标调查资料; 2.实物指标调查报告; 3.城(集)镇迁建专题规划(非必要); 4.移民集中安置点规划设计(非必要); 5.区县政府对移民安置规划报告的确认函; 6.区县规划和自然资源局对土地数量及分类的意见; 7.区县林业局对林地数量及分类的意见; 8.区县有关部门对人口自然增长率的意见; 9.工业企业确认函及处理方式(非必要); 10.专项设施确认函及处理方式(非必要); 11.防护工程可研报告(非必要)。 |
注:涉密项目按国家保密规定执行。
十、申请接收
申请人可通过重庆市网上办事大厅(https://zwykb.cq.gov.cn/)提交电子材料,采取窗口报送、邮寄等方式提交纸质材料;也可到窗口申请和提交纸质材料。地址和联系电话详见附件1。
十一、办理基本流程
(一)受理:由重庆市水利局政务服务大厅统一收件,并在3个工作日内对申请做出处理,制作受理通知书、不予受理通知书或补正通知书。
(二)审查:重庆市水利局对申请材料进行全面审查,组织专家评审(含现场踏勘),材料满足相关要求的提出审查意见;材料不满足相关要求的,提出修改意见,项目法人按要求修改完善材料,重庆市水利局组织专家复核,并提出复核意见。若需要听证的,由重庆市水利局组织听证。
(三)决定:经审查,符合条件的,重庆市水利局出具准予许可决定;不符合条件的,重庆市水利局出具不予许可决定。
十二、办理方式
网上办理、窗口办理。
十三、办结时限
(一)法定时限:20个工作日。
(二)承诺时限:10个工作日(不含现场核查、专家评审、听证等时间),特殊情况经重庆市水利局负责人同意,并与服务对象协商,可以延长10个工作日。
(三)专家评审时限:不超过20个工作日(从向专家发送评审资料开始到专家组提交正式评审意见),但申请人对有关材料进行补充完善的时间除外。
(四)补充完善时限:专家评审过程中,若报告原则性通过专家评审但需修改完善的,则申请人需在技术评审会后10个工作日内提交完善后的报告,逾期未报,则该申请事项作退件处理。
十四、收费依据及标准
不收费。
十五、审批结果
行政许可决定。
十六、结果送达
申请人可到重庆市水利局政务服务大厅领取或通过电子邮件获取许可决定,也可联系政务服务大厅申请邮寄领取。
十七、申请人权利和义务
详见附件3。
十八、咨询途径
申请人可选择现场咨询或电话咨询,详见附件1。
十九、投诉渠道
申请人可选择电话投诉或现场投诉,详见附件1。
二十、办公地址和时间
办事大厅地址和办公时间详见附件1。
二十一、办理进程和结果公开查询
重庆市网上办事大厅。
附录1

附录2
重庆市水利局:
一、工程概况
简要概述工程建设地址、工程建设任务、工程建设规模、工程等别(级)等内容。
二、建设征地移民安置情况
征收土地面积、搬迁人口、拆迁房屋面积、涉及企事业单位和专项设施等情况。
××已委托××编制完成了《××工程建设征地移民安置规划报告(送审稿)》,现予以呈报,请审核。
妥否,请批示。
申请单位(盖章)
年 月 日
一、适用范围
适用于区县(自治县)水行政主管部门审批范围内水利工程改变主要用途许可的申请和办理。
二、事项审查类型
先审后批。
三、审批依据
《重庆市水利工程管理条例》(重庆市人民代表大会常务委员会公告第五十七号发布,重庆市人民代表大会常务委员会公告〔五届〕第202号修正)第三十五条。
四、受理机构
区县(自治县)水行政主管部门。
五、决定机构
区县(自治县)水行政主管部门。
六、数量限制
无数量限制。
七、申请条件
(一)申请人条件
1.审批对象:水利工程管理单位或产权所有者。
2.区县(自治县)审批范围:辖区内水行政主管部门管辖权限内的水利工程。
(二)准予许可条件
1.符合法律、法规、规章和规范性文件规定。
2.符合规程和规范、技术标准要求。
3.符合技术评审通过条件。
八、禁止性要求
无。
九、申请材料目录
|
序号 |
提交材料名称 |
纸质/电子 |
纸质文件份数 |
备注 |
|
1 |
水利工程改变主要用途申请表 |
电子 |
1份 |
|
|
2 |
水利工程改变主要用途论证报告 |
纸质 |
6份 |
|
|
3 |
第三方协议书 |
电子 |
1份 |
水利工程与第三方有利害关系的,提供水利工程申请人与第三方达成的协议书或其他文件。 |
十、申请接收
申请人可通过重庆市网上办事大厅(https://zwykb.cq.gov.cn/)提交电子材料,采取窗口报送、邮寄等方式提交纸质材料;也可直接到窗口申请和提交纸质材料。地址和联系电话详见附件2。
十一、办理基本流程
(一)受理:由区县(自治县)水行政主管部门政务服务窗口统一收件,并在3个工作日内对申请做出处理,制作受理通知书、不予受理通知书或补正通知书。
(二)审查:区县(自治县)水行政主管部门对申请材料进行全面审查,组织专家评审(含现场踏勘),材料满足相关要求的提出审查意见;材料不满足相关要求的,提出修改意见,项目法人按要求修改完善材料,区县(自治县)水行政主管部门组织专家复核,并提出复核意见。若需要听证的,由区县(自治县)水行政主管部门组织听证。
(三)决定:经审查,符合条件的,区县(自治县)水行政主管部门出具准予许可决定;不符合条件的,区县(自治县)水行政主管部门出具不予许可决定。
十二、办理方式
网上办理、窗口办理。
十三、办结时限
(一)法定时限:20个工作日。
(二)承诺时限:6个工作日(不含现场核查、专家评审、听证等时间)。
十四、收费依据及标准
不收费。
十五、审批结果
行政许可决定。
十六、结果送达
申请人可到区县(自治县)水行政主管部门政务服务窗口领取或通过电子邮件获取许可决定,也可联系政务服务窗口申请邮寄领取。
十七、申请人权利和义务
详见附件3。
十八、咨询途径
申请人可选择现场咨询或电话咨询,详见附件2。
十九、投诉渠道
申请人可选择电话投诉或现场投诉,详见附件2。
二十、办公地址和时间
办事大厅地址和办公时间详见附件2。
二十一、办理进程和结果公开查询
重庆市网上办事大厅。
附录:1. 流程图
2. 水利工程改变主要用途申请表
附录1
流程图

附录2
水利工程改变主要用途申请表
|
事项 |
| |||
|
申请单位(人) |
|
法定 代表人 |
| |
|
工程地址 |
| |||
|
申请人营业证号码(身份证号码) |
| |||
|
电话 |
|
电子邮箱 |
| |
|
申请事项的主要内容 |
| |||
|
我(单位)承诺本事项不涉及第三方利益,若涉及第三方利益,我(单位)承诺将妥善解决,并承担相应法律责任以及由此造成的损失。
申请人(签章): 年月日 | ||||
一、适用范围
适用于区县(自治县)水行政主管部门审批权限范围内占用农业灌溉水源、灌排工程设施审批的申请和办理。
二、事项审查类型
先审后批。
三、审批依据
(一)《中华人民共和国水法》(第六届全国人民代表大会常务委员会第二十四次会议通过,中华人民共和国主席令第六十一号公布,第十二届全国人民代表大会常务委员会第二十一次会议第二次修正,中华人民共和国主席令第四十八号)第三十五条。
(二)《国务院对确需保留的行政审批项目设定行政许可的决定》(国务院令第412号)第170项。
(三)《农田水利条例》(国务院令第669号)第二十四条。
(四)《水行政许可实施办法》(水利部令第23号)。
(五)《占用农业灌溉水源、灌排工程设施补偿办法》(水政资〔1995〕457号发布,水利部令第46号修正)第六条、第七条、第八条。
(六)《重庆市水利工程管理条例》重庆市人民代表大会常务委员会公告第五十七号发布,重庆市人民代表大会常务委员会公告〔五届〕第202号修正)第三十六条。
(七)《重庆市人民政府关于印发重庆市征(占)用水利工程及有效灌溉面积补偿办法的通知》(渝府发〔1999〕23号)第四条、第五条、第六条、第七条。
四、受理机构
区县(自治县)水行政主管部门。
五、决定机构
区县(自治县)水行政主管部门。
六、数量限制
无数量限制。
七、申请条件
(一)申请人条件
1.审批对象:建设单位或个人。
2.区县(自治县)审批范围:辖区内农业灌溉水源、灌排工程设施。
(二)准予许可条件
1.占用农业灌溉水源、灌排工程设施确有需要且无法规避。
2.相关工程审批程序完备。
3.补偿协议经利益相关方签订达成一致意见,且不影响第三人合法权益。
4.替代工程技术可行,与被占用农业灌溉水源工程、灌排工程设施效益相当。
八、禁止性要求
无。
九、申请材料目录
|
序号 |
提交材料名称 |
纸质/ 电子 |
纸质文件份数 |
备注 |
|
1 |
占用农业灌溉水源、灌排工程设施审批申请表 |
电子 |
1份 |
|
|
2 |
营业执照 |
电子 |
1份 |
1.申请人为单位时提供; 2.系统获取。 |
|
3 |
居民身份证 |
电子 |
1份 |
1.申请人为个人时提供; 2.系统获取。 |
|
4 |
评估机构评定的补偿方案 |
电子 |
1份 |
补偿方式为仅有偿占用、部分有偿占用且建设替代工程时提供。 |
|
5 |
被占用农业灌溉水源或农业灌排工程涉及利害关系各方的协议(承诺)书 |
电子 |
1份 |
补偿方式为仅有偿占用、仅等效替代、部分有偿占用且建设替代工程时提供。 |
|
6 |
替代工程初步设计报告及专家审查意见 |
电子 |
1份 |
补偿方式为仅等效替代、部分有偿占用且建设替代工程时提供。 |
|
7 |
被占用农业灌溉水源或农业灌排工程的权属证明 |
电子 |
1份 |
补偿方式为仅有偿占用、仅等效替代、部分有偿占用且建设替代工程时提供。 |
注:涉密项目按国家保密规定执行。
十、申请接收
申请人可通过重庆市网上办事大厅(https://zwykb.cq.gov.cn/)工程建设项目审批板块提交电子材料,采取窗口报送、邮寄等方式提交纸质材料;也可直接到窗口申请和提交纸质材料。地址和联系电话详见附件2。
十一、办理基本流程
(一)受理:由区县(自治县)水行政主管部门政务服务窗口统一收件,并在3个工作日内对申请做出处理,制作受理通知书、不予受理通知书或补正通知书。
(二)审查:区县(自治县)水行政主管部门对申请材料进行全面审查,组织专家评审(含现场踏勘),材料满足相关要求的提出审查意见;材料不满足相关要求的,提出修改意见,项目法人按要求修改完善材料,区县(自治县)水行政主管部门组织专家复核,并提出复核意见。若需要听证的,由区县(自治县)水行政主管部门组织听证。
(三)决定:经审查,符合条件的,区县(自治县)水行政主管部门出具准予许可决定;不符合条件的,区县(自治县)水行政主管部门具不予许可决定。
十二、办理方式
网上办理、窗口办理。
十三、办结时限
(一)法定时限:20个工作日。
(二)承诺时限:6个工作日(不含现场核查、专家评审、听证等时间)。
(三)专家评审时限:不超过10个工作日(从向专家发送评审资料开始到专家组提交正式评审意见),但申请人对有关材料进行补充完善的时间除外。
十四、收费依据及标准
不收费。
十五、审批结果
行政许可决定。
十六、结果送达
申请人可到区县(自治县)水行政主管部门政务服务窗口领取或通过电子邮件获取许可决定,也可联系政务服务窗口申请邮寄领取。
十七、申请人权利和义务
详见附件3。
十八、咨询途径
申请人可选择现场咨询或电话咨询,详见附件2。
十九、投诉渠道
申请人可选择电话投诉或现场投诉,详见附件2。
二十、办公地址和时间
办事大厅地址和办公时间详见附件2。
二十一、办理进程和结果公开查询
重庆市网上办事大厅。
二十二、备注
区县(自治县)水行政主管部门出具准予许可决定后,应及时向市水利局报备。
附录:1. 流程图
2. 占用农业灌溉水源、灌排工程设施审批申请表
附录1
流程图

附录2
占用农业灌溉水源、灌排工程设施审批申请表
|
申请单位 (或个人) |
|
法定代表人 |
| |
|
通讯地址 |
| |||
|
联系电话 |
|
邮政编码 |
| |
|
申请占用的理由和目的 |
| |||
|
工程建设依据的有关文件和资料目录 |
| |||
|
占用农业灌溉水源 |
占用水源地点 |
|
占用水源名称 |
|
|
占用方式 |
|
占用灌溉水量 |
| |
|
占用期限 |
临时占用□长期占用□ | |||
|
临时占用起止日期 |
自年月日至年月日 | |||
|
占用农业灌排工程设施 |
占用灌排工程设施地点 |
| ||
|
占用灌排工程设施名称 |
| |||
|
占用方式 |
| |||
|
占用工程项目范围、内容及数量 |
| |||
|
影响灌排面积(亩) |
| |||
|
占用期限 |
临时占用□长期占用□ | |||
|
临时占用起止日期 |
自年月日至年月日 | |||
|
替代工程设计方案和费用补偿方案简述 |
| |||
|
占用农业灌溉水源、灌排工程设施的利益相关方意见 |
利益相关方: (签字或盖章) 年月日 | |||
|
申请单位(或个人)申请单位法人代表: (盖章或签字)(签字) 年月日 | ||||
第二十一章 水事纠纷处理办事指南
一、适用范围
适用于重庆市水行政主管部门办理权限范围内水事纠纷处理的申请和办理。
二、事项办理类型
先审后办。
三、办理依据
(一)《中华人民共和国水法》(第六届全国人民代表大会常务委员会第二十四次会议通过,中华人民共和国主席令第六十一号公布,第十二届全国人民代表大会常务委员会第二十一次会议第二次修正,中华人民共和国主席令第四十八号)第五十六条、第五十七条。
(二)《省际水事纠纷预防和处理办法》(水政法〔2004〕400号)第六条、第七条、第八条。
(三)《重庆市水资源管理条例》(重庆市第一届人民代表大会常务委员会第15号发布,重庆市人民代表大会常务委员会公告〔六届〕第2号修正)第八条、第三十一条。
四、受理机构
重庆市水行政主管部门。
五、决定机构
重庆市水行政主管部门。
六、数量限制
无数量限制。
七、申请条件
(一)申请人条件
1.办理对象:取水单位或个人。
2.市级办理范围:跨区县(自治县)的水事纠纷。
3.区县(自治县)办理范围:辖区内的水事纠纷。
(二)准予办理条件
1.符合法律、法规、规章和规范性文件规定。
2.符合涉水规范和技术标准要求。
八、禁止性要求
无。
九、申请材料目录
|
序号 |
提交材料名称 |
纸质/ 电子 |
纸质/ 电子份数 |
备注 |
|
1 |
证据材料 |
电子 |
1份 |
1.单位加盖公章,个人签字并按手印; 2.证据中涉及单位名称、人名应与其他材料一致。 |
注:涉密项目按国家保密规定执行。
十、申请接收
申请人可通过重庆市网上办事大厅(https://zwykb.cq.gov.cn/)提交电子材料;也可带电子版直接到窗口申请。地址和联系电话详见附件1和附件2。
十一、办理基本流程
(一)受理:由重庆市水行政主管部门政务服务窗口统一收件,并在2个工作日内对申请做出处理,制作受理通知书、不予受理通知书或补正通知书。
(二)审理:重庆市水行政主管部门对申请材料进行全面审理,并组织水事纠纷相关单位或个人进行调解。若需要听证的,由重庆市水行政主管部门组织听证。
(三)决定:经调解,能达成一致意见的,相关方签订调解协议书;不能达成一致意见的,重庆市水行政主管部门组织裁决、出具行政裁决决定。
十二、办理方式
网上办理、窗口办理。
十三、办结时限
承诺时限:10个工作日,特殊情况经重庆市水行政主管部门负责人同意,并与服务对象协商,可以延长5个工作日。
十四、收费依据及标准
不收费。
十五、办理结果
行政裁决决定。
十六、结果送达
申请人可到重庆市水行政主管部门政务服务窗口领取或通过电子邮件获取行政裁决决定,也可联系政务服务窗口申请邮寄领取。
十七、咨询途径
申请人可选择现场咨询或电话咨询,详见附件1和附件2。
十八、投诉渠道
申请人可选择电话投诉或现场投诉,详见附件1和附件2。
十九、办公地址和时间
办事大厅地址和办公时间详见附件1和附件2。
二十、办理进程和结果公开查询
重庆市网上办事大厅。
附录:流程图
附录
流程图

适用于重庆市水行政主管部门办理权限范围内的大中型水利水电工程(不含三峡水库工程)移民安置纠纷调处的申请和办理。
先审后办。
(一)《中华人民共和国水法》(第六届全国人民代表大会常务委员会第二十四次会议通过,中华人民共和国主席令第六十一号公布,第十二届全国人民代表大会常务委员会第二十一次会议第二次修正,中华人民共和国主席令第四十八号)第五十六条。
(二)《大中型水利水电工程建设征地补偿和移民安置条例》(国务院令第679号)第五十五条。
重庆市水行政主管部门。
重庆市水行政主管部门。
无数量限制。
(一)申请人条件
1.办理对象:大中型水利水电工程移民安置范围内的单位和个人。
2.市级办理范围:重庆市水利局审批权限范围内的大中型水利水电工程移民安置纠纷。
3.区县(自治县)办理范围:辖区内水利水电工程移民安置纠纷调处。
(二)准予办理条件
1.符合法律、法规、规章和规范性文件规定。
2.符合大中型水利水电工程移民安置规范和技术标准要求。
无。
|
序号 |
提交材料名称 |
纸质/ 电子 |
纸质/ 电子份数 |
备注 |
|
1 |
证据材料 |
电子 |
1份 |
1.单位加盖公章,个人签字并按手印; 2.证据中涉及单位名称、人名应与其他材料一致。 |
注:涉密项目按国家保密规定执行。
申请人可通过重庆市网上办事大厅(https://zwykb.cq.gov.cn/)提交电子材料;也可带电子版直接到窗口申请。地址和联系电话详见附件1和附件2。
十一、办理基本流程
(一)受理:由重庆市水行政主管部门政务服务窗口统一收件,并在2个工作日内对申请做出处理,制作受理通知书、不予受理通知书或补正通知书。
(二)审理:重庆市水行政主管部门对申请材料进行全面审理,并组织移民安置纠纷相关单位或个人进行调解。若需要听证的,由重庆市水利局组织听证。
(三)决定:经调解,能达成一致意见的,相关方签订调解协议书;不能达成一致意见的,重庆市水行政主管部门组织裁决、出具行政裁决决定。
网上办理、窗口办理。
承诺时限:10个工作日,特殊情况经重庆市水行政主管部门负责人同意,并与服务对象协商,可以延长5个工作日。
不收费。
行政裁决决定。
申请人可到重庆市水行政主管部门政务服务窗口领取或通过电子邮件获取行政裁决决定,也可联系政务服务窗口申请邮寄领取。
申请人可选择现场咨询或电话咨询,详见附件1和附件2。
申请人可选择电话投诉或现场投诉,详见附件1和附件2。
二十、办理进程和结果公开查询
重庆市网上办事大厅。
附录
流程图

第二十三章 违反河道管理条例经济损失
一、适用范围
适用于重庆市水行政主管部门办理权限范围内违反河道管理条例经济损失处理的申请和办理。
二、事项办理类型
先审后办。
三、办理依据
(一)《中华人民共和国水法》(第六届全国人民代表大会常务委员会第二十四次会议通过,中华人民共和国主席令第六十一号公布,第十二届全国人民代表大会常务委员会第二十一次会议第二次修正,中华人民共和国主席令第四十八号)第五十六条。
(二)《中华人民共和国河道管理条例》(国务院令第3号发布,国务院令第698号修订)第四十七条。
四、受理机构
重庆市水行政主管部门。
五、决定机构
重庆市水行政主管部门。
六、数量限制
无数量限制。
七、申请条件
(一)申请人条件
1.服务对象:法人和个人。
2.市级办理范围:跨区县(自治县)的违反河道管理条例的经济损失调处。
3.区县(自治县)办理范围:辖区内的违反河道管理条例的经济损失调处。
(二)准予办理条件
1.符合法律、法规、规章和规范性文件规定。
2.申请材料格式符合法定形式,材料齐全。
3.违反《中华人民共和国河道管理条例》,在河道管理范围内从事有关活动造成国家、集体、个人经济损失的。
八、禁止性要求
无。
九、申请材料目录
|
序号 |
提交材料名称 |
纸质/ 电子 |
纸质/ 电子份数 |
备注 |
|
1 |
证据材料 |
电子 |
1份 |
1.单位加盖公章,个人签字并按手印; 2.证据中涉及单位名称、人名应与其他材料一致。 |
注:涉密项目按国家保密规定执行。
十、申请接收
申请人可通过重庆市网上办事大厅(https://zwykb.cq.gov.cn/)提交电子材料;也可带电子版直接到窗口申请。地址和联系电话详见附件1和附件2。
十一、办理基本流程
(一)受理:由重庆市水行政主管部门政务服务窗口统一收件,并在2个工作日内对申请做出处理,制作受理通知书、不予受理通知书或补正通知书。
(二)审理:重庆市水行政主管部门对申请材料进行全面审理,并组织违反河道管理条例经济损失相关单位或个人进行调解。若需要听证的,由重庆市水行政主管部门组织听证。
(三)决定:经调解,能达成一致意见的,相关方签订调解协议书;不能达成一致意见的,重庆市水行政主管部门组织裁决、出具行政裁决决定。
十二、办理方式
网上办理、窗口办理。
十三、办结时限
承诺时限:10个工作日,特殊情况经重庆市水行政主管部门负责人同意,并与服务对象协商,可以延长5个工作日。
十四、收费依据及标准
不收费。
十五、办理结果
行政裁决决定。
十六、结果送达
申请人可到重庆市水行政主管部门政务服务窗口领取或通过电子邮件获取行政裁决决定,也可联系政务服务窗口申请邮寄领取。
十七、咨询途径
申请人可选择现场咨询或电话咨询,详见附件1和附件2。
十八、投诉渠道
申请人可选择电话投诉或现场投诉,详见附件1和附件2。
十九、办公地址和时间
办事大厅地址和办公时间详见附件1和附件2。
二十、办理进程和结果公开查询
重庆市网上办事大厅。
附录:流程图
附录
流程图

第二十四章 地区之间防汛抗洪水事
一、适用范围
适用于重庆市水行政主管部门办理权限范围内防汛抗洪水事纠纷处理的申请和办理。
二、事项办理类型
先审后办。
三、办理依据
(一)《中华人民共和国水法》(第六届全国人民代表大会常务委员会第二十四次会议通过,中华人民共和国主席令第六十一号公布,第十二届全国人民代表大会常务委员会第二十一次会议第二次修正,中华人民共和国主席令第四十八号)第五十六条。
(二)《中华人民共和国防汛条例》(国务院令第86号发布,国务院令第588号修订)第十九条。
四、受理机构
重庆市水行政主管部门。
五、决定机构
重庆市水行政主管部门。
六、数量限制
无数量限制。
七、申请条件
(一)申请人条件
1.办理对象:区县(自治县)水行政主管部门。
2.市级办理范围:跨区县(自治县)的防汛抗洪水事纠纷。
3.区县(自治县)办理范围:辖区内防汛抗洪水事纠纷处理。
(二)准予办理条件
1.符合法律、法规、规章和规范性文件规定。
2.符合涉水规范和技术标准要求。
八、禁止性要求
无。
九、申请材料目录
|
序号 |
提交材料名称 |
纸质/ 电子 |
纸质/ 电子份数 |
备注 |
|
1 |
证据材料 |
电子 |
1份 |
1.单位加盖公章,个人签字并按手印; 2.证据中涉及单位名称、人名应与其他材料一致。 |
注:涉密项目按国家保密规定执行。
十、申请接收
申请人可通过重庆市网上办事大厅(https://zwykb.cq.gov.cn/)提交电子材料;也可带电子版直接到窗口申请。地址和联系电话详见附件1和附件2。
十一、办理基本流程
(一)受理:由重庆市水行政主管部门政务服务窗口统一收件,并在2个工作日内对申请做出处理,制作受理通知书、不予受理通知书或补正通知书。
(二)审理:重庆市水行政主管部门对申请材料进行全面审理,并组织跨区县(自治县)的防汛抗洪水事纠纷相关单位进行调解。若需要听证的,由重庆市水行政主管部门组织听证。
(三)决定:经调解,能达成一致意见的,相关方签订调解协议书;不能达成一致意见的,重庆市水行政主管部门组织裁决、出具行政裁决决定。
十二、办理方式
网上办理、窗口办理。
十三、办结时限
承诺时限:10个工作日,特殊情况经重庆市水行政主管部门负责人同意,并与服务对象协商,可以延长5个工作日。
十四、收费依据及标准
不收费。
十五、办理结果
行政裁决决定。
十六、结果送达
申请人可到重庆市水行政主管部门政务服务窗口领取或通过电子邮件获取行政裁决决定,也可联系政务服务窗口申请邮寄领取。
十七、咨询途径
申请人可选择现场咨询或电话咨询,详见附件1和附件2。
十八、投诉渠道
申请人可选择电话投诉或现场投诉,详见附件1和附件2。
十九、办公地址和时间
办事大厅地址和办公时间详见附件1和附件2。
二十、办理进程和结果公开查询
重庆市网上办事大厅。
附录:流程图
附录
流程图

第二十五章 工程质量监督手续办理办事指南
一、适用范围
适用于重庆市水行政主管部门监督管理范围的水利工程质量监督手续的申请和办理。
二、事项办理类型
先核后办。
三、办理依据
(一)《建设工程质量管理条例》(国务院令第279号发布,国务院令第714号修订)第十三条。
(二)《水利工程质量管理规定》(水利部令第52号)第十三条。
(三)《水利工程质量监督管理规定》(水建〔1997〕339号)第二十一条。
(四)《重庆市水利局办公室关于印发〈重庆市水利建设工程质量监督工作和事权划分的实施意见(试行)〉的通知》(渝水办监〔2024〕1号)。
四、受理机构
重庆市水行政主管部门。
五、决定机构
重庆市水行政主管部门。
六、数量限制
无数量限制。
七、申请条件
(一)申请人条件
1.办理对象:水利工程项目法人(建设单位)。
2.市级办理范围
(1)由市级负责竣工验收的水利工程(除部直属重点工程):中型及以上水库(含新建、改扩建)的枢纽工程;长江、嘉陵江、乌江干流城市堤防工程;渠(管)道流量20m3/s或泵站装机流量10m3/s及以上的引调水工程;由市级及以上水行政主管部门审批的跨区县(自治县)水利工程。
3.区县(自治县)办理范围
(1)辖区内除市级及以上水行政主管部门监督范围外的水利工程。
(2)西部科学城重庆高新区在管理范围内具有市级办理权限〔不含跨区县(自治县)水利工程〕。
(二)准予办理条件
符合法律、法规、规章和规范性文件规定。
八、禁止性要求
无。
九、申请材料目录
|
序号 |
提交材料名称 |
纸质/ 电子 |
纸质/电子份数 |
备注 |
|
1 |
水利工程质量监督申请书 |
电子 |
1份 |
|
|
2 |
项目法人审批文件 |
电子 |
1份 |
|
|
3 |
初步设计审批文件 |
电子 |
1份 |
|
|
4 |
勘察、设计、监理、施工合同副本 |
电子 |
1份 |
|
|
5 |
勘察、设计、监理、施工单位资质证书 |
电子 |
1份 |
|
|
6 |
重庆市水利工程质量终身责任承诺书 |
电子 |
1份 |
包含建设、勘察、设计、监理、施工的承诺书。 |
|
7 |
项目负责人证明材料 |
电子 |
1份 |
包含建设、勘察、设计、监理、施工的任命文件和授权书。 |
注:涉密项目按国家保密规定执行。
十、申请接收
申请人可通过重庆市网上办事大厅(https://zwykb.cq.gov.cn/)工程建设项目审批板块提交电子材料;也可带电子版直接到窗口申请。地址和联系电话详见附件1和附件2。
十一、办理基本流程
(一)受理:由重庆市水行政主管部门政务服务窗口统一收件,并在2个工作日内对申请做出处理,制作受理通知书或不予受理决定书或补正通知书或不受理告知书。
(二)审核:重庆市水行政主管部门对申请材料进行全面审核。
(三)决定:经审核,符合条件的,重庆市水行政主管部门出具重庆市水利水电工程质量监督书(盖章)。
十二、办理方式
网上办理、窗口办理。
十三、办理时限
承诺时限:3个工作日。
十四、收费依据及标准
不收费。
十五、办理结果
重庆市水利水电工程质量监督书(盖章)。
十六、结果送达
申请人可到重庆市水行政主管部门政务服务窗口领取或通过电子邮件获取重庆市水利水电工程质量监督书(盖章),也可联系政务服务窗口申请邮寄领取。
十七、咨询途径
申请人可选择现场咨询或电话咨询,详见附件1和附件2。
十八、投诉渠道
申请人可选择电话投诉或现场投诉,详见附件1和附件2。
十九、办公地址和时间
办事大厅地址和办公时间详见附件1和附件2。
二十、办理进程和结果公开查询
附录:1.流程图
附录1
流程图

附录2
申报单位: (盖章) 申报日期: 年 月 日
|
工程名称 |
|
建设性质 |
| |||||
|
项目法人 |
|
法定代表人 |
| |||||
|
项目负责人 |
|
项目负责人联系方式 |
| |||||
|
单位地址 |
| |||||||
|
工程概况及进展 |
| |||||||
|
工程概算总投资 |
万元 |
计划工期 |
20年月开工~20年月竣工 | |||||
|
其中,工程部分投资 |
万元 | |||||||
|
质量监督申报内容 |
| |||||||
|
参建单位基本情况 |
|
企业名称 |
资质等级 |
项目负责人 | ||||
|
勘察单位 |
|
|
| |||||
|
设计单位 |
|
|
| |||||
|
监理单位 |
|
|
| |||||
|
施工单位 |
|
|
| |||||
|
备注 |
(1)以上报监资料原则上要提供原件,确有不便提供原件的由申报人或业主单位负责人与原件核对,并签上“经核对与原件无异”字样并加盖公章,申报材料不齐或不完善者不予办理。 (2)对在建设过程中逐步发标的工程,施工、监理等参建单位如有增加,应按提供资料要求及时报质量监督机构备案。 | |||||||
办理联系人: 联系电话:
一、适用范围
适用于重庆市水行政主管部门办理权限范围的水利水电工程可行性研究报告(或项目申请报告)技术审查的申请和办理。
二、事项办理类型
先审后批。
三、办理依据
(一)《中华人民共和国水法》(第六届全国人民代表大会常务委员会第二十四次会议通过,中华人民共和国主席令第六十一号公布,第十二届全国人民代表大会常务委员会第二十一次会议第二次修正,中华人民共和国主席令第四十八号)第四十五条。
(二)《政府投资条例》(国务院令第712号)第九条。
(三)《水利工程建设程序管理暂行规定》(水建〔1998〕16号发布,水利部令第50号修正)第五条第三款。
(四)《水利基本建设投资计划管理暂行办法》(水规计〔2003〕344号)第二十二条。
(五)《重庆市政府投资管理办法》(渝府令〔2020〕339号)第十三条。
(六)《国家发展改革委关于下放政府出资水利项目审批事项的通知》(发改农经〔2017〕2296号)。
(七)《国家发展改革委 水利部关于印发水利领域相关中央预算内投资专项管理办法的通知》(发改农经规〔2021〕1880号)。
(八)《重庆市人民政府关于发布重庆市政府核准的投资项目目录(2017年本)的通知》(渝府发〔2017〕18号)第一部分(农业水利)。
(九)《重庆市水利局关于进一步明确重点水利工程建设管理权限的通知》(渝水建〔2022〕4号)。
四、受理机构
重庆市水行政主管部门。
五、决定机构
重庆市水行政主管部门。
六、数量限制
无数量限制。
七、申请条件
(一)申请人条件
1.审查对象:水利工程建设项目主管部门或建设单位。
2.市级办理范围
(1)国家下放我市的项目:库容小于10亿立方米且坝高低于70米,不涉及跨国界、跨省(区、市)水资源配置调整的大型水库项目。
(2)中型水库、中型引调水、流域面积3000平方公里以上的江河治理项目。
(3)大型(除水利部直属工程)、中型病险水库(闸)除险加固工程。
(4)新建大型灌区项目。
(5)有特殊规定的从其文件规定。
3.区县(自治县)办理范围
(1)除国家、市级审批范围外的水利水电工程。
(2)除需市级以上投资补助外的建设项目,万州区在直接管理范围内具有市级办理权限。
(3)重庆两江新区在直管区域内、西部科学城重庆高新区在管理范围内具有市级办理权限。
(二)审查通过条件
1.符合法律、法规、规章和规范性文件规定。
2.符合规程和规范、技术标准要求。
八、禁止性要求
无。
九、申请材料目录
|
序号 |
提交材料名称 |
纸质/电子 |
纸质/电子份数 |
备注 |
|
1 |
关于审查××工程可行性研究报告的请示 |
电子 |
1份 |
|
|
2 |
水利水电工程可行性研究报告 |
纸质 |
20份 |
1.内含:工程地质、投资估算等专题报告和图集单行本; 2.电子光盘2张。 |
注:涉密项目按国家保密规定执行。
十、申请接收
申请人可通过重庆市网上办事大厅(https://zwykb.cq.gov.cn/)工程建设项目审批板块提交电子材料,采取窗口报送、邮寄等方式提交纸质材料;也可直接到窗口申请和提交纸质材料。地址和联系电话详见附件1和附件2。
十一、办理基本流程
(一)受理:由重庆市水行政主管部门政务服务窗口统一收件,并在2个工作日内对申请做出处理,制作受理通知书、不予受理通知书或补正通知书。
(二)审查:重庆市水行政主管部门对申请材料进行全面审查,组织专家完成专家评审(含现场踏勘),材料满足相关要求具备出审查意见的,提出审查意见;材料不满足相关要求的,提出修改意见,项目法人按相关要求修改完善材料,重庆市水行政主管部门组织专家复核,直到满足相关要求,并提出复核意见。若需要听证的,由重庆市水行政主管部门组织听证。
(三)决定:经审查,符合条件的,重庆市水行政主管部门出具可行性研究报告(或项目申请报告)审查意见。
十二、办理方式
网上办理、窗口办理。
十三、办结时限
(一)承诺时限:10个工作日,特殊情况经重庆市水行政主管部门负责人同意,并与服务对象协商,可以延长10工作日。
(二)专家评审时限:不超过20个工作日(从向专家发送评审资料开始到专家组提交正式评审意见),但申请人对有关材料进行补充完善的时间除外。
(三)补充完善时限:专家评审过程中,若报告原则性通过专家评审但需修改完善的,则申请人需在技术评审会后10个工作日内提交完善后的报告,逾期未报,则该申请事项作退件处理。
十四、收费依据及标准
不收费。
十五、办理结果
可行性研究报告(或项目申请报告)审查意见。
十六、结果送达
申请人可到重庆市水行政主管部门政务服务窗口领取或通过电子邮件获取可行性研究报告(或项目申请报告)审查意见,也可联系政务服务窗口申请邮寄领取。
十七、咨询途径
申请人可选择现场咨询或电话咨询,详见附件1和附件2。
十八、投诉渠道
申请人可选择电话投诉或现场投诉,详见附件1和附件2。
十九、办公地址和时间
办事大厅地址和办公时间详见附件1和附件2。
二十、办理进程和结果公开查询
重庆市网上办事大厅。
附录:1.流程图
2.关于审查××工程可行性研究报告的请示
附录1
流程图

附录2
关于审查××工程可行性研究报告的请示
××××:
工程已经完成可行性研究报告编制,按照相关规定,现将 工程可行性研究报告呈请审查,项目基本情况如下:
一、项目名称
二、项目法人
三、项目建设地址
四、工程建设任务和规模
五、工程选址、工程总布置及主要建筑物
(一)工程等级及洪水标准
(二)建筑物位置及型式
(三)工程总布置
(四)主要建筑物设计
六、建设征地与移民安置
七、总投资及资金来源
八、建设工期
当否,请批示。
附件:工程可行性研究报告
申请单位(盖章)
年 月 日
(联系人: ;联系电话:(手机))
适用于重庆市水行政主管部门监督管理范围的水利工程建设项目阶段验收的申请和办理。本指南中阶段验收是指枢纽工程导(截)流验收和水库下闸蓄水验收。
三、办理依据
(一)《水利工程建设项目验收管理规定》(水利部令第30号发布,水利部令第49号修正)第三条、第十九条、第二十条。
(二)《水利水电建设工程验收规程》(SL/T 223—2025)第7章。
(三)《国家发展改革委关于下放政府出资水利项目审批事项的通知》(发改农经〔2017〕2296号)。
(四)《重庆市水利局关于进一步明确重点水利工程建设管理权限的通知》(渝水建〔2022〕4号)。
重庆市水行政主管部门。
重庆市水行政主管部门。
无数量限制。
(一)申请人条件
1.办理对象:水利工程建设项目主管部门或建设单位。
2.市级验收范围
(1)水利部负责初步设计审批,且以我市投资为主的水利工程建设项目。
(2)市水利局负责初步设计审批的大中型水源工程(含新建、改扩建)。
3.区县(自治县)验收范围
(1)除水利部、市水利局验收以外的其他水利工程项目。
(2)西部科学城重庆高新区在管理范围内具有市级办理权限。
(二)准予办理条件
1.符合法律、法规、规章和规范性文件规定。
2.符合规程和规范、技术标准要求。
3.符合验收通过条件。
无。
|
序号 |
提交材料名称 |
纸质/ 电子 |
纸质/ 电子份数 |
备注 |
|
1 |
阶段验收申请报告 |
电子 |
1份 |
|
|
2 |
工程参建单位建设管理工作报告 |
电子 |
1份 |
包含:1.工程建设管理工作报告; 2.拟验工程清单; 3.工程勘察设计工作报告; 4.工程建设监理工作报告; 5.工程施工管理工作报告; 6.未完工程(阶段验收)、建设安排及完成时间、技术预验收工作报告、工程度汛方案、超标准洪水应急预案、工程调度运用方案、运行管理工作报告、重大技术问题专题报告、工程质量监督报告(此项资料如有则应提供或根据需要提供)。 |
注:涉密项目按国家保密规定执行。
十、申请接收
申请人可通过重庆市网上办事大厅(https://zwykb.cq.gov.cn/)工程建设项目审批板块提交电子材料;也可带电子版直接到窗口申请。地址和联系电话详见附件1和附件2。
十一、办理基本流程
(一)受理:由重庆市水行政主管部门政务服务窗口统一收件,并在2个工作日内对申请做出处理,制作受理通知书、不予受理通知书或补正通知书。
(二)审查:重庆市水行政主管部门对申请材料进行全面审查,组织专家评审(含现场踏勘),材料满足相关要求的提出审查意见;材料不满足相关要求的,提出修改意见,项目法人按要求修改完善材料,重庆市水行政主管部门组织专家复核,并提出复核意见。
(三)决定:经审查,符合条件的,重庆市水行政主管部门出具水利工程建设项目阶段验收鉴定书。
网上办理、窗口办理。
(一)承诺时限:6个工作日(不含专家评审、现场核查等时间);特殊情况经重庆市水行政主管部门负责人同意,并与服务对象协商,可以延长5个工作日。
(二)专家评审时限:不超过15个工作日(从向专家发送评审资料开始到专家组提交正式评审意见),但申请人对有关材料进行补充完善的时间除外。
(三)修改完善时限:专家评审过程中,若报告原则性通过专家评审但需修改完善的,则申请人需在专家评审会后20个工作日内提交完善后的报告,逾期未报,则该申请事项作退件处理。
不收费。
水利工程建设项目阶段验收鉴定书。
十六、结果送达
申请人可到重庆市水行政主管部门政务服务窗口领取或通过电子邮件获取水利工程建设项目阶段验收鉴定书,也可联系政务服务窗口申请邮寄领取。
十七、咨询途径
申请人可选择现场咨询或电话咨询,详见附件1和附件2。
十八、投诉渠道
申请人可选择电话投诉或现场投诉,详见附件1和附件2。
十九、办公地址和时间
办事大厅地址和办公时间详见附件1和附件2。
二十、办理进程和结果公开查询
重庆市网上办事大厅。
附录:流程图
附录
流程图

一、适用范围
适用于重庆市水行政主管部门监督管理范围的水利工程建设项目竣工验收的申请和办理。
二、事项办理类型
先验后批。
三、办理依据
(一)《水利工程建设项目验收管理规定》(水利部令第30号发布,水利部令第49号修正)第三条、第十九条、第二十条。
(二)《水利水电建设工程验收规程》(SL/T 223—2025)第8章。
(三)《国家发展改革委关于下放政府出资水利项目审批事项的通知》(发改农经〔2017〕2296号)。
(四)《重庆市水利局关于进一步明确重点水利工程建设管理权限的通知》(渝水建〔2022〕4号)。
四、受理机构
重庆市水行政主管部门。
五、决定机构
重庆市水行政主管部门。
六、数量限制
无数量限制。
七、申请条件
(一)申请人条件
1.办理对象:水利工程建设项目主管部门或建设单位。
2.市级验收范围
(1)水利部负责初步设计审批,且以我市投资为主的水利工程建设项目。
(2)市水利局负责初步设计审批的大中型水源工程(含新建、改扩建)。
(3)长江、嘉陵江、乌江干流县级及以上城市堤防工程。
3.区县(自治县)验收范围
(1)除水利部、市水利局验收以外的其他水利工程项目。
(2)西部科学城重庆高新区在管理范围内具有市级办理权限。
(二)准予办理条件
1.符合法律、法规、规章和规范性文件规定。
2.符合规程和规范、技术标准要求。
3.符合验收通过条件。
八、禁止性要求
无。
九、申请材料目录
|
序号 |
提交材料名称 |
纸质/电子 |
纸质/电子份数 |
备注 |
|
1 |
竣工验收申请报告 |
电子 |
1份 |
|
|
2 |
工程参建单位建设管理工作报告 |
电子 |
1份 |
包含:1.工程建设管理工作报告; 2.工程建设大事记; 3.拟验工程清单; 4.技术预验收工作报告; 5.工程调度运用方案; 6.工程勘察设计工作报告; 7.工程建设监理工作报告; 8.工程施工管理工作报告; 9.运行管理工作报告; 10.尾工工程清单、建设安排及完成时间、竣工验收技术鉴定报告、重大技术问题专题报告(此项资料如有则应提供或根据需要提供)。 |
|
3 |
工程质量监督报告 |
电子 |
1份 |
|
注:涉密项目按国家保密规定执行。
十、申请接收
申请人可通过重庆市网上办事大厅(https://zwykb.cq.gov.cn/)工程建设项目审批板块提交电子材料;也可带电子版直接到窗口申请。地址和联系电话详见附件1和附件2。
十一、办理基本流程
(一)受理:由重庆市水行政主管部门政务服务窗口统一收件,并在2个工作日内对申请做出处理,制作受理通知书、不予受理通知书或补正通知书。
(二)审查:重庆市水行政主管部门对申请材料进行全面审查,组织专家评审(含现场踏勘),材料满足相关要求的提出审查意见;材料不满足相关要求的,提出修改意见,项目法人按要求修改完善材料,重庆市水行政主管部门组织专家复核,并提出复核意见。
(三)决定:经审查,符合条件的,重庆市水行政主管部门出具水利工程建设项目竣工验收鉴定书。
十二、办理方式
网上办理、窗口办理。
十三、办结时限
(一)承诺时限:6个工作日(不含专家评审、现场核查等时间);特殊情况经重庆市水行政主管部门负责人同意,并与服务对象协商,可以延长5个工作日。
(二)专家评审时限:不超过15个工作日(从向专家发送评审资料开始到专家组提交正式评审意见),但申请人对有关材料进行补充完善的时间除外。
(三)补充完善时限:专家评审过程中,若报告原则性通过专家评审但需修改完善的,则申请人需在专家评审会后20个工作日内提交完善后的报告,逾期未报,则该申请事项作退件处理。
十四、收费依据及标准
不收费。
十五、审查结果
水利工程建设项目竣工验收鉴定书。
十六、结果送达
申请人可到重庆市水行政主管部门政务服务窗口领取或通过电子邮件获取水利工程建设项目竣工验收鉴定书,也可联系政务服务窗口申请邮寄领取。
十七、咨询途径
申请人可选择现场咨询或电话咨询,详见附件1和附件2。
十八、投诉渠道
申请人可选择电话投诉或现场投诉,详见附件1和附件2。
十九、办公地址和时间
办事大厅地址和办公时间详见附件1和附件2。
二十、办理进程和结果公开查询
重庆市网上办事大厅。
二十一、备注
(一)申请竣工验收前,项目法人应组织竣工验收自查。
(二)工程有少量建设内容未完成,但不影响工程正常运行,符合财务有关规定、项目法人已对尾工做出安排的,经市水利局同意,可进行竣工验收。
附录:流程图
附录

一、适用范围
适用于重庆市水行政主管部门办理范围内水利工程建设项目档案专项验收的申请和办理。
二、事项办理类型
先核后办。
三、办理依据
(一)《水利工程建设项目验收管理规定》(水利部令第30号发布,水利部令第49号修正)第二十一条第二款。
(二)《水利部关于印发水利工程建设项目档案管理规定的通知》(水办〔2021〕200号)第三十六条。
(三)《水利工程建设项目档案验收办法》(水办〔2023〕132号)第五条。
(四)《重大建设项目档案验收办法》(档发〔2006〕2号)第八条、第十一条。
(五)《重庆市水利局关于进一步明确重点水利工程建设管理权限的通知》(渝水建〔2022〕4号)。
四、受理机构
重庆市水行政主管部门。
五、决定机构
重庆市水行政主管部门。
六、数量限制
无数量限制。
七、申请条件
(一)申请人条件
1.办理对象:项目法人。
2.市级验收范围:市水利局负责初步设计审批的大型水源工程(含新建、改扩建)建设项目。
3.区县(自治县)验收范围
(1)除水利部、市水利局验收以外的其他水利工程项目。
(2)西部科学城重庆高新区在管理范围内具有市级办理权限。
(二)准予办理条件
1.符合法律、法规、规章和规范性文件规定。
2.符合规程和规范、技术标准要求。
3.符合验收通过条件。
八、禁止性要求
无。
九、申请材料目录
|
序号 |
提交材料名称 |
纸质/电子 |
纸质/电子份数 |
备注 |
|
1 |
重大建设项目档案验收申请表 |
电子 |
1份 |
|
|
2 |
水利工程建设项目档案验收申请报告 |
电子 |
1份 |
|
注:涉密项目按国家保密规定执行。
十、申请接收
申请人可通过重庆市网上办事大厅(https://zwykb.cq.gov.cn/)工程建设项目审批板块提交电子材料;也可带电子版直接到窗口申请。地址和联系电话详见附件1和附件2。
十一、办理基本流程
(一)受理:由重庆市水行政主管部门政务服务窗口统一收件,并在2个工作日内对申请做出处理,制作受理通知书、不予受理通知书或补正通知书。
(二)审查:重庆市水行政主管部门对申请材料进行全面审查,组织专家评审(含现场踏勘),材料满足相关要求的提出审查意见;材料不满足相关要求的,提出修改意见,项目法人按要求修改完善材料,重庆市水行政主管部门组织专家复核,并提出复核意见。
(三)决定:经审查,符合条件的,重庆市水行政主管部门出具工程项目档案验收意见;不符合条件的,重庆市水行政主管部门出具不予工程项目档案验收意见。
十二、办理方式
网上办理、窗口办理。
十三、办结时限
(一)承诺时限:5个工作日(不含专家评审、现场核查等时间)。
十四、收费依据及标准
不收费。
十五、办理结果
工程项目档案验收意见。
十六、结果送达
申请人可到重庆市水行政主管部门政务服务窗口领取或通过电子邮件获取工程项目档案验收意见,也可联系政务服务窗口申请邮寄领取。
十七、咨询途径
申请人可选择现场咨询或电话咨询,详见附件1和附件2。
十八、投诉渠道
申请人可选择电话投诉或现场投诉,详见附件1和附件2。
十九、办公地址和时间
办事大厅地址和办公时间详见附件1和附件2。
二十、办理进程和结果公开查询
重庆市网上办事大厅。
二十一、备注
(一)申请竣工验收前,项目法人应组织档案验收自查。
(二)项目档案专项验收应在项目竣工验收3个月之前提出申请。
附录:1.流程图
2.重大建设项目档案验收申请表
附录1
流程图

附录2
重大建设项目档案验收申请表
|
项目名称 |
| ||
|
审批(核准) 机关 |
|
立项日期 |
|
|
投资规模 |
|
建设单位 |
|
|
建设单位 (法人) |
|
设计单位 |
|
|
主要 施工单位 |
|
主要 监理单位 |
|
|
计划档案 验收日期 |
|
计划竣工 验收日期 |
|
|
联 系 人 |
|
联系电话 |
|
|
地址/邮编 |
|
电子信箱 |
|
|
申请单位 自检意见 |
(单位盖章) 年月日 | ||
|
验收组织 单位意见 |
(单位盖章) 年月日 | ||
一、适用范围
适用于区县(自治县)辖区内三峡移民迁建过程中使用三峡移民资金形成非淹没补偿复建的固定资产处置的申请和办理。
二、事项办理类型
先核后办。
三、办理依据
(一)《重庆市三峡库区移民资金管理办法》(渝府令〔2000〕70号)第二十九条、第四十条。
(二)重庆市水利局《关于进一步加强三峡移民资产管理工作的通知》(渝水三峡〔2021〕2号)。
四、受理机构
区县(自治县)水行政主管部门。
五、决定机构
区县(自治县)水行政主管部门。
六、数量限制
无数量限制。
七、申请条件
(一)申请人条件
1.办理对象:符合三峡移民迁建过程中使用三峡移民资产形成非淹没补偿复建的固定资产条件的企业法人。
2.区县(自治县)办理范围:辖区内三峡移民迁建过程中使用三峡移民资金形成的非淹没补偿复建的固定资产。
(二)准予办理条件
1.拟处置资产的类别、位置、目的、价值确定方式等内容明确,委托有资质的中介机构评估价格,并以评估价格为基础,通过公开竞争方式实施移民资产处置。
2.转让移民迁建用地的使用权,应经区县(自治县)人民政府同意,并按照规划自然资源部门有关规定办理。
3.出售房屋及其它资产的产权,应经区县(自治县)人民政府同意,以中介机构评估价为基础,通过公开拍卖方式处置。
八、禁止性要求
无。
九、申请材料目录
|
序号 |
提交材料名称 |
纸质/电子 |
纸质文件份数 |
备注 |
|
1 |
移民迁建单位补偿安置遗留的固定资产处置申请表 |
电子 |
1份 |
|
|
2 |
固定资产处置方案 |
电子 |
1份 |
|
十、申请接收
申请人可通过重庆市网上办事大厅(https://zwykb.cq.gov.cn/)提交电子材料;也可带电子版直接到窗口申请。地址和联系电话详见附件1和附件2。
十一、办理基本流程
(一)受理:由区县(自治县)水行政主管部门政务服务窗口统一收件,并在2个工作日内对申请做出处理,制作受理通知书、不予受理通知书或补正通知书。
(二)审核:区县(自治县)水行政主管部门对申请材料进行全面审核。
(三)决定:经审核,符合条件的,区县(自治县)水行政主管部门出具移民迁建单位补偿安置遗留的固定资产处置申请表(盖章)。
十二、办理方式
网上办理、窗口办理。
十三、办结时限
承诺时限:6个工作日。
十四、收费依据及标准
不收费。
十五、办理结果
移民迁建单位补偿安置遗留的固定资产处置申请表(盖章)。
十六、结果送达
申请人可到区县(自治县)水行政主管部门政务服务窗口领取或通过电子邮件获取移民迁建单位补偿安置遗留的固定资产处置申请表(盖章),也可联系政务服务窗口申请邮寄领取。
十七、咨询途径
申请人可选择现场咨询或电话咨询,详见附件2。
十八、投诉渠道
申请人可选择电话投诉或现场投诉,详见和附件2。
十九、办公地址和时间
办事大厅地址和办公时间详见附件2。
二十、办理进程和结果公开查询
重庆市网上办事大厅。
附录:1. 流程图
附录1

附录2
申报单位(盖章): 申报日期: 年 月 日
|
资产名称 |
| |||||||
|
处置原因 |
| |||||||
|
联系人 |
|
联系方式 |
| |||||
|
处置方式 |
转让 |
|
变卖 |
|
报废 |
|
其他 |
|
|
资产管理单位意见 |
| |||||||
|
区县政府审批意见 |
| |||||||
|
备注 |
需提供资料:1、关于固定资产处置的请示文件原件3份; 2、固定资产处置方案3份。 | |||||||
第三十一章 生产建设项目水土保持设施
一、适用范围
适用于重庆市水行政主管部门办理范围的生产建设项目水土保持方案自主验收报备的申请和办理。
二、事项办理类型
报备。
三、办理依据
(一)《重庆市实施〈中华人民共和国水土保持法〉办法》(重庆市人民代表大会常务委员会公告〔五届〕第13号)第二十六条。
(二)《生产建设项目水土保持方案管理办法》(水利部令第53号)第二十二条。
(三)《水利部办公厅关于印发生产建设项目水土保持监督管理办法的通知》(办水保〔2019〕172号)。
(四)《水利部关于加强事中事后监管规范生产建设项目水土保持设施自主验收的通知》(水保〔2017〕365号)。
(五)《水利部关于进一步加强深化“放管服”改革全面加强水土保持监管的意见》(水保〔2019〕160号)。
(六)《重庆市水利局关于精简优化水土保持方案行政审批和公共服务工作的通知》(渝水〔2019〕158号)。
四、受理机构
重庆市水行政主管部门。
五、决定机构
重庆市水行政主管部门。
六、数量限制
无数量限制。
七、申请条件
(一)申请人条件
1.办理对象:建设单位。
2.市级办理范围:市水利局审批水土保持方案的生产建设项目。
3.区县(自治县)办理范围
(1)区县(自治县)水行政主管部门审批水土保持方案的生产建设项目。
(2)万州区在辖区内、重庆两江新区在直管区域内具有市级办理权限。
(二)报备条件
1.符合水土保持法律、法规、规章和规范性文件规定。
2.符合水土保持规程和规范、技术标准要求。
八、禁止性要求
无。
九、申请材料目录
(一)编制水土保持方案报告书的生产建设项目
|
序号 |
提交材料名称 |
纸质/电子 |
纸质/电子 份数 |
备注 |
|
1 |
生产建设项目水土保持设施验收鉴定书 |
电子 |
1份 |
|
|
2 |
生产建设项目水土保持监测总结报告 |
电子 |
1份 |
|
|
3 |
生产建设项目水土保持设施验收报告 |
电子 |
1份 |
|
(二)编制水土保持方案报告表的生产建设项目和已批复区域水土保持方案的园区内项目
|
序号 |
提交材料名称 |
纸质/电子 |
纸质/电子份数 |
备注 |
|
1 |
生产建设项目水土保持设施自主验收表 |
电子 |
1份 |
|
注:涉密项目按国家保密规定执行。
十、申请接收
申请人可通过重庆市网上办事大厅(https://zwykb.cq.gov.cn/)工程建设项目审批板块提交电子材料;也可带电子版直接到窗口申请。地址和联系电话详见附件1和附件2。
十一、办理基本流程
(一)受理:由重庆市水行政主管部门政务服务窗口统一收件,并在1个工作日内对申请做出处理,制作受理通知书、不予受理通知书或补正通知书。
(二)审核:重庆市水行政主管部门对申请材料进行全面审核。
(三)决定:经审核,符合条件的重庆市水行政主管部门出具水土保持设施验收报备回执。
十二、办理方式
网上办理、窗口办理。
十三、办结时限
承诺时限:1个工作日。
十四、收费依据及标准
不收费。
十五、办理结果
水土保持设施验收报备回执。
十六、结果送达
申请人可到重庆市水行政主管部门政务服务窗口领取或通过电子邮件获取水土保持设施验收报备回执。
十七、咨询途径
申请人可选择现场咨询或电话咨询,详见附件1和附件2。
十八、投诉渠道
申请人可选择电话投诉或现场投诉,详见附件1和附件2。
十九、办公地址和时间
办事大厅地址和办公时间详见附件1和附件2。
二十、办理进程和结果公开查询
重庆市网上办事大厅。
二十一、备注
(一)申请人应当在水土保持设施自主验收通过后3个月内,向审批水土保持方案的水行政主管部门申请报备。
(二)编制水土保持方案报告表的生产建设项目和已开展区域水土保持评价的园区建设项目,应当有至少一名市水利局水土保持方案专家库专家在水土保持设施验收鉴定书或生产建设项目水土保持设施自主验收表上签署意见。
(三)生产建设单位在水土保持设施验收合格后,及时在其官方网站或其他公众知悉的网站公示水土保持设施验收材料,公示时间不少于20个工作日,公示完成后才能提交此申请事项。
4.生产建设项目水土保持监测总结报告
5.生产建设项目水土保持设施自主验收表
附录1
流程图

附录2
前言
1.1 项目概况
1.1.1 地理位置
1.1.2 主要技术指标
1.1.3 项目投资
1.1.4 项目组成及布置
1.1.5 施工组织及工期
1.1.6 土石方情况
1.1.7 征占地情况
1.1.8 移民安置和专项设施改(迁)建
1.2 项目区概况
1.2.1 自然条件
1.2.2 水土流失及防治情况
2.1 主体工程设计
2.2 水土保持方案
2.3 水土保持方案变更
2.4 水土保持后续设计
3.1 水土流失防治责任范围
3.2 弃渣场设置
3.3 取土场设置
3.4 水土保持措施总体布局
3.5 水土保持设施完成情况
3.6 水土保持投资完成情况
4.1 质量管理体系
4.2 各防治分区水土保持工程质量评定
4.2.1 项目划分及结果
4.2.2 各防治分区工程质量评定
4.3 弃渣场稳定性评估
4.4 总体质量评价
5.1 初期运行情况
5.2 水土保持效果
5.3 公众满意度调查
6.1 组织领导
6.2 规章制度
6.3 建设管理
6.4 水土保持监测
6.5 水土保持监理
6.6 水行政主管部门监督检查意见落实情况
6.7 水土保持补偿费缴纳情况
6.8 水土保持设施管理维护
7.1 结论
7.2 遗留问题安排
8.1 附件
(1)项目建设及水土保持大事记;
(2)项目立项(审批、核准、备案)文件;
(3)水土保持方案、重大变更及其批复文件;
(4)水土保持初步设计或施工图设计审批(审查、审核)资料;
(5)水行政主管部门的监督检查意见;
(6)分部工程和单位工程验收签证资料;
(7)重要水土保持单位工程验收照片;
(8)其他有关资料。
8.2 附图
(1)主体工程总平面图;
(2)水土流失防治责任范围及水土保持措施布设竣工验收图;
(3)项目建设前、后遥感影像图;
(4)其他相关图件。
附录3
项 目 名 称
项 目 编 号
建 设 地 点
验 收 单 位
年 月 日
一、生产建设项目水土保持设施验收基本情况表
|
项目名称 |
|
行业类别 |
|
|
主管部门 (或主要投资方) |
|
项目性质 |
|
|
水土保持方案批复机关、文号及时间 |
| ||
|
水土保持方案变更批复机关、文号及时间 |
| ||
|
水土保持初步设计批复机关、文号及时间 |
| ||
|
项目建设起止时间 |
| ||
|
水土保持方案编制单位 |
| ||
|
水土保持初步设计单位 |
| ||
|
水土保持监测单位 |
| ||
|
水土保持施工单位 |
| ||
|
水土保持监理单位 |
| ||
|
水土保持设施验收 报告编制单位 |
| ||
二、验收意见
|
验收意见提纲: 介绍验收会议基本情况,包括主持单位、时间、地点、参加人员和验收组等。 介绍验收会议工作情况。 (一)项目概况 说明项目建设地点、主要技术指标、建设内容和开完工情况。 (二)水土保持方案批复情况(含变更) 说明水土保持方案批复时间、文号和主要内容等。 (三)水土保持初步设计或施工图设计情况 说明水土保持初步设计(水土保持专章或水土保持部分)的批复时间、机关和文号等,说明水土保持施工图设计审核、审查情况。 (四)水土保持监测情况 说明水土保持监测工作开展情况和监测报告主要结论。 (五)验收报告编制情况和主要结论 说明水土保持设施验收报告编制情况和验收报告主要结论。 (六)验收结论 说明该项目实施过程中是否落实了水土保持方案及批复文件要求,是否完成了水土流失预防和治理任务,水土流失防治指标是否达到水土保持方案确定的目标值,是否符合水土保持设施验收的条件,是否同意该项目水土保持设施通过验收。 (七)后续管护要求 提出水土保持设施后续管护要求。 |
|
分 工 |
姓名 |
单位 |
职务/职称 |
签 字 |
备注 |
|
组长 |
|
|
|
|
建设单位 |
|
成
员 |
|
|
|
|
验收报告编制单位 |
|
|
|
|
| ||
|
|
|
|
|
监测单位 | |
|
|
|
|
| ||
|
|
|
|
|
监理单位 | |
|
|
|
|
| ||
|
|
|
|
|
水土保持方案编制单位 | |
|
|
|
|
| ||
|
|
|
|
|
施工单位 | |
|
|
|
|
|
附录4
前言
1.1 建设项目概况
1.1.1 项目基本情况
1.1.2 项目区概况
1.2 水土保持工作情况
1.3 监测工作实施情况
1.3.1 监测实施方案执行情况
1.3.2 监测项目部设置
1.3.3 监测点布设
1.3.4 监测设施设备
1.3.5 监测技术方法
1.3.6 监测成果提交情况
2.1 扰动土地情况
2.2 取料(土、石)、弃渣(土、石、矸石、尾矿等)
施落实情况等)、监测频次与方法。
2.3 水土保持措施
2.4 水土流失情况
3.1 防治责任范围监测
3.1.1 水土流失防治责任范围
3.1.2 背景值监测
3.1.3 建设期扰动土地面积
3.2 取料监测结果
3.2.1 设计取料情况
3.2.2 取料场位置、占地面积及取料量监测结果
3.2.3 取料对比分析
3.3 弃渣监测结果
3.3.1 设计弃渣情况
3.3.2 弃渣场位置、占地面积及弃渣量监测结果
3.3.3 弃渣对比分析
3.4 土石方流向情况监测结果
3.5 其他重点部位监测结果
4.1 工程措施监测结果
4.2 植物措施监测结果
4.3 临时防护措施监测结果
4.4 水土保持措施防治效果
5.1 水土流失面积
5.2 土壤流失量
5.3 取料、弃渣潜在土壤流失量
5.4 水土流失危害
6.1 扰动土地整治率
6.2 水土流失总治理度
6.3 拦渣率与弃渣利用情况
6.4 土壤流失控制比
6.5 林草植被恢复率
6.6 林草覆盖率
7.1 水土流失动态变化
7.2 水土保持措施评价
7.3 存在问题及建议
7.4 综合结论
8.1 附图
(1)项目区地理位置图
(2)监测分区及监测点布设图
(3)防治责任范围图
(4)取料场、弃渣场分布图
8.2 有关资料
(1)监测影像资料
(2)监测季度报告
(3)其他项目监测工作相关的资料
附表
|
主体工程主要技术指标 | ||||||||||||||
|
项目名称 |
| |||||||||||||
|
建设规模 |
|
建设单位、联系人 |
| |||||||||||
|
建设地点 |
| |||||||||||||
|
所属流域 |
| |||||||||||||
|
工程总投资 |
| |||||||||||||
|
工程总工期 |
| |||||||||||||
|
水土保持监测指标 | ||||||||||||||
|
监测单位 |
|
联系人及电话 |
| |||||||||||
|
自然地理类型 |
|
防治标准 |
| |||||||||||
|
监测内容 |
监测指标 |
监测方法(设施) |
监测指标 |
监测方法(设施) | ||||||||||
|
1.水土流失状况监测 |
|
2.防治责任范围监测 |
| |||||||||||
|
3.水土保持措施情况监测 |
|
4.防治措施效果监测 |
| |||||||||||
|
5.水土流失危害监测 |
|
水土流失背景值 |
t/km2•a | |||||||||||
|
方案设计防治责任范围 |
hm2 |
容许土壤流失量 |
t/km2•a | |||||||||||
|
水土保持投资 |
万元 |
水土流失目标值 |
t/km2•a | |||||||||||
|
防治措施 |
按监测分区分别叙述工程措施、植物措施、临时措施中各项措施的监测成果。 | |||||||||||||
|
监测结论 |
防治效果
|
分类指标 |
目标值(%) |
达到值(%) |
实际监测数量 | |||||||||
|
扰动土地整治率 |
|
|
防治措施面积 |
hm2 |
永久建筑物及硬化面积 |
hm2 |
扰动土地总面积 |
hm2 | ||||||
|
水土流失总治理度 |
|
|
防治责任范围面积 |
hm2 |
水土流失总面积 |
hm2 | ||||||||
|
土壤流失控制比 |
|
|
工程措施面积 |
hm2 |
容许土壤流失量 |
t/km2•a | ||||||||
|
林草覆盖率 |
|
|
植物措施面积 |
hm2 |
监测土壤流失情况 |
t/km2•a | ||||||||
|
林草植被恢复率 |
|
|
可恢复林草 植被面积 |
hm2 |
林草类植被面积 |
hm2 | ||||||||
|
拦渣率 |
|
|
实际拦挡弃渣量 |
万m3 |
总弃渣量 |
万m3 | ||||||||
|
水土保持治理 达标评价 |
| |||||||||||||
|
总体结论 |
| |||||||||||||
|
主要建议 |
| |||||||||||||
生产建设项目水土保持设施自主验收表
建设单位:(加盖公章) 日期:
|
|
建设地点 |
| ||||||||||
|
项目审批(核准、备案)机关、文号 |
|
水土保持方案审批(报备)机关、时间 |
| |||||||||
|
项目征占地面积(hm2) |
|
水土流失防治责任范围(hm2) |
| |||||||||
|
项目挖方总量(万m3) |
|
填方总量(万m3) |
|
借方总量(万m3) |
|
弃方总量(万m3) |
| |||||
|
表土剥离量 |
|
表土利用量 |
| |||||||||
|
项目建设工期 |
|
水土保持设施建设工期 |
| |||||||||
|
项目规模和主要建设内容 |
| |||||||||||
|
主要水土保持设施及工程量 |
| |||||||||||
|
工程总投资 (万元) |
|
水土保持设施投资(万元) |
|
缴纳水土保持补偿费(万元) |
| |||||||
|
水土流失防治目标完成情况 |
水土流失治理度% |
目标值 |
|
土壤流失控制比 |
目标值 |
|
渣土防护率% |
目标值 |
| |||
|
完成值 |
|
完成值 |
|
完成值 |
| |||||||
|
表土保护率% |
目标值 |
|
林草植被恢复率% |
目标值 |
|
林草覆盖率% |
目标值 |
| ||||
|
完成值 |
|
完成值 |
|
完成值 |
| |||||||
|
自主验收情况 |
(一)项目水土保持设施已按水土保持方案和相关设计文件要求建成,建设资料齐全 |
□是□否 | ||||||||||
|
(二)建成的水土保持设施符合相关规范规程要求,能持续、安全、有效运行,符合交付使用要求 |
□是□否 | |||||||||||
|
(三)水土保持设施后续管理、维护主体明确 |
□是□否 | |||||||||||
|
自主验收结论 |
合格(不合格) | |||||||||||
|
水土保持专家签字 |
|
工作单位 |
|
联系电话 |
| |||||||
|
水保设施设计单位意见: |
水保设施施工单位意见: |
水保设施监理单位意见: | ||||||||||
|
|
|
| ||||||||||
|
(加盖公章) |
(加盖公章) |
(加盖公章) | ||||||||||
|
项目负责人: |
项目负责人: |
项目负责人: | ||||||||||
|
日期: |
日期: |
日期: | ||||||||||
建设单位联系人: 联系电话(手机):
(注:本表适用于编制水土保持方案报告表的生产建设项目和己开展区域评价的园区建设项目水土保持设施自主验收)
一、适用范围
适用于重庆市水行政主管部门监督管理范围的水利工程建设项目开工备案的申请和办理。
二、事项办理类型
先核后备。
三、办理依据
(一)《水利工程建设项目管理规定(试行)》(水建〔1995〕128号发布,水利部令第48号修正)第三条、第八条、第十三条。
(二)《水利工程建设程序管理暂行规定》(水建〔1998〕16号发布,水利部令第50号修正)第八条。
(三)《水利部关于水利工程开工审批取消后加强后续监管工作的通知》(水建管〔2013〕331号)。
(四)《重庆市水利局关于进一步明确重点水利工程建设管理权限的通知》(渝水建〔2022〕4号)第五项。
四、受理机构
重庆市水行政主管部门。
五、决定机构
重庆市水行政主管部门。
六、数量限制
无数量限制。
七、申请条件
(一)办理对象:项目法人。
(二)市级办理范围
1.水利部负责初步设计审批,且以我市投资为主的水利工程建设项目。
2.重庆市水利局负责初步设计审批的大中型水源工程(含新建、改扩建)。
3.长江、嘉陵江、乌江干流县级及以上城市堤防工程。
(三)区县(自治县)办理范围
1.除水利部、重庆市水利局开工备案以外的其他水利工程项目。
2.万州区在辖区内、重庆两江新区在直管区域内具有市级办理权限。
(二)准予办理条件
1.项目法人已设立。
2.初步设计已批准。
3.施工详图设计满足主体工程施工需要。
4.建设资金已落实。
5.主体工程施工、监理单位已按规定选定并依法签订了合同。
6.质量安全监督手续已办理。
7.主要设备和材料已落实来源。
8.施工准备和征地移民工作满足主体工程开工需要。
八、禁止性要求
无。
九、申请材料目录
|
序号 |
提交材料名称 |
纸质/电子 |
纸质/电子份数 |
备注 |
|
1 |
水利工程建设项目开工备案表 |
电子 |
1份 |
|
|
2 |
水利工程开工情况报告 |
电子 |
1份 |
|
|
3 |
项目法人组建文件 |
电子 |
1份 |
|
|
4 |
初步设计批准文件 |
电子 |
1份 |
|
|
5 |
建设资金落实情况证明材料 |
电子 |
1份 |
|
|
6 |
施工、监理单位中标通知书 |
电子 |
1份 |
|
|
7 |
安全、质量监督报监材料 |
电子 |
1份 |
|
|
8 |
监理核发开工令 |
电子 |
1份 |
|
注:涉密项目按国家保密规定执行。
十、申请接收
申请人可通过重庆市网上办事大厅(https://zwykb.cq.gov.cn/)工程建设项目审批板块提交电子材料;也可带电子版直接到窗口申请。地址和联系电话详见附件1和附件2。
十一、办理基本流程
(一)受理:由重庆市水行政主管部门政务服务窗口统一收件,并在2个工作日内对申请做出处理,制作受理通知书、不予受理通知书或补正通知书。
(二)审查:重庆市水行政主管部门对申请材料进行全面审查。
(三)决定:经审查,符合条件的,重庆市水行政主管部门出具水利工程建设项目开工备案表(盖章);不符合条件的,出具不予水利工程建设项目开工备案表。
十二、办理方式
网上办理、窗口办理。
十三、办结时限
承诺时限:3个工作日(不含资料审查等时间)。
十四、收费依据及标准
不收费。
十五、审查结果
水利工程建设项目开工备案表(盖章)。
十六、结果送达
申请人可到重庆市水行政主管部门政务服务窗口领取或通过电子邮件获取水利工程建设项目开工备案表(盖章),也可联系政务服务窗口申请邮寄领取。
十七、咨询途径
申请人可选择现场咨询或电话咨询,详见附件1和附件2。
十八、投诉渠道
申请人可选择电话投诉或现场投诉,详见附件1和附件2。
十九、办公地址和时间
办事大厅地址和办公时间详见附件1和附件2。
二十、办理进程和结果公开查询
重庆市网上办事大厅。
二十一、备注
严禁不具备条件违规开工、开工后不按规定进行备案;对于违反国家法律法规、构成重大质量安全隐患的,将责令停工整改,并对项目法人进行通报批评。
附录:1.流程图
附录1
流程图

附录2
项目名称
建设单位
年 月 日
|
建 设 单 位 基 本 情 况 |
单位名称 |
| |||||
|
详细地址 |
|
邮编 |
| ||||
|
法定代表人 |
|
电话 |
| ||||
|
联系人姓名 |
|
电话 |
| ||||
|
建 设 项 目 基 本 情 况 |
项目名称 |
|
项目建设地点 |
| |||
|
初步设计 批文号 |
|
开工 日期 |
| ||||
|
项目总投资 |
|
计划竣工日期 |
| ||||
|
施工单位 |
|
项目经理 |
|
电话 |
| ||
|
监理单位 |
|
项目总监 |
|
电话 |
| ||
|
勘察/ 设计单位 |
|
勘察/设计 负责人 |
|
电话 |
| ||
|
质量监督单位 |
|
项目负责人 |
|
电话 |
| ||
|
安全监督单位 |
|
项目负责人 |
|
电话 |
| ||
|
施工详图设计是否满足主体工程施工需要 |
| ||||||
|
施工准备和征地移民情况 |
| ||||||
|
主要设备和材料落实情况 |
| ||||||
|
验收主持单位 |
法人验收 |
| |||||
|
政府验收 |
| ||||||
|
备案材料清单 |
编号 |
文件材料名称(复印件) | |||||
|
1 |
项目法人组建文件 | ||||||
|
2 |
初步设计批准文件 | ||||||
|
3 |
建设资金落实情况证明材料 | ||||||
|
4 |
施工、监理单位中标通知书 | ||||||
|
5 |
安全、质量监督报监材料 | ||||||
|
6 |
监理核发的开工令 | ||||||
|
7 |
其他需要证明的资料 | ||||||
|
项目建设单位承诺: 本表填报的内容及提交的所有材料的原件或复印件及其内容是真实的。如有任何虚假,受理机关可终止审理;如因虚假材料引致法律责任,概由本单位承担。
法定代表人: (盖公章) 年月日 | |||||||
|
经办 处(科)室 备案 意见 |
审核人:负责人:
(盖章)
年月日 | ||||||
一、适用范围
适用于区县(自治县)辖区内在建水利工程建设项目。
二、事项办理类型
先核后备。
三、办理依据
(一)《建设工程安全生产管理条例》(国务院令第393号)第十条。
(二)《水利工程建设安全生产管理规定》(水利部令第26号发布,水利部令第50号修正)第九条。
(三)《重庆市水利局 重庆市安监局关于进一步落实重点水利工程安全生产属地监管工作通知》(渝水基〔2012〕50号)第一项。
四、受理机构
区县(自治县)水行政主管部门。
五、决定机构
区县(自治县)水行政主管部门。
六、数量限制
无数量限制。
七、申请条件
(一)申请人条件
1.办理对象:在建水利工程建设项目的建设单位。
2.区县(自治县)办理范围:辖区内在建水利工程建设项目。
(二)准予办理条件
1.符合法律、法规、规章和规范性文件规定。
2.符合规程和规范、技术标准要求。
八、禁止性要求
无。
九、申请材料目录
|
序号 |
提交材料名称 |
纸质/电子 |
纸质文件份数 |
备注 |
|
1 |
在建水利工程安全生产监管备案表 |
电子 |
1份 |
|
|
2 |
施工合同及安全生产合同 |
电子 |
1份 |
|
|
3 |
施工单位营业执照 |
电子 |
1份 |
系统获取。 |
|
4 |
安全生产许可证 |
电子 |
1份 |
|
|
5 |
施工单位资质等级证 |
电子 |
1份 |
|
|
6 |
施工单位主要负责人、项目负责人、专职安全人员考核合格证 |
电子 |
1份 |
|
|
7 |
安全生产措施方案 |
电子 |
1份 |
|
十、申请接收
申请人可通过重庆市网上办事大厅(https://zwykb.cq.gov.cn/)工程建设项目审批板块提交电子材料;也可带电子版直接到窗口申请。地址和联系电话详见附件2。
十一、办理基本流程
(一)受理:由区县(自治县)水行政主管部门政务服务窗口统一收件,并在2个工作日内对申请做出处理,制作受理通知书、不予受理通知书或补正通知书。
(二)审核:区县(自治县)水行政主管部门对申请材料进行全面审核。
(三)决定:经审核,符合条件的,区县(自治县)水行政主管部门出具在建水利工程安全生产监管备案表(盖章)。
十二、办理方式
网上办理、窗口办理。
十三、办理时限
承诺时限:5个工作日。
十四、收费依据及标准
不收费。
十五、办理结果
在建水利工程安全生产监管备案表(盖章)。
十六、结果送达
申请人可到区县(自治县)水行政主管部门政务服务窗口领取或通过电子邮件获取在建水利工程安全生产监管备案表(盖章),也可联系政务服务窗口申请邮寄领取。
十七、咨询途径
申请人可选择现场咨询或电话咨询,详见附件2。
十八、投诉渠道
申请人可选择电话投诉或现场投诉,详见附件2。
十九、办公地址和时间
办事大厅地址和办公时间详见附件2。
二十、办理进程和结果公开查询
重庆市网上办事大厅。
二十一、备注
建设单位应当自开工报告批准之日起15个工作日内,向辖区内水行政主管部门提出申请。
附录:1. 流程图
2. 在建水利工程安全生产监管备案表
附录1
流程图

附录2
在建水利工程安全生产监管备案表
|
水利安第〔20〕号 | |||||
|
单位签章: | |||||
|
工程名称 |
|
项目地址 |
| ||
|
工程总投资 |
|
安全生产费 |
| ||
|
主要建设内容 |
| ||||
|
工程主要 危险源 |
| ||||
|
工程开工时间 |
|
计划竣工时间 |
| ||
|
业主单位 |
|
法人代表 |
|
联系电话 |
|
|
分管领导 |
|
联系电话 |
| ||
|
现场监管人员 |
|
联系电话 |
| ||
|
施工单位 |
|
项目经理 |
|
联系电话 |
|
|
技术负责人 |
|
联系电话 |
| ||
|
安全员(现场负责人) |
|
联系电话 |
| ||
|
区县水行政主管部门监督电话 |
| ||||
|
水利工程施工安全条件审核资料 |
核对情况 |
备注 | |||
|
施工合同、安全生产合同 |
|
| |||
|
施工单位营业执照及相应资质等级证、安全生产许可证 |
|
| |||
|
施工单位主要负责人、项目负责人、专职安全人员考核合格证 |
|
| |||
|
编制的安全生产措施方案 |
|
| |||
|
备注:按标段进行安全生产监管备案 | |||||
审核人员意见: 科室负责人意见: 水行政主管部门盖章
年 月 日 年 月 日
一、适用范围
适用于重庆市水行政主管部门办理范围的生产建设项目水土保持监测季报的申请和办理。
二、事项办理类型
先核后备。
三、办理依据
(一)《中华人民共和国水土保持法》(第七届全国人民代表大会常务委员会第二十次会议通过,中华人民共和国主席令第四十九号公布,第十一届全国人民代表大会常务委员会第十八次会议修订,中华人民共和国主席令第三十九号)第四十一条第一款。
(二)《生产建设项目水土保持方案管理办法》(水利部令第53号)第二十条。
(四)《水利部办公厅关于进一步加强生产建设项目水土保持监测工作的通知》(办水保〔2020〕161 号)第二条第三款第二项。
四、受理机构
重庆市水行政主管部门。
五、决定机构
重庆市水行政主管部门。
六、数量限制
无数量限制。
七、申请条件
(一)办理对象:项目法人或法定委托人。
(二)市级办理范围
1.水利部审批水土保持方案涉及重庆市的生产建设项目。
2.市水利局审批水土保持方案的生产建设项目。
(三)区县(自治县)办理范围:区县水行政主管部门审批水土保持方案的生产建设项目。
(四)准予办理条件
1.监测季报内容符合法定要求。
八、禁止性要求
无。
九、申请材料目录
|
序号 |
提交材料名称 |
纸质/电子 |
纸质/电子份数 |
备注 |
|
1 |
电子 |
1份 |
加盖建设单位及监测单位公章。 |
注:涉密项目按国家保密规定执行。
十、申请接收
申请方式:申请人可通过重庆市网上办事大厅(https://zwykb.cq.gov.cn/)提交电子材料。地址和联系电话详见附件1和附件2。
十一、办理基本流程
(一)受理:由重庆市水行政主管部门政务服务窗口统一收件,并在2个工作日内对申请做出处理,制作受理通知书、不予受理通知书或补正通知书。
(二)审核:重庆市水行政主管部门对申请材料进行审核。
(三)决定:经审核,符合条件的,重庆市水行政主管部门出具接收单。
十二、办理方式
网上办理、窗口办理。
十三、办结时限
承诺时限:1个工作日。
十四、收费依据及标准
不收费。
十五、审查结果
回执单。
十六、结果送达
申请人可以通过“渝快办”下载接收单。
十七、咨询途径
申请人可选择现场咨询或电话咨询,详见附件1和附件2。
十八、投诉渠道
申请人可选择电话投诉或现场投诉,详见附件1和附件2。
十九、办公地址和时间
办事大厅地址和办公时间详见附件1和附件2。
二十、办理进程和结果公开查询
重庆市网上办事大厅。
附录:1.流程图
附录1
流程图

附录2
监测时段: 至 日
|
项目名称 |
| ||||||||||
|
建设单位联系人 及电话 |
|
监测项目负责人(签字):
年月日 |
建设单位(盖章)
年月日 | ||||||||
|
填表人及电话 |
| ||||||||||
|
主体工程进度 |
| ||||||||||
|
指标 |
设计总量 |
本季度新增 |
累计 | ||||||||
|
扰动土地面积(hm2) |
合计 |
|
|
| |||||||
|
××防治区 |
|
|
| ||||||||
|
××防治区 |
|
|
| ||||||||
|
....... |
|
|
| ||||||||
|
....... |
|
|
| ||||||||
|
弃土(石渣)量 (万m3) |
合计量(万m3)/弃渣场总数 |
|
|
| |||||||
|
渣土防护率(%) |
|
|
| ||||||||
|
损坏水土保持设施数量(hm2/座/处) |
|
|
| ||||||||
|
水土保持措施 |
单位 |
设计 |
本季度新增 |
累计 | |||||||
|
水土保持 工程进度 |
××防治区 |
|
|
|
|
| |||||
|
|
|
|
|
| |||||||
|
|
|
|
|
| |||||||
|
××防治区 |
|
|
|
|
| ||||||
|
|
|
|
|
| |||||||
|
|
|
|
|
| |||||||
|
水土流失影响因子 |
降雨量(mm) |
|
|
| |||||||
|
最大24小时降雨(mm) |
|
|
| ||||||||
|
最大风速(m/s) |
|
|
| ||||||||
|
土壤流失量(t) |
|
|
| ||||||||
|
水土流失灾害事件 |
|
||||||||||
|
三色评价结论 |
|
||||||||||
|
存在问题与建议 |
|
||||||||||
|
监测工作开展情况 |
|
||||||||||
××项目水土保持监测意见书
(××××年第×季度)
|
项目名称 |
|
|
建设地点 |
|
|
建设单位 |
|
|
监理单位 |
|
|
监测单位 |
|
|
监测人员 |
|
|
监测时间 |
|
|
监测意见 |
一、工程施工情况 二、水土保持措施实施情况 三、存在问题 四、建议 |
生产建设项目水土保持监测三色评价
指标及赋分表
|
项目名称 |
| |||
|
监测时段和防治责任范围 |
年第季度,公顷 | |||
|
三色评价结论(勾选) |
绿色黄色红色 | |||
|
评价指标 |
分值 |
得分 |
赋分说明 | |
|
扰动土地情况 |
扰动范围控制 |
15 |
|
|
|
表土剥离保护 |
5 |
|
| |
|
弃土(石渣)堆放 |
15 |
|
| |
|
水土流失状况 |
15 |
|
| |
|
水土流水防治效果 |
工程措施 |
20 |
|
|
|
植物措施 |
15 |
|
| |
|
临时措施 |
10 |
|
| |
|
水土流失危害 |
5 |
|
| |
|
合计 |
100 |
|
| |
|
序号 |
水行政主管部门名称 |
大厅(窗口)名称 |
政务服务事项 |
办公地址 |
交通路线 |
办公时间 |
联系(咨询)电话 |
投诉电话 |
现场投诉地址 |
|
1 |
市水利局 |
重庆市工程建设项目审批服务大厅 |
生产建设项目水土保持方案审批 |
重庆市渝中区两路口街道长江一路58号1楼水利工程窗口 |
开车请导航“重庆市工程建设政务服务中心”;可乘坐118路、403路、411路、413路、416路、421路、462路、466路、476路、818路、819路、871路、873路公交车至“鹅岭站”下;或乘坐轨道交通一号线在“鹅岭站”下。 |
周一至周五(法定节假日除外),24小时制9:00-12:00,14:00-18:00 |
63858593 |
89079000 |
重庆市渝北区新南路3号水利大厦20楼局办公室 |
|
取水许可 | |||||||||
|
洪水影响评价类审批 | |||||||||
|
水利基建项目初步设计文件审批 | |||||||||
|
农村集体经济组织修建水库审批 | |||||||||
|
城市建设填堵水域、废除围堤审批 | |||||||||
|
坝顶兼做公路审批 | |||||||||
|
利用堤顶、戗台兼做公路审批 | |||||||||
|
大坝管理和保护范围内修建码头、渔塘许可 | |||||||||
|
专用水文测站设立、撤销审批 | |||||||||
|
国家基本水文测站设立和调整审批 | |||||||||
|
围垦河道审核 | |||||||||
|
工程质量监督手续办理 | |||||||||
|
水利水电工程可行性研究报告 (或项目申请报告)技术审查 | |||||||||
|
水利工程建设项目阶段验收 | |||||||||
|
水利工程建设项目竣工验收 | |||||||||
|
水利工程建设项目档案专项验收 | |||||||||
|
生产建设项目水土保持设施自主验收报备 | |||||||||
|
水利工程建设项目开工备案 | |||||||||
|
2 |
市水利局 |
重庆市水利局政务服务大厅 |
河道采砂许可 |
重庆市渝北区新南路3号水利大厦5楼 |
开车请导航“重庆市水利局”;可乘坐126路、133路、151路、166路、245路、465路、473路、550路、579路、809路、842路、886路、411路公交车至“新牌坊西”下;或乘坐轨道交通三号线在“嘉州路”下。 |
周一至周五(法定节假日除外),24小时制9:00-12:00,14:00-18:00 |
89070093 |
89079000 |
重庆市渝北区新南路3号水利大厦20楼局办公室 |
|
河道管理范围内特定活动审批 | |||||||||
|
水利工程质量检测单位资质认定 | |||||||||
|
造价工程师(水利工程)注册 | |||||||||
|
水利水电工程施工企业主要负责人、项目负责人和专职安全生产管理人员安全生产考核 | |||||||||
|
大中型水利水电工程移民安置规划审核 | |||||||||
|
水事纠纷处理 | |||||||||
|
移民安置纠纷调处 | |||||||||
|
违反河道管理条例经济损失处理 | |||||||||
|
地区之间防汛抗洪水事纠纷处理 | |||||||||
|
生产建设项目水土保持监测季报 |
|
序号 |
区县水行政主管部门名称 |
窗口名称 |
办公地址 |
交通路线 |
办公时间 |
联系(咨询)电话 |
投诉电话 |
现场投诉地址 |
备注 |
|
1 |
万州区水利局 |
万州区政务服务中心民生事务专区K3-K7窗口 |
重庆市万州区陈家坝街道江南大道295号4楼 |
开车请导航“政务服务中心”停车场;可乘坐18路、19路、27路、37路、55路、63B路公交车至“三峡妇儿医院站”下;或乘坐18路、19路、22路、25路、27路、29路、31路、32路、37路、38路、52路、55路、56路、58路、63B路公交车至“区行政中心站(即万州区政府)或南山岔路口站”下。 |
周一至周五(法定节假日除外),24小时制9:00-12:00,13:30-17:30 |
58966182 |
58113757 |
万州区政务服务中心1楼办不成事窗口 |
办理事项名称:取水许可证新发、取水许可证延续、取水许可证变更、取水许可证注销、河道采砂许可、河道管理范围内特定活动审批、水利工程改变主要用途许可、水事纠纷处理、移民安置纠纷调处、违反河道管理条例经济损失处理、地区之间防汛抗洪水事纠纷处理、移民迁建单位补偿安置遗留的固定资产处置权、生产建设项目水土保持监测季报。 |
|
万州区政务服务中心工程建设服务专区C4窗口 |
重庆市万州区陈家坝街道江南大道295号3楼 |
58966176 |
其余事项 | ||||||
|
2 |
黔江区水利局 |
黔江区政务服务中心工程建设分领域综合窗口45号 |
重庆市黔江区正阳街道为民路9号3号楼B区2楼 |
可乘坐201路、204路、206路、207路公交车至“黔江行政服务中心站”下。 |
周一至周五(法定节假日除外),24小时制9:00-12:30,13:30-17:00 |
79242842 |
79221568 |
黔江区政务服务中心办公室 |
|
|
3 |
涪陵区水利局 |
涪陵区政务服务管理事务中心工程建设综合窗口47-58号 |
重庆市涪陵区荔枝街道顺江大道6号 |
可乘坐111路、105路、118路、202路公交车至“行政服务中心站”下。 |
周一至周五(法定节假日除外),24小时制9:00-12:00,14:00-17:30 |
72203604 |
72230366 |
政务服务管理事务中心督查科 |
|
|
4 |
渝中区交通局 |
渝中区政务服务中心11号窗口 |
重庆市渝中区解放碑街道和平路1号1楼 |
开车请导航“星河商务大厦”停车场。可乘坐轨道交通一号线、二号线至“较场口”下;可乘坐124路、299路、476路、871路等公交车至“和平路日月光广场”下。 |
周一至周五(法定节假日除外),24小时制9:00-12:00,13:30-17:30 |
63310627 |
63815058 |
渝中区政务服务中心1楼办不成事窗口 |
|
|
5 |
大渡口区农业农村委 |
大渡口区政务服务中心建设工程综合服务L12窗口 |
重庆市大渡口区春晖路街道松青路812号负1-38号 |
开车请导航“大渡口国瑞城三期”周边停车场(国瑞城三期地下停车库负二、三层);可乘坐轨道交通二号线“大渡口”B出口出站,往陶瓷市场方向步行200米;或乘坐218路、230路、239路、274路等公交车在“大渡口站”下,往陶瓷市场方向步行160米。 |
周一至周五(法定节假日除外),24小时制9:00-12:00,14:00-17:30 |
68951580 |
68833314 |
重庆市大渡口区松青路1098号锦兴综合楼1413室 |
|
|
6 |
江北区农业农村委 |
江北区行政服务中心6号农业水利综合窗口 |
重庆市江北区金港新区19号3楼 |
可乘坐107路、153路、620路、812路、813路、817路、835路、845路、866路、885路公交车至“达中亿阳明山水站”下;或乘坐轨道交通四号线“头塘站”4A出口出站。 |
周一至周五(法定节假日除外),24小时制9:00-12:00,13:00-17:00 |
67871090 |
67857859 |
重庆市江北区寸滩街道金港新区16号区行政服务中心五楼0529室 |
|
|
7 |
沙坪坝区农业农村委 |
沙坪坝区政务服务中心C区综合服务3-6号建设领域综合窗口 |
重庆市沙坪坝区西园北街8号 |
开车请导航“沙坪坝区政务服务中心”;可乘坐轨道交通一号线“微电园”2号出口出站,再换乘247路、249路、276路、277路、295路公交车至“学城大道东段站”下,下车后步行200米即可到达。 |
周一至周五(法定节假日除外,可提供预约和延时服务)24小时制9:00-12:00,13:00-17:00 |
65368475 |
65368446 |
重庆市沙坪坝区西园北街8号沙坪坝区政务服务管理办公室232室 |
|
|
8 |
九龙坡区农业农村委 |
九龙坡区政务服务中心工程建设项目施工许可阶段10号窗口 |
重庆市九龙坡区二郎街道科城路77号留学生创业园A栋3楼 |
开车请导航“重庆市九龙坡区行政服务中心”;可乘坐204路、405路环线、456路公交车至“科城路1站”下;或乘坐109路、200路、204路、325路、425路、473路、827路、BRT01路公交车至“科城路站”下;或乘坐200路公交车至“二郎路路口站”下。 |
周一至周五(法定节假日除外),24小时制9:00-12:00,13:00-17:00 |
68031859 |
68055653 |
重庆市九龙坡区二郎街道科城路77号留学生创业园A栋3楼督查室 |
|
|
9 |
南岸区农业农村委 |
南岸区行政中心政务服务大厅涉农事务综合窗口 |
重庆市南岸区天文街道广福大道12号B区2号楼 316号 |
可乘坐轨道交通六号线“邱家湾”站下;或乘坐188路、180路、144路公交车至“天福路口站'下。 |
周一至周五(法定节假日除外),24小时制9:00-12:00,14:00-17:30 |
62606735 |
62802546 |
南岸区行政中心B区3号楼1501室 |
|
|
10 |
北碚区水利局 |
北碚区政务服务中心4楼411-415号窗口 |
重庆市北碚区冯时行路308号政务服务中心4楼 |
可乘坐584路、599路公交车至“政务服务中心站”下;或乘坐518路、589路、590路、586路在“大学科技园或万达广场站”下。 |
周一至周五(法定节假日除外),24小时制9:00-12:00,14:00-17:00 |
68203778 |
68233686 |
北碚区政务服务中心督查科 |
|
|
11 |
渝北区水利局 |
渝北区政务服务中心E17水利局窗口 |
重庆市渝北区仙桃街道同茂大道66号3楼 |
可乘坐877路、687路、694路、658路、679路、619路、686路等公交车在“渝北行政服务中心站”下。 |
周一至周五(法定节假日除外),24小时制9:00-12:00,14:00-17:30 |
67821292 |
67376226 |
渝北区政务服务中心管理办公室4楼监督管理科415室 |
|
|
12 |
巴南区水利局 |
巴南区政务服务中心D区15号窗口 |
重庆市巴南区龙洲湾街道龙洲湾公园北路12号2楼 |
可乘坐轨道交通三号线“学堂湾”2出口出站,往鱼洞方向步行500米即可到达;或乘坐898路、308路、303路、310路、198路、174路、171路公交车至“学堂湾站”下,往鱼洞方向步行500米即可到达。 |
周一至周五(法定节假日除外),24小时制09:00-12:00,13:30-17:30 |
66239930 |
66222474 |
重庆市巴南区鱼洞街道江洲路16号巴南区防汛综合大楼3楼局办公室 |
|
|
13 |
长寿区水利局 |
长寿区政务服务中心8—13号窗口(非工程类事项) |
重庆市长寿区新市街道新民路11号6号楼1楼 |
开车请导航“长寿区新政务服务中心”地下停车场;可乘坐206路、207路、208路公交车至“新政务服务中心站”下。 |
周一至周五(法定节假日除外,每月的最后一个周星期五下午工作人员参加培训学习不对外办公)。24小时制9:00-12:00,13:30-17:00 |
40264295 |
40462003 |
重庆市长寿区向阳路2号13楼局办公室 |
|
|
长寿区政务服务中心1号窗口(工程类事项) |
重庆市长寿区新市街道新民路11号6号楼5楼A栋 |
40275650 |
| ||||||
|
14 |
江津区水利局 |
江津区政务服务中心A317窗口 |
重庆市江津区圣泉街道团结路65号 3楼 |
可乘坐205路、207路、215路、211路公交车至"政务大厅站"下。 |
周一至周五(法定节假日除外),24小时制09:00-12:00,13:00-17:00 |
81222846 |
47521178 |
重庆市江津区体育路1号江津区水利局办公室 |
|
|
15 |
合川区水利局 |
合川区行政服务中心53号窗口 |
重庆市合川区希尔安大道223号A区 |
可乘坐116路、213路、516路、825路等公交车至“区政府站”下,下车后按标识步行200米即可到达。 |
周一至周五(法定节假日除外),24小时制9:00-17:00 |
85181602 |
42711303 |
合川区水利局307办公室 |
|
|
16 |
永川区水利局 |
永川区行政服务中心工程建设水利工程窗口 |
重庆市永川区中山路街道红河中路660号大数据产业园D区云谷大厦 |
可乘坐116路、102路、111路公交车在“大数据产业园A区公站”下。 |
周一至周五(法定节假日除外),夏季(5月至9月):24小时制9:00-12:00,14:00-18:00;冬季(10月至次年4月):24小时制9:00-12:30,13:00-17:00 |
49860738 |
49864171 |
永川区中山路街道人民北路6号411办公室 |
|
|
17 |
南川区水利局 |
南川区行政审批服务中心水利交通窗口 |
重庆市南川区西城街道凤江南路3号商务中心左副楼 2楼 |
可乘坐101路公交车至“滨江一号站”下,或乘坐109路公交车至“市民广场站”下。 |
周一至周五(法定节假日除外),24小时制9:00-12:30,13:30-17:30 |
71423715 |
71422205 |
重庆市南川区商务中心右附楼7楼水利局办公室 |
|
|
18 |
綦江区水利局 |
綦江区市民服务中心A区水利窗口 |
重庆市綦江区通惠大道69号2楼 |
可乘坐107路,108路,201路、202路,204路、211路公交车至“市民服务中心公交车站”下。 |
周一至周五(法定节假日除外),24小时制9:00-12:00,13:30-17:00 |
48602722 |
48602822 |
重庆市綦江区通惠大道69号市民服务中心1楼优化营商环境监督办公室 |
|
|
19 |
大足区水利局 |
大足区工程建设项目审批服务大厅水利项目窗口 |
重庆市大足区棠香街道龙景路123号市民中心4楼 |
可乘坐105路,106路,108路公交车至“市民服务中心公交车站”下。 |
周一至周五(法定节假日除外),24小时制9:00-12:00,14:00-17:00 |
43389591 |
43389591 |
重庆市大足区棠香街道龙景路123号市民中心4楼水利局行政审批科 |
|
|
20 |
璧山区水利局 |
璧山区行政服务中心B409窗口 |
重庆市璧山区璧泉街道铁山路1号B区4楼 |
可乘坐103路、108路、333路、206路、901路、111路、204路至“行政服务中心站”下。 |
周一至周五(法定节假日除外),24小时制9:00-12:00,13:30-17:00 |
41422817 |
41466096 |
璧山区政务服务管理办投诉处理科 |
|
|
21 |
铜梁区水利局 |
铜梁区市民服务和营商环境促进中心水利工程112号窗口 |
重庆市铜梁区东城街道亚龙湾2号2楼 |
可乘坐102B路、113路公交车至“金龙小学站”下。 |
周一至周五(法定节假日除外),24小时制8:30-12:00,14:00-17:30 |
45432291 |
45673061 |
铜梁区市民服务和营商环境促进中心督查科 |
|
|
22 |
潼南区水利局 |
潼南区政务服务中心工程建设综合窗口 |
重庆市潼南区桂林街道巴渝大道288号隆鑫中央大街C区7号楼A栋1楼 |
可乘坐206路公交车至“潼南行政服务中心站”下。 |
周一至周五(法定节假日除外),24小时制9:00-12:00,14:00-17:30 |
44578462 |
44578116 |
潼南区政务服务中心301办公室 |
|
|
23 |
荣昌区水利局 |
荣昌区政务服务中心二楼237窗口 |
重庆市荣昌区昌元街道昌龙大道45号 |
可乘坐203路/205路/301路公交车至农业大厦下车,后沿昌龙大道辅路走20米,过马路右转走130米,左转30米到达。 |
周一至周五(法定节假日除外),24小时制8:30-12:00,14:00-17:30 |
46766362 |
46787507 |
荣昌区政务服务中心三楼324办公室 |
|
|
24 |
开州区水利局 |
开州区政务服务中心工程建设项目审批大厅8号窗口 |
重庆市开州区云枫街道巴渠街88号政务服务中心三楼 |
可乘坐1路、2路、3路、4路、7路、8路、9路公交车至“政务服务中心站”下。 |
周一至周五(法定节假日除外),24小时制9:00-12:00,13:00-17:00 |
85936055 |
85936050 |
重庆市开州区政务服务中心4楼415或大厅办事不开心投诉窗口 |
|
|
25 |
梁平区水利局 |
梁平区行政服务中心B41交通水利工程建设综合窗口 |
重庆市梁平区双桂街道桂西路15号行政服务中心二层 |
开车请导航“都梁广场”停车场;可乘坐201路、205路、206路公交车至“都梁广场站”下。 |
周一至周五(法定节假日除外),夏季(5月至9月):24小时制8:30-12:00,14:30-18:00;冬季(10月至次年4月):24小时制9:00-12:00,14:00-18:00 |
81171238 |
81171110 |
重庆市梁平区双桂街道桂西路15号行政中心二层206室 |
|
|
26 |
武隆区水利局 |
武隆区政务服务大厅2层8号窗口 |
重庆市武隆区凤山街道中堆坝兴隆广场(武隆区凤山街道乌江南路7号)1号楼政务服务大厅2层 |
可乘坐101路、102路、103路公交车至“南滨广场站”下,下车后步行300米即可到达。 |
周一至周五(法定节假日除外),24小时制9:00-12:00,14:00-17:30 |
77720825 |
89079000 |
武隆区政务服务中心2楼咨询台(办不成事窗口) |
|
|
27 |
城口县水利局 |
城口县政务服务中心水利窗口 |
重庆市城口县葛城街道南大街1号附7号2楼 |
可乘坐环城1路、2路公交车至“商贸中心站”下,下车后步行20米即可到达。 |
周一至周五(法定节假日除外),24小时制9:00-12:00,13:30-17:00 |
59227549 |
59227216 |
城口县政务服务中心二楼办公室 |
|
|
28 |
丰都县水利局 |
丰都县行政服务中心26号窗口 |
重庆市丰都县平都大道西段58号1楼 |
可乘坐202路、101A路、110路、102A路、113路、104A路、106路、201路、117路、105路、666路、301路、101B路、103、103B路、104路外环、102B路、118路内环、111路公交车至“宏声商业广场站”下。 |
周一至周五(法定节假日除外),24小时制8:30-12:00,14:00-17:00 |
70738650 |
70738666 |
重庆市丰都县行政服务中心1楼前台咨询处 |
|
|
29 |
垫江县水利局 |
垫江县政务服务中心水利窗口 |
重庆市垫江县桂阳街道桂溪大道208号县级机关综合办公楼2幢 |
可乘坐3路、9路、10路公交车至“行政中心站”下,或乘坐7路公交车至“行政服务中心站”下,或乘坐6路、8路公交车至“松林小区站”或“碧桂园站”下。 |
周一至周五(法定节假日除外),24小时制9:00-12:00,14:00-17:00 |
74520501 |
74511120 |
重庆市垫江县政务服务中心627办公室 |
|
|
30 |
忠县水利局 |
忠县政务服务中心水利局窗口 |
重庆市忠县忠州街道鸣玉溪大道99号2楼 |
开车请导航“政务服务中心”;可乘坐302路、306路公交车至“政务服务中心站”下。 |
周一至周五(法定节假日除外)24小时制9:00-12:00,14:00-17:30 |
54237884 |
54239630 |
重庆市忠县忠州街道鸣玉溪大道99号政务服务中心 |
|
|
31 |
云阳县水利局 |
云阳县行政服务中心C区C07窗口 |
重庆市云阳县双江街道云商大厦2楼 |
可乘坐601路、606路、623路、K01路、808路、626内环、626外环公交车至“行政大厅站”下;或乘坐611路、612路公交至“紫金御园站”下,内设有停车场(45分钟内免费)。 |
周一至周五(法定节假日除外),24小时制9:00-12:00,13:30-17:00 |
55180748 |
55166772 |
云阳县双江街道云江大道1482号5楼局办公室 |
|
|
32 |
奉节县水利局 |
奉节县行政服务中心10号水利窗口 |
重庆市奉节县夔州街道紫云街6号3楼 |
可乘坐301路,303路,304路公交车至“奉节县行政服务中心站”下。 |
周一至周五(法定节假日除外,每一个月第一周的周五下午除外),24小时制9:00-12:30,14:00-18:00 |
56738023 |
56738019 |
奉节县夔州街道紫云街6号行政服务中心三楼303办公室 |
|
|
33 |
巫山县水利局 |
巫山县政务服务中心A19号水利窗口 |
重庆市巫山县高唐街道宁江路220号1楼 |
可乘坐103路、102路公交车至“古城码头公交站”下,或乘坐106路、201路公交车至“航务公交站”下。 |
周一至周五(法定节假日除外)夏季(5月至9月);24小时制8:30-12:00,14:30-17:30;冬季(10月至次年4月):24小时制9:00-12:00,14:00-17:30 |
57689237 |
57689237 |
重庆市巫山县高唐街道广东中路2号水利局大楼806 |
|
|
34 |
巫溪县水利局 |
巫溪县政务服务中心B12水利窗口 |
重庆市巫溪县柏杨街道巫溪县春申大道200号5楼 |
可乘坐1路、2路、6路公交车至“建委公交车站”或“帝豪大酒店公交车站”下,下车后步行20米即可到达,政务服务中心无专用停车场,需将您的交通工具停放到周边停车场地。 |
周一至周五(法定节假日除外)24小时制9:00-12:00,14:00-17:30 |
51527769 |
51522042 |
巫溪县春申大道88号水利局大楼9楼综合科 |
|
|
35 |
石柱县水利局 |
石柱县行政服务中心06号综合窗口 |
重庆市石柱土家族自治县万安街道都督大道23号4楼 |
开车请导航“行政服务中心”停车场;可乘坐601路、208路公交车至“石柱县人民医院公交站”下,往南滨尚城方向前行约50米即可到达。 |
周一至周五(法定节假日除外),24小时制9:00-12:00,14:30-18:00 |
73327117 |
73325736 |
石柱县万安街道南宾路109号水利局办公楼2楼202 |
|
|
36 |
秀山县水利局 |
秀山县政务服务中心D24窗口 |
重庆市秀山土家族苗族自治县乌杨街道黄杨大道北段182号2楼 |
可乘坐8路、9路公交车到“工业园区行政审批大厅站”下。 |
周一至周五(法定节假日除外)冬季(10月至次年4月):24小时制8:30-12:00,13:30-17:00;夏季(5月至9月):24小时制8:30-12:00,14:00-17:30 |
76862508 |
76862689 |
秀山县政务服务中心1楼办不成事窗口 |
|
|
37 |
酉阳县水利局 |
酉阳县行政服务中心508窗口 |
重庆市酉阳土家族苗族自治县钟多街道城南社区钟南大道28号五楼 |
可乘坐101路公交车至公交总站转乘106路或板溪方向的车至“政务服务中心站”下,下车后步行50米即可到达;或乘坐102路公交车至“政务服务中心站”下,下车后步行50米即可到达。 |
周一至周五(法定节假日除外),24小时制9:00-12:00,13:30-17:00 |
75692379 |
75532667 |
酉阳县行政服务中心七楼办公室 |
|
|
38 |
彭水县水利局 |
彭水县行政服务中心B2区综合服务窗口 |
重庆市彭水县绍庆街道滨江社区两江行政楼2楼 |
可乘坐804路、806路、801路公交车至“两江广场站”下,下车后右行50米下2楼即可到达。 |
周一至周五(法定节假日除外),24小时制9:00-12:30,14:00-17:30 |
78893531 |
78446688 |
彭水县政务服务中心办不成事窗口 |
|
|
39 |
两江新区城市管理局 |
两江新区政务服务中心129窗口 |
重庆市渝北区加工区一路7号金泰彩时代1栋 |
开车请导航“两江新区政务服务中心”;可乘坐559路、623路公交车至“出口加工区站”下,下车后前行200米即可到达。 |
周一至周五(法定节假日除外),24小时制9:00-12:00,14:00-17:30 |
63395312 |
60360268 |
重庆市渝北区加工区一路7号金泰彩时代2栋1912 |
|
|
40 |
万盛经济技术开发区水利局 |
万盛经开区行政服务中心水利窗口 |
万盛经开区万盛街道盛兴路24号国能天街4楼 |
可乘坐131路公交车至“国能家居建材城站”下;或乘坐101路、104路、105路、201路、333路公交车至“万盛大道站”下,下车后往国能天街方向前行;或乘坐102路、108路、109路、203路、215路、332路、336路在“子如广场站”下,下车往国能天街方向前行。 |
周一至周五(法定节假日除外),24小时制9:00-12:00,13:30-17:30 |
48266732 |
48266738 |
重庆市綦江区万盛街道盛兴路24号(奥特莱斯A馆)万盛政务服务中心3楼督察督办科 |
|
|
41 |
高新区生态环境局 |
高新区政务服务中心工程建设专区E07窗口 |
重庆市重庆高新区金凤镇凤苑路14号附109号B栋4楼 |
开车可导航“重庆高新区政务服务中心”;可乘1492路、445路公交车至“金凤佳园公租房站'下。 |
周一至周五(法定节假日除外),24小时制9:00-12:00,13:00-17:00 |
68195571 |
68601167 |
重庆市重庆高新区高新大道6号高新区管委会5号楼331办公室 |
|
一、申请人权利
依据《中华人民共和国行政许可法》第七条和第八条,申请人依法享有以下权利:
(一)申请人对行政机关实施行政许可,享有陈述权、申辩权;有权依法申请行政复议或者提起行政诉讼;其合法利益因行政机关违法实施行政许可受到损害的,有权依法要求赔偿。
(二)申请人依法取得的行政许可受法律保护,行政机关不得擅自改变已经生效的行政许可。行政许可所依据的法律、法规、规章修改或者废止,或者准予行政许可所依据的客观情况发生重大变化的,为了公共利益的需要,行政机关可以依法变更或者撤回已经生效的行政许可。由此给公民、法人或者其他组织造成财产损失的,行政机关应当依法补偿。
二、申请人义务
依据《中华人民共和国行政许可法》第九条和第三十一条,申请人依法履行以下义务:
(一)申请人申请行政许可,应当如实向行政机关提交有关材料和反映真实情况,并对其申请材料实质内容的真实性负责。
(二)依法取得行政许可,除法律、法规规定依照法定条件和程序可以转让的外,不得转让。
重庆市水利局办公室 2025年9月18日印发
国务院部门网站
地方政府网站
市政府部门网站
区(县)政府网站
重庆市大渡口区人民政府版权所有 重庆市大渡口区人民政府办公室主办
政府网站标识码:5001040009 渝ICP备2022002862号-1
渝公网安备50010402000118
部门街镇